HAMRON 007058 Power Winch






Jula AB reserves the right to make changes to the product. Jula AB claims copyright on this documentation. It is not allowed to modify or alter this documentation in any way and the manual shall be printed and used as it is in relation to the product. For the latest version of operating instructions, refer to the Jula website.
Introduction
Product description
The product is an electric winch that can be powered by the 12 V battery in the vehicle. The product can be operated with a rocker switch or a remote control.
Intended use
The product is intended to be installed and used on all-terrain vehicles, sport utility vehicles and pickup trucks to pull objects horizontally.
Symbols
- Read the operating instructions carefully and make sure that you understand the instructions before you use the product. Save the instructions for future reference.
- This product complies with applicable EU directives and regulations.
- Warning! Risk of crush injuries.
- Warning! Risk of explosion.
- Warning! Risk of fire.
- Connect the hook correctly.
- Do not lift objects vertically.
- Do not lift or move persons with the product.
- Recycle as electrical waste.
Product overview
(Figure 1)
- Winch motor
- Gear
- Winch cable
- Winch cable drum
- Clutch knob
- Rocker switch
- Mounting bracket for rocker switch
- Nylon loop
- Hook
Safety
Safety definitions
Warning! If you do not obey these instructions, there is a risk of death or injury.
Caution! If you do not obey these instructions, there is a risk of damage to the product, other materials or the adjacent area.
Note! Information that is necessary in a given situation.
Safety instructions for operation
Warning! If you do not obey these instructions, there is a risk of death or injury.
- Read and understand the instructions before you use the product.
- Keep children and unauthorized persons away from the product.
- Keep children and unauthorized persons away from the winch cable when you operate the product.
- Do not use the product for tasks other than its intended purpose. The manufacturer cannot accept liability for any damage that is a result of improper use.
- Make sure that the chassis of the vehicle can manage the maximum pulling power.
- Use safety glasses. Use hearing protection. Use heavy-duty gloves when you handle the winch cable.
- The winch motor, the winch cable drum and the winch cable can become hot when you operate the product.
- Do not wear jewelry or other accessories that can become stuck in the product.
- Do not let people under the age of 16 years old operate the product.
- Do not let the winch cable move in your hands. Do not put your hands or fingers in the hook. Use the safety strap to guide the winch cable.
- Do not touch a tensioned winch cable or hook. Make sure that the anchor point can cope with the workload.
- Do not engage or disengage the clutch on the product when the winch cable is tensioned.
- Only operate the product if it is fully attached to a vehicle or other stable structure.
- Make sure that there are no objects or obstacles that prevent safe operation in the operation area.
- Read and understand the instructions for the synthetic line if you use the product with a synthetic line.
- Do not immerse the product or the remote control in water or other liquids.
- Keep the remote control in a clean and dry place.
- Put chocks in front of the wheels on the vehicle that the product is installed on before you operate the product.
- Do not lift people with the product.
- Do not move people with the product.
- Keep your hands and other body parts away from the winch cable drum, the winch cable, hook and hook eyelet when you operate the product.
- Make sure that all persons that can be affected when you operate the product are aware when you operate the product.
- Keep an eye on the vehicle when you operate the product.
- Do not disconnect the winch cable when it is tensioned.
- Do not keep the winch cable stretched after you have operated the product.
- Do not pull objects at an angle.
- Do not use the winch to suspend loads.
- Do not use the product to tow other vehicles or objects. Shock loads can damage the product.
- Only operate the product at workloads that are within the specified capacity range.
- Use a snatch block and double winch cables when you operate the product at loads of 450 kg or more.
- Do not wind or unwind the winch cable in steps when it is under load. Shock loads can cause damage to the winch cable.
- Put a blanket over the winch cable, near the hook, to reduce the force if the winch cable breaks when you pull heavy loads.
- Always use a hook that has a catch.
- Make sure that the catch on the hook is closed when you have attached the hook.
- Do not place the load on the tip of the hook or on the catch of the hook. Position the load in the middle of the hook.
- Do not use a hook if the opening in the hook has increased or if the hook has become damaged.
- Do not operate the product if you are fatigued or easily distracted.
- Do not operate the product if you are under the influence of alcohol or drugs.
- Do not operate the product if you are stressed.
- Use common sense when you operate the product.
- Do not operate the product if there is less than 5 turns of winch cable on the winch cable drum. The winch cable can come loose and cause injury and damage.
- Wind up the winch cable slowly and make sure that the winch cable is stretched at all times.
- Make sure that all connections, the hook, and the nylon loop is fully attached before you start to wind up the winch cable. Do a check of all connections and the hook again when the winch cable is stretched.
- Disconnect the product from the power source before you do maintenance on the product.
- Do a check of the winch cable, hook and safety loop for damage and wear regularly and before each operation.
- Do not operate the product if the winch cable is worn or damaged.
- Replace the winch cable if it is worn or damaged.
- Only use approved spare parts recommended by the manufacturer.
- Do not use the product if it is damaged or defective.
- Do not keep the remote control connected to the product when the product is not operated.
- Do not step over a stretched winch cable.
- Do not repair the product. A damaged or defective product must be repaired at an authorized service center. The manufacturer cannot accept liability for any damage that is a result of unauthorized repairs.
- Do not modify the product.
- Clean the product regularly.
Installation
To install the product
Warning! Only operate the product if it is fully attached to a vehicle or other stable structure.
Caution! Make sure that the chassis of the vehicle can manage the maximum pulling power before you install the product.
Caution! Do not put electrical cable around sharp edges or near surfaces that can become hot.
- Install the product to the chassis on a vehicle.
Warning! Do not connect the electrical cables before the product is fully installed to the chassis on the vehicle.
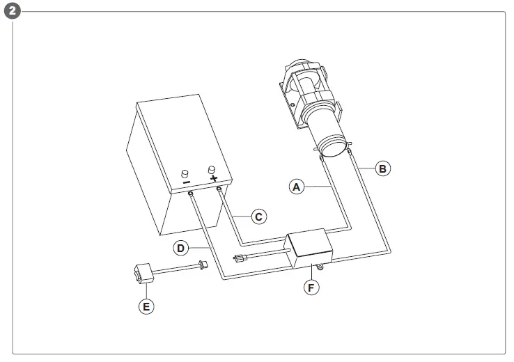
Note! Make sure that you install the winch cable guide so that the warning label is at the top. - Connect the red cable (A) marked with “Winch +” to the positive (+) terminal on the motor. (Figure 2)
- Connect the black cable (B) marked with “Winch -” to the negative (-) terminal on the motor.
- Connect the red cable (C) marked with “Battery +” to the positive (+) terminal on the battery in the vehicle.
Warning! Make sure that the rocker switch is in the off position before you connect it. - Connect the black cable (D) marked with “Battery -” to the negative (-) terminal on the battery in the vehicle.
- Connect the rocker switch (E) to the motor control unit (F).
Warning! Make sure that the rocker switch is in the off position before you connect it. - Install the rocker switch to the handlebar on your vehicle. (Figure 3)
- Make sure that all exposed electrical connections, terminals and electrical cables are insulated.
Operation
To pull the vehicle that the product is installed on
Caution! Do not pull objects at an angle. The winch cable can become stuck and damage the product.
Caution! Do not put the hook around the winch cable. The hook can cause damage to the winch cable. Use the nylon loop.
Caution! Make sure that the chassis on the vehicle does not become damaged when you operate the product.
- Pull and turn the clutch knob to the “OFF” position so that the winch cable drum can turn freely. (Figure 4)
- Disconnect the hook from its holder and attach the nylon loop to the hook. Pull out the required amount of winch cable.
Warning! Do not operate the product if there is less than 5 turns of winch cable on the winch cable drum. The winch cable can come loose and cause injury and damage.
Caution! Keep the winch cable stretched when you pull it. If the winch cable becomes slack it can twist and become damaged.
Note! The winch cable can be pulled out manually, without power, when the clutch knob is in the disengaged position. - Put the protection strap around the tree trunk or the choke chain around an anchor point. (Figure 5)
Caution! Make sure that the protection strap or choke chain cannot slip. - Put the 2 ends of the protection strap (A) into the shackle (B) and connect the shackle to the winch cable loop (C) at the hook. (Figure 6)
Note! Do not tighten the shackle too much. Tighten the shackle and then untighten it approximately 1 cm. - Turn the clutch knob to the engaged position.
Caution! Make sure that the clutch knob is fully in the engaged position before you start to operate the product. - Connect the remote control.
Caution! Do not let the remote control hang in front of the winch cable drum. - Make sure that the gearbox in the vehicle is in neutral and that the parking brake is disengaged.
- Start the engine in the vehicle.
Note! If you do not start the engine, the battery in the vehicle can become too low on power to start the vehicle after you have operated the product. - Wind up the winch cable until it has tension.
- Make sure that all connections are correct and that they are free from dirt.
- Use the remote control to wind up the winch cable slowly.
Warning! Be at a safe distance from the winch cable when it is tensioned.
Caution! Do not operate the product continuously for more than 1 minute at or near the nominal load.
Caution! If the motor on the product becomes hot, stop the product and let it become cool before you operate the product again. - Wind up the winch cable. Make sure that the winch cable is correctly wound up. Refer to “4.3 To tension the winch cable” on page 31.
To pull an other vehicle
Caution! Do not pull objects at an angle. The winch cable can become stuck and damage the product.
Caution! Do not put the hook around the winch cable. The hook can cause damage to the winch cable. Use the nylon loop.
Caution! Make sure that the winch cable is wound up to the winch cable drum correctly before you pull an other vehicle.
- Turn the clutch knob to the disengaged position.
- Disconnect the hook from its holder and attach the nylon loop to the hook. Pull out the required amount of winch cable.
Warning! Do not operate the product if there is less than 5 turns of winch cable on the winch cable drum. The winch cable can come loose and cause injury and damage.
Caution! Keep the winch cable stretched when you pull it. If the winch cable becomes slack it can twist and become damaged. - Connect the hook to the chassis of the vehicle that needs to be pulled.
Note! Put a blanket over the winch cable, near the hook, to reduce the force if the winch cable breaks when you pull heavy loads. - Start the engine in the vehicle that the product is installed on.
- Connect the remote control.
- Wind up the winch cable until the winch cable is tensioned.
- Make sure that all connections are correct and that they are free from dirt.
- Wind up the winch cable slowly until the pulled vehicle is on level and stable ground.
Caution! Do not drive the vehicle when you operate the product. The winch cable can become damaged. - Engage the parking brake in the vehicle that has been pulled.
- Release the tension in the winch cable and disconnect the hook from the pulled vehicle.
- Wind up the winch cable. Make sure that the winch cable is correctly wound up. Refer to “4.3 To tension the winch cable” on page 31.
- Disconnect the remote control.
To tension the winch cable
The winch cable must be wound up on the winch cable drum with a load of at least 227 kg. To tension the winch cable with load, do the steps that follow.
Note! 2 persons are required for this task.
- Park the vehicle on a level surface that is sufficiently large to unwind the winch cable fully.
- Turn the clutch knob to the disengaged position.
- Pull out the winch cable with the nylon loop until 5 turns of winch cable remains on the winch cable drum.
- Attach the hook to an anchor point.
- Turn the clutch knob to the engaged position.
- Start the engine and reverse the vehicle away from the anchor point until the winch cable has a small amount of tension. Engage the parking brake or engage a gear on the vehicle.
- Stop the engine in the vehicle.
- Operate the winch until there is no slack in the winch cable. Keep the winch cable tensioned with your hand and push the winch cable to the side of the winch cable drum.
Warning! Use heavy-duty gloves when you handle the winch cable.
Caution! Make sure that there are no gaps between the turns of winch cable on the winch cable drum.
Caution! Make sure that the winch cable unwinds from the lower part of the winch cable drum. If the winch cable does not unwind from the lower part of the winch cable drum the automatic load-holding brake will not operate correctly. - Start the vehicle and put it in neutral.
- Push in the brake pedal and disengage the parking brake.
- Use the rocker switch to wind up the winch cable on the winch cable drum until 2 meters of winch cable has been wound up.
Caution! The person that helps you must make sure that the winch cable is wound up correctly to the winch cable drum. Make sure that the person that helps you is at a safe distance from the vehicle and winch cable. - Carefully release the brake pedal and engage the parking brake.
- Put the vehicle in parking mode or in a gear and stop the engine.
- Make sure that the winch cable is correctly wound up on the winch cable drum. If it is not wound up correctly, do the procedure again with more brake power applied.
- Use the rocker switch to wind up the winch cable on the winch cable drum until the vehicle is approximately 1 meter away from the anchor point.
- Release the brake pedal and engage the parking brake.
- Put the vehicle in parking mode or in a gear and stop the engine.
- Disconnect the hook from the anchor point.
- Attach the nylon strap to the hook.
Warning! Use heavy-duty gloves when you handle the winch cable. - Use the remote control to wind up the winch cable in steps until the hook is at the winch cable guide on the product.
Caution! Keep the winch cable tensioned.
Caution! Do not pull the hook through the winch cable guide.
To increase tractive force
The tractive force increases if the number of winch cable layers on the winch cable drum is decreased. Use as much winch cable as possible to get the most tractive force. If it is necessary to increase the tractive force but there is not enough space, you can use the double winch cable method. Do the steps that follow to use the double winch cable method to increase the tractive force.
- Turn the clutch knob to the disengaged position.
- Pull out the hook (A) and attach it to the chassis (B) on your vehicle. (Figure 7)
Caution! Do not attach the hook to the assembly parts of the product. - Put the winch cable (C) around the wheel in the snatch block (D).
- Pull out the winch cable until the snatch block can be attached at the anchor point.
To warm up the winch in cold temperatures
If the ambient temperature is below 0°C it is necessary to warm up the product before you operate it at heavy workloads. Do the steps that follow to warm up the product.
- Turn the clutch knob in the disengaged position.
- Pull out 23 meters of winch cable.
- Turn the clutch knob to the engaged position.
- Wind up the winch cable.
Caution! Keep the winch cable tensioned.
Maintenance
To do maintenance on the product
Caution! Do not repair the product. A damaged or defective product must be repaired at an authorized service center. The manufacturer cannot accept liability for any damage that is a result of unauthorized repairs.
- Do a check of all screws and nuts regularly. Tighten the screws and nuts if it is necessary.
- Do a check of all cables and electrical connections. Remove dirt and corrosion.
- Do a check of the winch cable and the hook for damage and wear regularly. Always replace a worn or damaged winch cable.
Warning! Do not operate the product if the winch cable is worn or damaged.
- Do a check of the remote control before each operation. Speak to an authorized service center if it is damaged.
- Do a check of the outlet cover for the remote control regularly. Speak to an authorized service center if it is damaged. Remove dirt and unwanted materials with a cloth.
- If the product has been immersed in water it must be disassembled, cleaned and lubricated. Speak to an authorized service center.
- If you use a synthetic line on the product, replace it if you notice the wear or damage that follow:
- The thickness of the synthetic line has decreased by 25% or more in any spot.
- 2 or more adjacent strands of the synthetic line are damaged.
- There are flat sections or lumps that do not disappear when the synthetic line is tensioned.
- The fibers in the synthetic line have melted.
To clean the product
Remove dirt and unwanted materials with a cloth.
Pull out the winch cable and use a cloth clean it. Make sure that the winch cable has tension when you wind it up. Refer to “4.3 To tension the winch cable” on page 31.
Warning! Make sure that 5 turns of winch cable remain on the winch cable drum.
Note! Coat the winch cable with non-viscous oil to prevent rust.
To replace the winch cable
- Put the clutch knob in the disengaged position.
- Pull out the winch cable until it is in the end position.
- Remove the winch cable.
- Attach a new winch cable to the winch cable holder on the winch cable drum.
Warning! Only use approved spare parts recommended by the manufacturer. - Wind up the new winch cable to the winch cable drum. Refer to “4.3 To tension the winch cable” on page 31.
Caution! Make sure that the winch cable unwinds from the lower part of the winch cable drum. If the winch cable does not unwind from the lower part of the winch cable drum, the automatic load-holding brake will not operate correctly. Information for the correct wind direction for the winch cable is also given on a label on the product.
Storage
To put the product in storage
Clean the product. Refer to “5.2 To clean the product” on page 33.
Turn the clutch knob to the engaged position.
Disposal
To discard the product
Make sure that you follow local regulations when you discard the product. Do not burn the product.
Technical data
| Technical data | |
| Voltage | 12 V (DC) |
| Output | 1 kW |
| Pulling power | 1587 kg |
| Gear ratio | 136:1 |
| Protection rating | IP55 |
| Winch cable diameter | Ø 5.5 mm |
| Winch cable length | 10.5 m |
| Weight | 8 kg |


















