SC-510 High-Pressure Kitchen Tap with Extendible
Instruction Manual
SC-510 ND
A 554003![]()
http://www.schock.de/easy-sc510nd![]()
PRODUCT SPECIFICATIONS
A 554003
B ![]()
| Length of supply hoses | |
| Thread size of the supply hose | |
| Swivel range | |
| Low pressure | |
| The colored sleeve of SCHOCK material |

SAFETY NOTES
KEINEN CHLORREINIGER VERWENDEN.
THE WARRANTY IS VOIDED BY NON-PROFESSIONAL INSTALLATION.
SCHOCK RECOMMENDS THE USE OF THE SF-100 (629883) COARSE PARTICLE FILTER.
DO NOT USE CHLORINE-BASED CLEANING AGENTS.
TOOLS

SLEEVE INSTALLATION

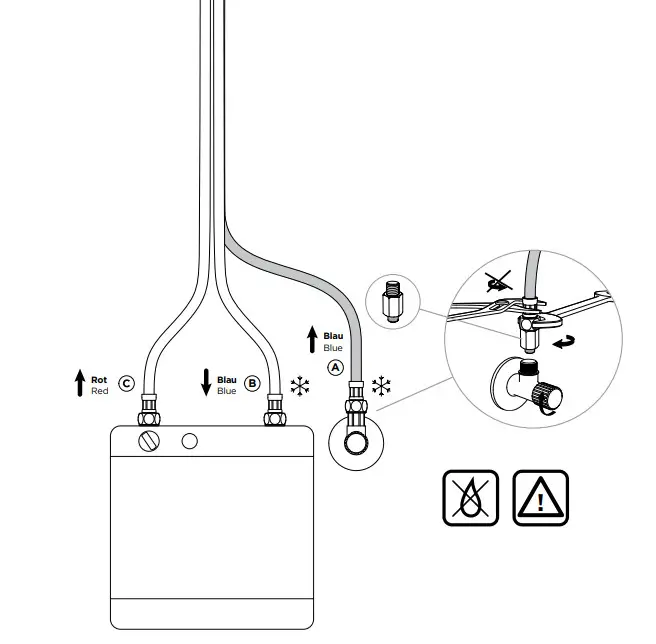
INSTALLATION
- Hand – tighten supply hoses and install fixing kit
Screw in and tighten the shower hose at the shower head and pull the shower hose through the spout
Hand – tighten supply hoses and install fixing kit
- Flush piping system before installation of fitting thoroughly

- Screw one connection hose with installed flow reducer onto angle valve and others onto heater

- Screw one connection hose with installed flow reducer onto angle valve, one onto heater and shower hose with others onto adapter

- Open the handle and remove the aerator to flush potential dirt

- Turn on water supplies and check connections for leaks

- Close the handle and re-install the aerator

TOOLS
| A 554003 | |
| No tools needed |
CLEANING THE AERATOR


BODYGUARD
SF-100
Auch in modernen Leitungssystemen werden im Wasser Sandkörner transportiert. Der SF-100
Perlator einer hochwertigen Schock Armatur
Even modern plumbing systems transport grains of sand along with the water.
The SF-100 coarse particle filter protects the cartridge and aerator in a premium Schock tap against damage.
www.schock.de/sf100
CARE PRODUCTS

TOOLS

CHANGING THE CARTRIDGE

SPARE PARTS
| 628805/1 | 628805/4 |
| 628805/2 | 628792/6 |
| 628736/2 | 5..22075XX |

MEASUREMENTS
A 554003

SPARE PARTS
| 628805/1 | 628791/5 |
| 628805/2 | 628805/6 |
| 628793/3 | 628792/5 |
| 628805/4 | 5..22075XX |

MEASUREMENTS
B 554123
![]() | ![]() |
| www.schock.de/service | www.schock.de/shop |
SCHOCK GmbH • Hofbauerstr. 1 • D-94209 Regen
Telefon: +49-9921-600-0 • Fax: +49-9921-600-253
Email: [email protected] • www.schock.de
Screw in and tighten the shower hose at the shower head and pull the shower hose through the spout
Hand – tighten supply hoses and install fixing kit

























