Quick start guide
VM5463
VM5463-2
Full-Color Pan and Tilt
Video Monitor
Important safety instructions
The applied nameplate is located at the bottom of the baby unit’s base.
When using your equipment, basic safety precautions should always be followed to reduce the risk of fire, electric shock, and injury, including the following:
- Follow all warnings and instructions marked on the product.
- Adult setup is required.
- CAUTION: Do not install the baby unit at a height above 2 meters.
- This product is not a substitute for adult supervision of the infant. Supervising the infant is the parent’s or caregiver’s responsibility. This product could cease operating, and therefore you should not assume it will continue working properly for any given period of time. Further, this is not a medical device and should not be used as such. This product is intended to assist you in supervising your baby.
- Do not use this product near water. For example, do not use it next to a bathtub, washbowl, kitchen sink, laundry tub, or swimming pool, or in a wet basement or shower.
- CAUTION: Use only the battery provided. There may be a risk of explosion if the wrong type of battery is used for the parent unit. The battery cannot be subjected to high or low extreme temperature and low air pressure at high altitudes during use, storage, or transportation. Disposal of the battery into fire or a hot oven, or mechanically crushing or cutting or the battery can result in an explosion. Leaving the battery in an extremely high temperature surrounding environment can result in an explosion or the leakage of flammable liquid of gas. Battery subjected to extremely low air pressure may result in an explosion or the leakage of flammable liquid or gas. Dispose of used battery according to the information in The RBRC seal.
- Use only the adapters included with this product.
Incorrect adapter polarity or voltage can seriously damage the product.
Power adapter information:
Parent unit output: 5V DC 1A
VTech Telecommunications Ltd.
Model: VT05EUS05100
Baby unit output: 5V DC 1A.
VTech Telecommunications Ltd.
Model: VT05EUS05100
Rechargeable battery information:
Li-ion battery, 3.8V 2100mAh
Zhongshan Tianmao Battery Co., Ltd.
Model Number: BP1763 - The power adapters are intended to be correctly oriented in a vertical or floor mount position. The prongs are not designed to hold the plug in place if it is plugged into a ceiling, under-the-table, or cabinet outlet.
- For pluggable equipment, the socket outlet shall be installed near the equipment and shall be easily accessible.
- Unplug this product from the wall outlet before cleaning.
Do not use liquid or aerosol cleaners. Use a damp cloth for cleaning. - Do not cut off the power adapters to replace them with other plugs, as this causes a hazardous situation.
- Do not allow anything to rest on the power cords. Do not install this product where the cords may be walked on or crimped.
- This product should be operated only from the type of power source indicated on the marking label. If you are not sure of the type of power supply in your home, consult your dealer or local power company.
- Do not overload wall outlets or use an extension cord.
- Do not place this product on an unstable table, shelf, stand, or other unstable surfaces.
- This product should not be placed in any area where proper ventilation is not provided. Slots and openings in the back or bottom of this product are provided for
ventilation. To protect them from overheating, these openings must not be blocked by placing the product on a soft surface such as a bed, sofa, or rug. This product should never be placed near or over a radiator or heat register. - Never push objects of any kind into this product through the slots because they may touch dangerous voltage points or create a short circuit. Never spill liquid of any
kind on the product. - To reduce the risk of electric shock, do not disassemble this product, but take it to an authorized service facility. Opening or removing parts of the product other than specified access doors may expose you to dangerous voltages or other risks. Incorrect reassembling can cause electric shock when the product is subsequently used.
- You should test the sound reception every time you turn on the units or move one of the components.
- Periodically examine all components for damage.
- There is a very low risk of privacy loss when using cart electronic devices, such as baby monitors, cordless telephones, etc. To protect your privacy, make sure the product has never been used before purchase, reset the baby monitor periodically by powering off and powering on the units, and power off the baby monitor you will not use for some time.
- Children should be supervised to ensure that they do not play with the product.
- The product is not intended for use by persons (including children) with reduced physical, sensory or mental capabilities, or lack of experience and knowledge unless they have been given supervision or instruction concerning the use of the appliance by a person responsible for their safety.
SAVE THESE INSTRUCTIONS
Cautions
- Use and store the product at a temperature between 32° and 104°F.
- Do not expose the product to extreme cold, heat, or direct sunlight. Do not put the product close to a heating source.
- Batteries should not be exposed to excessive heat such as bright sunshine or fire.
Warning—Strangulation Hazard— Children have STRANGLED in cords. Keep this cord out of the reach of children (more than 3 ft (0.9m) away). Do not remove this tag.
- Never place the baby unit(s) inside the baby’s crib or playpen. Never cover the baby unit(s) or parent unit with anything such as a towel or a blanket.
- Other electronic products may cause interference with your baby monitor. Try installing your baby monitor as far away from these electronic devices as possible: wireless routers, radios, cellular telephones, intercoms, room monitors, televisions, personal computers, kitchen appliances, and cordless telephones.
Precautions for users of implanted cardiac pacemakers
Cardiac pacemakers (applies only to digital cordless devices): Wireless Technology Research, LLC (WTR), an independent research entity, led a multidisciplinary evaluation of the interference between portable wireless devices and implanted cardiac pacemakers. Supported by the U.S. Food and Drug Administration, WTR recommends to physicians that:
Pacemaker patients
- Should keep wireless devices at least six inches from the pacemaker.
- Should NOT place wireless devices directly over the pacemaker, such as in a breast pocket, when it is turned ON. WTR’s evaluation did not identify any risk to bystanders with pacemakers from other persons using wireless devices.
Electromagnetic fields (EMF)
This VTech product complies with all standards regarding electromagnetic fields (EMF). If handled properly and according to the instructions in this user’s manual, the product
is safe to be used based on scientific evidence available today.

Connect the baby monitor
![]()
- The rechargeable battery in the parent unit is built-in.
- Use only the power adapters supplied with this product.
- Make sure the baby monitor is not connected to a switch-controlled electric outlet.
- Connect the power adapters in a vertical or floor mount position only. The adapters’ prongs are not designed to hold the weight of the baby monitors, so do not connect them to any ceiling, under-the-table, or cabinet outlets. Otherwise, the adapters may not properly connect to the outlets.
- Make sure the parent unit, the baby units, and the power adapter cords are out of reach of children.

Power on or off the baby monitor
- Slide the switch to power on or off your baby unit.

- Press and hold POWER to power on or off your parent unit.

Positioning the baby monitor


![]()
- To avoid interference from other electronic devices, place your baby monitor at least 3 feet (1 meter) away from devices such as wireless routers, microwaves, cell phones, and computers.
Caution
- The default volume of your parent unit is level 4, and the maximum volume is level 7. If you experience high-pitched screeching noise from your baby monitor while positioning:

– Make sure your baby unit and parent unit is more than 3 feet (1 meter) apart, OR
– Lower the volume of your parent unit.
Status check
Once you power on both your baby unit and parent unit, your parent unit displays an image from the baby unit, and the LINK LED light turns on.
The ON LED light of the baby unit turns on.

Basic operation – Parent unit
Adjust speaker volume Press
to adjust your parent unit speaker volume.

Talk to your baby unit
Press and hold TALK and speak to your parent unit. Your voice is transmitted to the baby unit. Release TALK when finish talking and hear your baby again.

Zoom
Press to
zoom in or out.

Turn off the screen
Press and hold LCD ON/OFF to switch off the screen. You can still hear sounds from the baby unit.

Tip
- Press any key on the parent unit to turn on the screen again.
Overview – Parent unit

Overview – Baby unit

- Light sensor
- Camera lens
- Microphone
- Night light
- On/Off switch
- On/Off LED light
• On when the baby unit is turned on and is paired to the parent unit.
• Flashes when the baby unit is not being viewed; or when the link to the parent unit is lost. - Light projector
- Speaker
Projection light on/off key
Night light on/off key- Power jack
- Slots for wall mounting
Need help?
For operations and guides to help you operate your video monitor, and for the latest information and support, check out our online help topics and FAQs.
Use your smartphone or mobile device to access our online help.

- Go to https://help.vtechphones.com/vm5463 or https://help.vtechphones.com/vm5463-2; OR
- Scan the QR code on the right. Launch the camera app or QR code scanner app on your smartphone or tablet. Hold the device’s camera up to the QR code and frame it. Tap the pop-up notification to be redirected to the online help page. – If the QR code is not clearly displayed, adjust your camera’s focus by moving your device closer or further away until the image is clear.
You can also call our Customer Support at 1 (800) 595-9511 [in the US] or 1 (800) 267-7377 [in Canada] for help.
Parent unit icons
Main menu icons
Main menu
Sub-menu
Brightness

![]()
- Adjust the parent unit’s LCD brightness.
| Camera
| ![]() | Monitoring mode (For VM5463-2 only) |
![]() | ![]() | • Single-mode • Split mode • Patrol mode Baby unit speaker volume • Adjust the baby unit’s speaker volume. |
Lullaby
![]() | ![]() | Play/Stop lullaby • Select one of the soothing sounds, or white noise. |
• Select one of the five melodies. | ||
• Play all melodies. • Set timer to stop playing the selected melody or soothing sound. | ||
Night light
| Turn on/off night light
| ||
• Set timer to turn the night light off. • Auto turn on the night light when the baby unit detects sound. It will turn off after 15 minutes of no sound detection. See the Sound sensitivity and sound activation section to learn more. | ||
• Turn on/off the adaptive night light feature. When this feature is on, the baby unit detects the ambient light. If the room is bright, the night light adjusts itself to be brighter; if the room is dim, the night light adjusts itself to be less bright. | ||
Projection
| Turn on/off projection light • Set timer to turn the projection light off. | ||
• Auto turn on the projection light when the baby unit detects sound. It will turn off after 15 minutes of no sound detectionSee Sound sensitivity and sound activation section to learn more. | ||
![]() | • Set the minimum temperature. • Set the maximum temperature. • Set temperature display in Fahrenheit(°F) or Celsius (°C) |
Alert tone settings
![]() | • Set the parent unit to beep when the battery is low. • Set the parent unit to beep when the link between the parent unit and the baby unit is lost. • Set the confirmation tone on or off when selecting an option in the menus. • Set the parent unit to beep when the baby unit detects sounds while in Split mode (For VM5463-2 only). |
Sound activation – screen and audio
![]() | Turn on/off sound activation • When on, once a sound is detected, the parent unit screen and speaker will automatically turn on. See the Sound sensitivity and sound activation section to learn more. |
![]()
- When the parent unit screen is off and it receives alerts, for example, link lost between the parent unit and baby unit, the parent unit screen and speaker will turn on for 10 seconds.
VOX (Voice Activated Alert) Sensitivity
• You can set VOX sensitivity level to activate parent unit screen and sound when the baby unit detects sounds that exceed certain levels. See the Sound sensitivity and sound activation section to learn more.
Parent unit icons (Cont’d)
Status icons
![]() | Connection status • • • • |
![]() | Split mode (*For VM5463-2 only) Patrol mode (*For VM5463-2 only) Current view status • The baby unit number that is being viewed when in: – Single CAM mode. – Patrol mode (*For VM5463-2 only). – Split mode (*For VM5463-2 only). |
| Night vision – On Zoom – On Lullaby – On Night light – On Night light – Auto-on • Color icon indicates the night light is set to auto-on and is currently turned on by the sound activation. • Gray icon indicates the night light is currently off but is set to auto-on. The night light will turn on when sound is detected by the baby unit. |
Status icons
![]() | Projection light – On Projection light – Auto on • Color icon indicates the projection light is set to auto-on and is currently turned on by sound activation. • Gray icon indicates the projection light is currently off but is set to auto-on. The projection light will turn on when sound is detected by the baby unit. |
| °F or °C | Real-time temperature • Real-time temperature detected by the baby unit in Fahrenheit (°F) or Celsius (°C)(e.g. 57°F or 14°C). |
![]() | Temperature alert tone – On 9-level sound indicator • • • |
![]() | Mute alert • Displays when the parent unit speaker volume is set to off. • Displays when the parent unit is talking to the baby unit. |
![]() | Battery status • • • |
Speaker volume – displays the parent unit speaker volume level while adjusting.
Alert icons
![]() | • Displays when the parent unit’s battery is low and needs charging. • Displays when the connection between the parent unit and baby unit is lost. • Displays when sound is detected at a baby unit when in Split view. (For VM5463-2 only) • Baby unit detects temperature reaches or exceeds the set maximum. • Baby unit detects the temperature is at or is lower than the set minimum. |
Projection light
Tip
- The projection light located on the top of the baby unit projects a starry soft night light scene onto the ceiling with a tilting angle. Adjust your baby unit’s position with the projection light to help soothe your baby to sleep. For optimal performance, place the baby unit in an upright position.

Sound sensitivity and sound activation
Adjust sound detection sensitivity
You can turn on Sound activation and adjust the VOX sensitivity to detect sounds and turn on the parent unit while its screen is switched off or dimmed.
When the baby unit detects sounds that exceed certain levels, the parent unit screen will turn on and the baby unit starts transmitting the sounds to the parent unit, and you can see and hear your baby. If you have turned on the Night light Auto-on and the Projection light Auto-on feature, they will turn on automatically to soothe your baby.
If you turn off Sound activation, you will hear sounds from the baby unit all the time, even when the parent unit screen is switched off.
If you have turned on sound alert, the parent unit beeps when the baby unit detects sounds while in Split mode (*For VM5463-2 only).
| VOX Sensitivity level | ![]() | ![]() | ![]() | ![]() | ![]() |
| SCRIPTI•(Default | setting) The parent unit screen and speaker urn on for very small sounds, including background noises from your baby’s room. | The parent unit screen and speaker turn on for soft babbling and louder sounds from our baby. The parent unit remains quiet when your baby sleeps soundly. | The parent unit screen and the speaker turn on for loud babbling and louder sounds from our baby. The parent unit remains quiet when your baby makes soft sounds | The parent unit screen and speaker turn on for crying and louder sounds from your aby. The parent unit remains quiet when your baby makes oft sounds. | The parent unit screen and speaker turn on for loud crying or screeching sounds from your baby. The parent unit remains quiet when your baby makes soft sounds. |
Sound activated screen and audio
When Sound activation is on, the parent unit screen stays off to save power when the baby unit detects no sound. Once the baby unit detects sounds that are louder than the chosen sound sensitivity level, the parent unit screen and speaker turn on automatically. The parent unit will then turn off again after 50 seconds of no sound detection.![]()
- If you have muted the parent unit speaker, only the parent unit screen will turn on when a sound is detected.

![]()
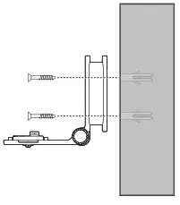
- Check for reception strength and camera angle before drilling the holes.
- The types of screws and anchors you need depend on the composition of the wall. You may need to purchase the screws and anchors separately to mount your camera units.
- Place the wall mount bracket on a wall and then use a pencil to mark two holes in parallel. Remove the wall mount bracket and drill two holes in the wall (7/32 inch drill bit).

- If you drill the holes into a stud, go to step 3.
•If you drill the holes into an object other than a stud, insert the wall anchors into the holes. Tap gently on the ends with a hammer until the wall anchors are flush with the wall.
- Align the wall mount bracket and screws with the holes in the wall as shown. Tighten the screw in the middle hole first, so that the wall mount bracket position is fixed. You can tighten the other screw in the top hole.
- Place the camera unit on the wall mount bracket, and then slide it forward until it locks into place. Connect the power adapter to the camera unit and a power supply not controlled by a wall switch.

3. Insert the screws into the holes and tighten the screws until only 1/4 inch of the screws is exposed.
4. Place the camera unit on the wall mount bracket, and then slide it forward until it locks into place. Align the holes on the wall mount bracket with the screws on the wall, and slide the wall mount bracket down until it locks into place.

5. You can maximize your camera unit’s viewing angles by tilting the wall mount bracket.
Hold the camera unit, and then rotate the knob in an anticlockwise direction. This will loosen the joint of the wall mount bracket. Tilt your camera unit up or down to adjust to your preferred angle. Then, rotate the knob in a clockwise direction to tighten the joint and secure the angle.

The RBRC seal
The RBRC seal on the Li-ion battery indicates that VTech Communications, Inc. is voluntarily participating in an industry program to collect and recycle these batteries at the end of their useful lives when taken out of service within the United States and Canada.
The program provides a convenient alternative to placing used Li-ion batteries into the trash or municipal waste, which may be illegal in your area.
VTech’s participation makes it easy for you to drop off the spent battery at local retailers participating in the program or at authorized VTech product service centers. Please call 1 (800) 8 BATTERY ® for information on Li-ion battery recycling and disposal bans/restrictions in your area. VTech’s involvement in this program is part of its commitment to protecting our environment and conserving natural resources.
The RBRC seal and 1-800-8-BATTERY® are registered trademarks of Call2recycle, Inc.
FCC and IC regulations
FCC Part 15
This equipment has been tested and found to comply with the requirements for a Class B digital device under Part 15 of the Federal Communications Commission (FCC) rules. these requirements are intended to provide reasonable protection against harmful interference in a residential installation. This equipment generates, uses, and can radiate radio frequency energy and, if not installed and used in accordance with the instructions, may cause harmful interference to radio communications. However, there is no guarantee that interference will not occur in a particular installation. If this equipment does cause harmful interference to radio or television reception, which can be determined by turning the equipment off and on, the user is encouraged to try to correct the interference by one or more of the following measures:
• Reorient or relocate the receiving antenna.
• Increase the separation between the equipment and receiver.
• Connect the equipment into an outlet on a circuit different from that to which the receiver is connected.
• Consult the dealer or an experienced radio/TV technician for help.
WARNING: Changes or modifications to this equipment not expressly approved by the party responsible for compliance could void the user’s authority to operate the equipment.
This device complies with Part 15 of the FCC rules. Operation is subject to the following two conditions: (1) this device may not cause harmful interference, and (2) this device must accept any interference received, including interference that may cause undesired operation.
To ensure the safety of users, the FCC has established criteria for the amount of radiofrequency energy that can be safely absorbed by a user or bystander according to the intended usage of the product. This product has been tested and found to comply with the FCC criteria. The baby unit shall be installed and used such that parts of all persons’ bodies are maintained at a distance of approximately 8 in (20 cm) or more. The transmitter and antenna of the parent unit shall be held at least 1 in (2.5 cm) from your face.
This Class B digital apparatus complies with Canadian requirements:
CAN ICES-3 (B)/NMB-3(B)
Industry Canada
This device contains license-exempt transmitter(s)/receiver(s) that comply with Innovation, Science, and Economic Development Canada’s license-exempt RSS(s). Operation is subject to the following two conditions: (1) This device may not cause interference. (2) This device must accept any interference, including interference that may cause undesired operation of the device.
The term ‘’IC:‘’ before the certification/registration number only signifies that the Industry Canada technical specifications were met.
This product meets the applicable Innovation, Science, and Economic Development Canada technical specifications.
RF radiation exposure statement
The baby unit complies with FCC RF radiation exposure limits set forth for an uncontrolled environment. The baby unit should be installed and operated with a minimum distance of 8 in (20 cm) between the baby unit and all persons’ bodies. The use of other accessories may not ensure compliance with FCC RF exposure guidelines. This transmitter must not be co-located or operating in conjunction with any other antenna or transmitter. This equipment complies also with Industry Canada RSS-102 with respect to Canada’s Health Code 6 for Exposure of Humans to RF Fields.
California Energy Commission battery charging testing mode
This baby monitor meets the California Energy Commission (CEC) regulations for energy consumption. Your baby monitor is set up to comply with the energy-conserving standards right out of the box. Follow the instructions to install and charge the battery. The CEC battery charging testing mode is activated while charging. Even if the parent unit is paired to baby units, the CEC battery charging testing mode is activated while it is powered off and charging.
Limited warranty
What does this limited warranty cover?
The manufacturer of this VTech Product warrants to the holder of a valid proof of purchase (“Consumer” or “you”) that the Product and all accessories provided in the sales package (“Product”) are free from defects in material and workmanship, pursuant to the following terms and conditions, when installed and used normally and in accordance with the Product operating instructions. This limited warranty extends only to the Consumer for Products purchased and used in the United States of America and Canada.
What will VTech do if the Product is not free from defects in materials and workmanship during the limited warranty period (“Materially Defective Product”)?
During the limited warranty period, VTech’s authorized service representative will replace at VTech’s option, without charge, Materially Defective Product. If we choose to replace the Product, we may replace it with a new or refurbished Product of the same or similar design. We will retain defective parts, modules, or equipment. Replacement of the Product, at VTech’s option, is your exclusive remedy. VTech will return the replacement Products to you in working condition. You should expect the replacement to take
approximately 30 days.
How long is the limited warranty period?
The limited warranty period for the Product extends for ONE (1) YEAR from the date of purchase (90 days on products purchased as Refurbished*). This limited warranty also applies to the replacement Product for a period of either (a) 90 days from the date the replacement Product is shipped to you or (b) the time remaining on the original one-year warranty (90-day limited warranty on products that are purchased as Refurbished*); whichever is longer.
*Refurbished products purchased from our online store carry a 90-day replacement warranty.
What is not covered by this limited warranty?
This limited warranty does not cover:
- The product that has been subjected to misuse, accident, shipping or other physical damage, improper installation, abnormal operation or handling, neglect, inundation, fire, water or another liquid intrusion; or
- The product that has been damaged due to repair, alteration, or modification by anyone other than an authorized service representative of VTech; or
- Product to the extent that the problem experienced is caused by signal conditions, network reliability, or cable or antenna systems; or
- Product to the extent that the problem is caused by the use of non-VTech accessories; or
- Product whose warranty/quality stickers, product serial number plates, or electronic serial numbers have been removed, altered, or rendered illegible; or
- Product purchased, used, serviced, or shipped for repair from outside the United States of America or Canada, or used for commercial or institutional purposes (including but not limited to Products used for rental purposes); or
- Product returned without valid proof of purchase (see item 2 below); or
- Charges for installation or set up, adjustment of customer controls, and installation or repair of systems outside the unit.
How do you get warranty service?
To obtain warranty service in the USA, please visit our website at www.vtechphones.com or call 1 (800) 595-9511. In Canada, go to www.vtechcanada.com or call 1 (800) 267-7377.
NOTE: Before calling for service, please review the user’s manual – a check of the Product’s controls and features may save you a service call.
Except as provided by applicable law, you assume the risk of loss or damage during transit and transportation and are responsible for delivery or handling charges incurred in the transport of the Product(s) to the service location. VTech will return replaced Product under this limited warranty. Transportation, delivery, or handling charges are prepaid. VTech assumes no risk for damage or loss of the Product in transit.
What must you return with the Product to get warranty service?
- Return the entire original package and contents including the Product to the VTech service location along with a description of the malfunction or difficulty; and
- Include a “valid proof of purchase” (sales receipt) identifying the Product purchased (Product model) and the date of purchase or receipt; and
- Provide your name, complete and correct mailing address, and telephone number.
Other limitations
This warranty is the complete and exclusive agreement between you and VTech. It supersedes all other written or oral communications related to this Product. VTech provides no other warranties for this Product. The warranty exclusively describes all of VTech’s responsibilities regarding the Product. There are no other express warranties. No one is authorized to make modifications to this limited warranty and you should not rely on any such modification. State/Provincial Law Rights: This warranty gives you specific legal rights, and you may also have other rights, which vary from state to state or province to province.
Limitations: Implied warranties, including those of fitness for a particular purpose and merchantability (an unwritten warranty that the Product is fit for ordinary use), are limited to one year from the date of purchase. Some states/ provinces do not allow limitations on how long an implied warranty lasts, so the above limitation may not apply to you. In no event shall VTech be liable for any indirect, special, incidental, consequential, or similar damages (including, but not limited to lost profits or revenue, inability to use the Product or other associated equipment, the cost of substitute equipment, and claims by third parties) resulting from the use of this product. Some states/provinces do not allow the exclusion or limitation of incidental or consequential damages, so the above limitation or exclusion may not apply to you. Please retain your original sales receipt as proof of purchase.
Technical specifications
| Frequency control | Crystal controlled PLL synthesizer |
| Transmit frequency | Baby unit: 2405 – 2475 MHz Parent unit: 2405 – 2475 MHz |
| Channels | 32 |
| LCD | 5″ Color LCD (WQVGA 480×272 pixel) |
| Nominal effective range | Maximum power allowed by FCC and IC. The actual operating range may vary according to environmental conditions at the time of use. |
| Power requirements | Parent unit: 3.8V 2100mAh Li-ion battery Baby unit power adapter: Output: 5V DC @ 1A Parent unit power adapter: Output: 5V DC @ 1A |
Disclaimer and Limitation of Liability
VTech Communications, Inc. and its suppliers assume no responsibility for any damage or loss resulting from the use of this user’s manual. VTech Communications, Inc. and its suppliers assume no responsibility for any loss or claims by third parties that may arise through the use of this product.
Company: VTech Communications, Inc.
Address: 9020 SW Washington Square Road – Ste 555 Tigard, OR 97223, United States
Phone: 1 (800) 595-9511 in the U.S. or 1 (800) 267-7377 in Canada
Credits:
The Background Noise sound file was created by Caroline Ford and is used under the Creative Commons license. The Stream Noise sound file was created by Caroline Ford and is used under the Creative Commons license.
The Crickets At Night sound file was created by Mike Koenig and is used under the Creative Commons license.
The Heart Beat sound file was created by Zarabadeu and is used under the Creative Commons license.
Specifications are subject to change without notice.
© 2021 VTech Communications, Inc. All rights reserved.
06/21. VM5463-X_QSG_V6.
Specifications are subject to change without notice.
© 2021 VTech Communications, Inc. All rights reserved.
06/21. VM5463-X_QSG_V6.
![]()












































