VM919HD
Full Colour Pan and Tilt
HD Video Monitor
Quick start guide
What’s in the box

Specifications are subject to change without notice.
© 2022 VTech Communications, Inc. All rights reserved.
07/22. VM919HD_UK_QSG_V2.
Important safety instructions
The applied nameplate is located at the bottom of the baby unit’s base.
When using your equipment, basic safety precautions should always be followed to reduce the risk of fire, electric shock and injury, including the following:
- Follow all warnings and instructions marked on the product.
- Adult setup is required.
- CAUTION: Do not install the baby unit at a height above 2 metres.
- This product is not a substitute for adult supervision of the infant. Supervising the infant is the responsibility of the parent or carer. This product could cease operating, and therefore you should not assume it will continue working properly for any given period of time. Further, this is not a medical device and should not be used as such. This product is intended to assist you in supervising your baby.
- Do not use this product near water, for example, near to a bath, sink, swimming pool or shower.
- CAUTION: Use only the battery provided. There may be a riskof explosion if a wrong type of battery is used for the parent unit. The battery cannot be subjected to high or low extreme temperature and low air pressure at high altitude during use, storage or transportation. Disposal of battery into fire or a hot oven, or mechanically crushing or cutting or the battery can result in an explosion. Leaving the battery in an extremely high temperature surrounding environment can result in an explosion or the leakage of flammable liquid of gas. Battery subjected to extremely low air pressure may result in an explosion or the leakage of flammable liquid or gas. Dispose of used battery according to the instructions.
- Use only the power adaptors included with this product. Incorrect power adaptor polarity or voltage can seriously damage the product.
Power adaptor information:
Parent unit output: 5V DC 2A VTech Telecommunications Ltd. Model: VT05EEU05200 (EU), VT05EUK05200 (UK). Baby unit output: 5V DC 1A. VTech Telecommunications Ltd. Model: VT05EEU05100 (EU), VT05EUK05100 (UK).
Rechargeable battery information: 3.7V 5000mAh, 18.5Wh Lithium-ion battery Zhuhai Great Power Energy Co., Ltd. Model: GSP806090-5Ah-3.7V-1S1P - The power adaptors are intended to be correctly oriented in a vertical or floor mount position. The prongs are not designed to hold the plug in place if it is plugged into a ceiling, under-the-table or cabinet outlet.
- For pluggable equipment, the socket-outlet should be installed near the equipment and should be easily accessible.
- Unplug this product from the wall outlet before cleaning. Do not use liquid or aerosol cleaners. Use a damp cloth for cleaning.
- Do not cut off the power adaptors to replace them with other plugs, as this causes a hazardous situation.
- Do not allow anything to rest on the power cords. Do not install this product where the cords may be walked on or crimped.
- This product should be operated only from the type of power source indicated on the marking label. If you are not sure of the type of power supply in your home, consult your dealer or local power company.
- Do not overload wall outlets or use an extension cord.
- Do not place this product on an unstable table, shelf, stand or other unstable surfaces.
- This product should not be placed in any area where proper ventilation is not provided. Slots and openings in the back or bottom of this product are provided for ventilation. To protect them from overheating, these openings must not be blocked by placing the product on a soft surface such as a bed, sofa or rug.
This product should never be placed near or over a radiator or heat source. - Never push objects of any kind into this product through the slots because they may touch dangerous voltage points or create a short circuit. Never spill liquid of any kind on the product.
- To reduce the risk of electric shock, do not disassemble this product, but take it to an authorized service facility. Opening or removing parts of the product other than specified access doors may expose you to dangerous voltages or other risks. Incorrect reassembling can cause electric shock when the product is subsequently used.
- You should test the sound reception every time you turn on the units or move one of the components.
- Periodically examine all components for damage.
- There is a very low risk of privacy loss when using certain electronic devices, such as baby monitors, cordless telephones, etc. To protect your privacy, make sure the product has never been used before purchase, reset the baby monitor periodically by powering off and then powering on the units, and power off the baby monitor if you will not use it for some time.
- Children should be supervised to ensure that they do not play with the product.
- The product is not intended for use by persons (including children) with reduced physical, sensory or mental capabilities, or lack of experience and knowledge, unless they have been given supervision or instruction concerning use of the appliance by a person responsible for their safety.
SAVE THESE INSTRUCTIONS
Cautions
- Use and store the product at a temperature between 0°C o and 40°C.
- Do not expose the product to extreme cold, heat or direct sunlight. Do not put the product close to a heating source.
- Batteries should not be exposed to excessive heat such as bright sunshine or fire.
Warning—Strangulation Hazard— Children have STRANGLED in cords. Keep this cord out of the reach of children (more than 0.9m away. Do not remove this tag.
- Never place the baby unit(s) inside the baby’s crib or playpen. Never cover the baby unit(s) or parent unit with anything such as a towel or a blanket.
- Other electronic products may cause interference with your baby monitor. Try installing your baby monitor as far away from these electronic devices as possible: wireless routers, radios, cellular telephones, intercoms, room monitors, televisions, personal computers, kitchen appliances and cordless telephones.
Precautions for users of implanted cardiac pacemakers Cardiac pacemakers (applies only to digital cordless devices): Wireless Technology Research, LLC (WTR), an independent research entity, led a multidisciplinary evaluation of the interference between portable wireless devices and implanted cardiac pacemakers. Supported by the U.S. Food and Drug Administration, WTR recommends to physicians that: Pacemaker patients
• Should keep wireless devices at least six inches from the pacemaker.
• Should NOT place wireless devices directly over the pacemaker, such as in a breast pocket, when it is turned ON. WTR’s evaluation did not identify any risk to bystanders with pacemakers from other persons using wireless devices. Electromagnetic fields (EMF) This VTech product complies with all standards regarding electromagnetic fields (EMF). If handled properly and according to the instructions in this user’s manual, the product is safe to be used based on scientific evidence available today.
Connect the baby monitor
NOTES
- The rechargeable battery in the parent unit is built-in.
- Use only the power adaptors supplied with this product.
- Make sure the parent unit and the baby unit are not connected to the switch controlled electric outlets.
- Connect the power adaptors in a vertical or floor mount position only. The adaptors’ prongs are not designed to hold the weight of the parent unit and the baby unit, so do not connect them to any ceiling, under-the-table, or cabinet outlets. Otherwise, the adaptors may not properly connect to the outlets.
- Make sure the parent unit, the baby unit and the power adaptor cords are out of reach of children. Connect the baby unit

Raise the parent unit antenna for better reception

Charge the parent unit battery before use
When you connect and turn the parent unit on, the battery will charge automatically.

NOTES
- Before using the baby monitor for the first time, charge the parent unit battery for 12 hours.
When the parent unit battery is fully charged, the battery icon becomes solid
. - It takes longer to charge the battery when the parent unit is turned on. To shorten the charging time, turn the parent unit off while charging.
- The standby time varies depending on the sensitivity level you set, your actual use and the age of the battery.
The battery icon indicates the battery status (see the following table).
| Battery indicators | Battery status | Action |
| The screen displays | The battery has very little charge and may be used for only a short time. | Charge without interruption (about 30 minutes). |
| The battery icon becomes solid | The battery is fully charged. | To keep the battery charged, connect it to AC power when not in use. |
Power on or off the baby monitor
- Slide the switch to ON to power on your baby unit.

- After the parent unit is fully charged, press POWER until the welcome screen appears.

Positioning the baby monitor

Note
- To avoid interference from other electronic devices, place your baby monitor at least 1 metre away from devices such as wireless routers, microwaves, mobile phones and computers.

Caution
- The default volume of your parent unit is level 3, and the maximum volume is level 5. If you experience feedback from your baby monitor while positioning
:
– Make sure your baby unit and parent unit are more than 1 meter apart, OR
– Lower the volume of your parent unit.
Status check
Once you power on both your baby unit and parent unit, your parent unit displays images from the baby unit, and the LINK LED light turns on.
The baby unit green LED light also turns on.

Basic operation – Parent unit
Adjust speaker volume
Pressing -VOL / VOL+ adjusts the parent unit speaker volume level received from the baby unit.

Talk to your baby via the baby unit
- Press and hold the TALK key.
- When the
icon displays on screen, speak to your parent unit. Your voice is transmitted to the baby unit. - When finished talking, release the TALK key to hear your baby again.

Zoom
Press
to zoom in or out.

Turn on/off the parent unit screen You can turn on or turn off the parent unit screen without powering off the parent unit. You can still hear sound from the baby unit.
- Press POWER on the parent unit to turn off the screen.
- Press any keys on the parent unit to turn on the screen again.

Use the menu
Press MENU to enter the menu, choose a menu item, or save a setting. You can use the parent unit for advanced settings or operations, such as to play or stop the baby
unit lullaby, or to adjust the baby unit sound sensitivity.
While in the menu:
- Press ,
, or to scroll among the menu options. - Press SELECT to select an item, or to save a setting.
- Press TALK to return to the live video.
- Press
to go to the Help & info page.
Overview – Parent unit

- LINK LED light
LED light- 3- level sound indicator light
- TALK
• Press and hold to talk to the baby unit.
• While in a submenu, press to exit.
Press to zoom in/out.
• When in the main menu, press to go to the Help & Info page.- Arrow keys
- MENU/SELECT
• Press to enter the main menu.
• While in a menu, press to choose an item, or save a setting. - VOL/ VOL +
• Increase or decrease parent unit’s volume. - Microphone
- POWER key
- Power jack
- RESET
• Force reboot the parenunit. - Antenna
- Speaker
- Stand
Overview – Baby unit

- Microphone
- Camera lens
- Light sensor
- LED indicator
- Infrared LEDs
ON/OFF switch- Antenna
- Speaker
- Temperature sensor
• Position the sensor horizontally for optimal usage.
Caution
• Do not bend the temperature sensor upward.
- Power jack
- Threaded socket for wall mounting
- Pair button
Parent unit icons
Main menu icons
Melodies and soothing sounds
Melodies and Soothing Sounds
- Select play all melodies, or play one of the five melodies and four soothing sounds.

- You can also set the timer to stop playing after 15, 30 or 60 minutes, or playing nonstop.
Alerts – Sound, motion and temperature
Sound
- Select sound Sensitivity level.
- Turn on/off Sound Detection Alert.
- Turn on/off Auto Wake Up function.
(See Sound Detection and Auto Wake Up section)
Motion - Turn on/off Motion Alert.
- Select motion Sensitivity level.
(See Motion Detection section)
Temperature
- Turn on/off Temperature Alert.
Set the parent unit to beep whenever the room temperature detected by the baby unit falls outside of the set temperature range. - Select Minimum temperature for alert range.
- Select Maximum temperature for alert range.
- Select temperature Format.
Set temperature display in Fahrenheit (°F) or Celsius (°C ).
Parent unit settings
- Adjust parent unit screen Brightness.
- Turn on/off Dim Mode.
Baby unit settings
- Turn on/off baby unit’s Status LED.
- Select Field of View.
Choose Wide angle
or
Standard . - Adjust baby unit’s speaker Volume.
General settings
- Turn on/off Low Battery Alert Tone.
Set the parent unit to beep when the battery is low. - Turn on/off No Link Alert Tone.
Set the parent unit to beep when the link between the parent unit and the baby unit is lost. - Add baby unit.
- Remove baby unit.
Status icons
| Current view status. | |
| Night vision feature is activated automatically. | |
| Motion alert is turned on. | |
| Sound detection alert is turned on. | |
| Melodies or soothing sound are turned on. | |
| Parent unit speaker is muted. | |
| Temperature alert is turned on. | |
| Real-time temperature indicator | |
| Battery status indicator |
Alert icons
| • Displays when parent unit battery is low and needs charging. | |
| • Displays when motion is detected at a baby unit. | |
| • Displays when sound is detected at a baby unit. | |
| • Baby unit detection temperature exceeds the set maximum. | |
| • Baby unit detection temperature is lower than the set minimum. |
Sound Detection and Auto Wake Up
Adjust sound detection sensitivity
When you turn on Sound Detection Alert, you can adjust the baby unit Sound Sensitivity to detect sounds and turn the parent unit on when the screen is switched off or dimmed. When the baby unit detects sounds that exceeds the sound sensitivity setting, the parent unit screen will automatically turn on and the baby unit starts to transmit detected sounds to the parent unit. You will then be able to see and hear your baby.
If you have turned on Sound Detection Alert, the parent unit also beeps when the baby
unit detect sounds.
| Sound Sensitivity level | Level 3 (Highest) | Level 2 (Medium) | Level 1 (Lowest) |
| Description | The parent unit screen and speaker turn on for very low level sounds, including background noises from your baby’s room. | The parent unit screen and speaker turn on for loud babbling and louder soundsfrom your baby. The parent unit remains quiet when yourbaby makes soft sounds. | The parent unit screen and speaker turn on for loud crying or screeching sounds from your baby. The parent unit remains quiet when your baby makes soft sounds. |
Sound activated screen and audio – Auto Wake Up
The parent unit screen automatically remains off to save power when the baby unit detects no sound.
When Auto Wake Up is turned on, once the baby unit detects sounds that are louder than the chosen sound sensitivity level, the parent unit screen and speaker turn on automatically. The parent unit will turn off again after 50 seconds of no sound detection.
Notes
- If you have muted the parent unit’s speaker, only the parent unit screen will turn on when sound is detected.
- If you have turned on Auto Wake Up but turned off Sound Detection Alert, the parent unit will wake up when the baby unit detects sounds that are louder than the chosen sound sensitivity level.
Dim mode
The dim mode helps save parent unit power. The parent unit display will dim to conserve energy after 5 minutes of inactivity when no keys are pressed or alerts are received from the baby unit.

Motion Detection
Adjust motion detection sensitivity
When you turn on Motion Alert, you can adjust the Motion Sensitivity to detect movement and turn on the parent unit when the screen is switched off or dimmed. When the baby unit camera detects movement that exceeds the motion sensitivity level setting, the parent unit screen will turn on and the baby unit starts transmitting sounds to the parent unit. You will then be able to see and hear your baby.
If you have turned Motion Alert on, the parent unit also beeps when the baby unit detects motion.
| Sound Sensitivity level | Level 3 (Highest) | Level 2 (Medium) | Level 1 (Lowest) |
| Description | The parent unit screen and speaker turn on for very low level sounds, including background noises from your baby’s room. | The parent unit screen and speaker turn on for loud babbling and louder soundsfrom your baby. The parent unit remains quiet when your baby makes soft sounds. | The parent unit screen and speaker turn on for loud crying or screeching sounds from your baby. The parent unit remains quiet when your baby makes soft sounds. |
Night vision

The baby unit has infrared LEDs that allow you to see your baby clearly at night or in a dark room. When the baby unit being viewed detects low light levels, the infrared LEDs are switched on automatically. The images from the baby unit will be in black and white, and
appears on the screen.
Notes
- It is normal to see a short white glare on your parent unit screen as the baby unit is adapts to the dark environment.
- When the infrared LEDs are on, it is normal for the images to be in black and white.
Tip - Depending on the surroundings and other interfering factors, like lighting, objects, colours and backgrounds, the video quality may vary. Adjust the baby unit angle or place the baby unit at a higher elevation to prevent glare and a blurry display.
Mount the baby unit on dry wall (optional)
Notes
- Check for reception strength and baby unit’s angle before drilling the holes.
- The types of screws and anchors you need depend on the composition of the wall. You may need to purchase the screws and anchors separately to mount your baby units.
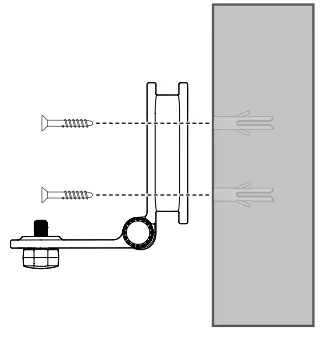
- Place the wall mount bracket on a wall and then use a pencil to mark the top and the bottom holes as shown. Remove the wall mount bracket and drill two holes in the wall (5.5mm drill bit).

- If you drill the holes into a stud, go to step 3.
• If you drill the holes into an object other than a stud, insert the wall anchors into the holes. Tap gently on the ends with a hammer until the wall anchors are flush with the wall.
- Align the wall mount bracket and screws with the holes in the wall as shown. Tighten the screw in the middle hole first, so that the wall mount bracket position is fixed. You can tighten the other screw in the top hole.
3. Insert the screws into the holes and tighten the screws until only 6.5mm of the screws are exposed.
- Place the baby unit on the wall mount bracket.
Tighten the screw into the threaded socket at the bottom to secure the baby unit.
4. Place the baby unit on the wall mount bracket.
Tighten the screw into the threaded socket at the bottom to secure the baby unit. Align the holes on the wall mount bracket with the screws on the wall, and slide the wall mount bracket down until it locks into place
- You can maximize your baby unit viewing angles by tilting the wall mount bracket.
Hold the baby unit, and then rotate the knob in an anticlockwise direction. This will loosen the joint of the wall mount bracket.
Tilt your baby unit up or down to adjust to your preferred angle. Then, rotate the knob in a clockwise direction to tighten the joint and secure the angle.
Need help?
Driven by system updates, the software, online help topics, and online FAQs will be updated periodically.
For operations and guides to help you using your HD video monitor, and for latest information and supports, go and check the online help topics and online FAQs.
Use your smartphone or mobile device to access our online help.![]()
- Go to www.vtechbabycare.com/technical-support; OR Scan the QR code on the right. Launch the camera app or QR code scanner app on your smartphone or tablet. Hold the device’s camera up to the QR code and frame it. Tap the notification to trigger the redirection of the online help.
– If the QR code is not clearly displayed, adjust your camera’s focus by moving your device closer or further away until it is clear.
https://vttqr.tv/?q=4VP06 - Search for the model – VM919HD.
https://vttqr.tv/?q=4VP07
If you would like to contact us, visit www.vtechbabycare.com/contact-us or scan the QR code.
Frequently asked questions
Below are the questions most frequently asked about the baby monitor.
| Why does the baby monitor not respond normally? | Try the following (in the order listed) for common cure: 1. Disconnect the power to the baby units and the parent unit. 2. Wait a few seconds before connecting power back to the baby units and the parent unit. 3. Turn on the baby units and the parent unit. 4. Wait for the parent unit to synchronize with the baby units. Allow up to one minute for this to take place. |
| Why doesn’t the baby unit and parent unit power-on light illuminate when the units are switched on? | Perhaps the parent unit’s battery is depleted. Insert the appliance plug into the parent unit and insert the adaptor in a wall socket. The parent unit will establish connection with the baby unit. |
| Perhaps the baby unit is not connected to the power. Insert the appliance plug into the baby unit and insert the adaptor in a wall socket. Then, slide the | |
| Why doesn’t my parent unit charge while connected to AC power? | Make sure the power is not controlled by an electronic wall switch. |
| Why is my screen in black and white? | The screen is in black and white during night-time or in a dark room when the night vision feature is activated. This is normal. |
| Why do I get glare or blurry display on my screen when viewing my baby at night? | During night-time or in a dark room, the surroundings and other interfering factors, like lighting, objects, colours and backgrounds may affect the image quality on your parent unit screen. Adjust the baby unit angle or place the baby unit at a higher level to prevent glare and a blurry display. |
| Why does the baby monitor produce feedback? | The parent unit and baby units may be too close to each other. • Move the parent unit away from the baby units until the noise stops; OR • Turn down the volume of your parent unit. |
| Why does the parent unit beep? | The baby units may be out of range. Move the parent unit closer to the baby units (but not less than 1 metre). |
| The parent unit may not have enough charge for the parent unit to perform normally. Charge the battery in the parent unit until the battery icon becomes solid | |
| The temperature of your baby’s room may be too high or too low. | |
| Why don’t I hear a sound/Why can’t I hear my baby cry? | The parent unit speaker volume may be too low. Press VOL+ to increase the volume, or use the parent unit menu to change sound sensitivity level to the highest level. |
| Why can’t I establish a connection? Why is the connection lost every now and then? Why are there sound interruptions? | The baby units may be out of range. Move the parent unit closer to the baby units (but not less than 1 metre). |
| Other electronic and wireless products may cause interference with your baby monitor. Try installing your baby monitor as far away from these devices as possible. | |
| If you power on only one baby unit, your parent unit may display Make sure baby unit X is on or move closer to baby unit X, and the LINK LED light flashes. Switch to the baby unit you have powered on via menu. |
Customer service and product warranty
PRODUCT REGISTRATION
Visit www.vtech.co.uk/clubvtech/login to register your VTech product
By joining the VTech Club you can also enter competitions, find out about news and events, seek expert advice for parents and let your kids play fun learning games and activities.
This warranty is valid for the UK and Ireland only. For products purchased outside the UK and Ireland, please contact your local distributor or place of purchase.
PRODUCT WARRANTY
Thank you for choosing this quality product from VTech.
- The product detailed above is covered by a one year warranty from the date of purchase, against any defects in materials or workmanship.
- The product may be returned to the place of purchase. Alternatively the product can be returned to VTech Electronics Europe Plc (see address below), with proof of purchase, without proof of purchase no replacement will be provided.
- VTech Electronics Europe Plc will examine the product and if it is found to be defective due to faulty materials or workmanship, will replace the product at their discretion.
- If the product covered by this warranty is damaged due to misuse, modification or unauthorized repair, or because of faulty batteries, battery discharge or incorrect
electrical connections, then this warranty becomes void. - This warranty is personal to the original purchaser and is not transferable.
- Breakages to the LCD screen are not covered by the warranty.
- Products returned to VTech Electronics Europe Plc, should be sent to the address shown below and packed carefully to avoid damage in transit. Please do not include batteries or adaptors. Please include details of the fault together with your name and address, contact phone number and/or email address.
- To keep an online record of your warranty, please register your product online at www.vtech.co.uk/clubvtech
VTech Electronics Europe Plc, c/o XPO Logistics, Warehouse 350, Cat & Fiddle Lane, West Hallam, DE7 6HE
THIS WARRANTY IS OFFERED AS AN EXTRA BENEFIT AND DOES NOT AFFECT CONSUMERS’ STATUTORY RIGHTS.
IMPORTANT
Please retain this booklet with your sales receipt as proof of the date of purchase.
Customer Service
Please call our Consumer Services Department on 03306 780149 (from UK) or +44 3306 780149 (outside UK) and a service representative will be happy to help you.
Disposal of batteries and product
The crossed-out wheelie bin symbols on products and batteries, or on their respective packaging indicates they must not be disposed of in domestic waste as they contain substances that can be damaging to the environment and human health.
The chemical symbols Hg, Cd or Pb, where marked, indicate that the battery contains more than the specified value of mercury (Hg), cadmium (Cd) or lead (Pn) set out in Battery Directive (2006/66/EC).
The solid bar indicates that the product was placed on the market after 13th August, 2005.
Help protect the environment by disposing of your product or batteries responsibly.
Declaration of Conformity
This product is intended for use within Europe and UK.
This equipment complies with the essential requirements to EU’s Radio Equipment Directive (2014/53/EU) and the UK’s Radio Regulations 2017 on radio systems and
telecommunication equipment.
VTech Telecommunications Ltd. hereby declares that this Video Monitor LM808-2W is in compliance with the essential requirements and other relevant provisions of EU’s Radio Equipment Directive (2014/53/EU) and UK’s Radio Equipment Regulations 2017.
The Declaration of Conformity for the LM808-2W is available from www.vtechbabycare.com.
Manufacturer: VTech Telecommunications Ltd.
23/F., Tai Ping Industrial Centre, Block 1, 57 Ting kok Road, Tai Po, Hong Kong.
Importer: VTech Electronics Europe Plc.
Napier Court, Abingdon Science Park, Abingdon, Oxon, OX14 3YT, U.K.
General product care
To keep this product working well and looking good, follow these guidelines:
- Avoid placing it near heating appliances and devices that generate electrical noise (for example, motors or fluorescent lamps).
- DO NOT expose it to direct sunlight or moisture.
- Avoid dropping the product or treating it roughly.
- Clean with a soft damp cloth.
- DO NOT immerse the parent unit and the baby unit in water and do not clean them under running water.
- DO NOT use cleaning spray or liquid cleaners.
- Make sure the baby unit and parent unit are dry before you connect them to the mains again.
Storage
When you are not going to use the baby monitor for some time, remove the rechargeable battery from the parent unit. Store the parent unit, the baby unit and the adaptors in a cool and dry place.
Technical specifications
| Frequency control | Crystal controlled PLL synthesizer |
| Transmit frequency | Baby unit: 2405 – 2475MHz Parent unit: 2405 – 2475 MHz Maximum power used by the transmitter: 0.1W (100mW) |
| Channels | 32 |
| LCD | 7″ Colour LCD (IPS 1200×800 pixels) |
| Nominal effective range | Actual operating range may vary according to environmental conditions at the time of use. |
| Power requirements | Parent unit: 3.7V, 5000mAh 18.5Wh Li-ion battery Baby unit power adaptor: Output: 5V DC @ 1A Parent unit power adaptor: Output: 5V DC @ 2A |
Credits:
The Background Noise sound file was created by Caroline Ford, and is used under the Creative Commons license.
The Stream Noise sound file was created by Caroline Ford, and is used under the Creative Commons license.
The Crickets At Night sound file was created by Mike Koenig, and is used under the Creative Commons license.
The Heart Beat sound file was created by Zarabadeu, and is used under the Creative Commons license.





3. Insert the screws into the holes and tighten the screws until only 6.5mm of the screws are exposed.
4. Place the baby unit on the wall mount bracket.




















