vtech VM928HD, VM928-2HD Full Color Pan and Tilt HD Video Monitor

Important safety instructions
The applied nameplate is located at the bottom of the baby unit’s base.
When using your equipment, basic safety precautions should always be followed to reduce the risk of fire, electric shock and injury, including the following:
- Follow all warnings and instructions marked on the product.
- Adult setup is required.
- CAUTION: Do not install the baby unit at a height above 2 meters.
- This product is not a substitute for adult supervision of the infant. Supervising the infant is the parents or caregiver responsibility. This product could cease operating, and therefore you should not assume it will continue working properly for any given period of time. Further, this is not a medical device and should not be used as such. This product is intended to assist you in supervising your baby.
- Do not use this product near water. For example, do not use it next to a bathtub, wash bowl, kitchen sink, laundry tub or swimming pool, or in a wet basement or shower.
- CAUTION: Use only the battery provided. There may be a risk of explosion if the wrong type of battery is used for the parent unit. The battery cannot be subjected to high or low extreme temperatures and low air pressure at high altitudes during use, storage or transportation. Disposal of battery into fire or a hot oven, or mechanically crushing or cutting or the battery can result in an explosion. Leaving the battery in an extremely high temperature surrounding
environment can result in an explosion or the leakage of flammable liquid of gas. Battery subjected to extremely low air pressure may result in an explosion or the leakage of flammable liquid or gas. Dispose of used battery according to the information in The RBRC® seal. - Use only the adapters included with this product. Incorrect adapter polarity or voltage can seriously damage the product. Baby unit power adapter: Output: 5V DC 1A; Parent unit power adapter: Output: 5V DC 1A.
- The power adapters are intended to be correctly oriented in a vertical or floor mount position. The prongs are not designed to hold the plug in place if itis plugged into a ceiling, under-the-table or cabinet
outlet. - For pluggable equipment, the socket outlet shall be installed near the equipment and shall be easily accessible.
- Unplug this product from the wall outlet before cleaning. Do not use liquid or aerosol cleaners. Use a damp cloth for cleaning.
- Do not cut off the power adapters to replace them with other plugs, as this causes a hazardous situation.
- Do not allow anything to rest on the power cords. Do not install this product where the cords may be walked on or crimped.
- This product should be operated only from the type of power source indicated on the marking label. If you are not sure of the type of power supply in your home, consult your dealer or local power company.
- Do not overload wall outlets or use an extension cord.
- Do not place this product on an unstable table, shelf, stand or other unstable surfaces.
- This product should not be placed in any area where proper ventilation is not provided. Slots and openings in the back or bottom of this product are provided for ventilation. To protect them from overheating, these openings must not be blocked by placing the product on a soft surface such as a bed, sofa or rug. This product should never be placed near or over a radiator or heat register.
- Never push objects of any kind into this product through the slots because they may touch dangerous voltage points or create a short circuit. Never spill liquid of any kind on the product.
- To reduce the risk of electric shock, do not disassemble this product, but take it to an authorized service facility. Opening or removing parts of the
product other than specified access doors may expose expose you to dangerous voltages or other risks. Incorrect reassembling can cause electric shock
when the product is subsequently used. - You should test the sound reception every time you turn on the units or move one of the components.
- Periodically examine all components for damage.
- Be aware of possible loss of privacy while using public airwaves. Conversations may be picked up by other nursery monitors, cordless phones, scanners, etc.
- Children should be supervised to ensure that they do not play with the product. The product is not intended for use by persons (including children) with reduced physical, sensory or mental capabilities, or lack of experience and knowledge unless they have been given supervision or instruction concerning use of the appliance by a person responsible for their safety.
Cautions
- Use and store the product at a temperature between 32o
F and 104oF. - Do not expose the product to extreme cold, heat or direct sunlight. Do not put the product close to a heating source.
- Batteries should not be exposed to excessive heat such as bright sunshine or fire.
- Make sure the baby unit(s) and the adapter cord(s) are always out of reach of the baby, at least 3 feet away from the baby or crib, to avoid a possible strangulation hazard.
- Never place the baby unit(s) inside the baby’s crib or playpen. Never cover the baby unit(s) or parent unit with anything such as a towel or a blanket.
- Other electronic products may cause interference with your baby monitor. Try installing your baby monitor as far away from these electronic devices asas possible: wireless routers, radios, cellular telephones, intercoms, room monitors, televisions, personal computers, kitchen appliances and cordless telephones.
Precautions for users of implanted cardiac pacemakers: Cardiac pacemakers (applies only to digital cordless devices) Wireless Technology Research, LLC (WTR), an independent research entity, led a multidisciplinary evaluation of the interference between portable wireless devices and implanted cardiac pacemakers. Supported by the U.S. Food and Drug Administration, WTR recommends to physicians that:
Pacemaker patients
- Should keep wireless devices at least six inches from the pacemaker.
- Should NOT place wireless devices directly over the pacemaker, such as in a breast pocket, when it is turned ON.
WTR’s evaluation did not identify any risk to bystanders with pacemakers from other persons using wireless devices.
Electromagnetic fields (EMF) : This VTech product complies with all standards regarding electromagnetic fields (EMF). If handled properly and according to the instructions in this user’s manual, the product is safe to be used based on scientific evidence available today.
What’s in the box

Connect the baby monitor
NOTES
- The rechargeable battery in the parent unit is built-in.
- Use only the power adapters supplied with this product. Make sure the baby
- monitor is not connected to a switch-controlled electric outlet.
- Connect the power adapters in a vertical or floor mount position only. The adapters’ prongs are not designed to hold the weight of the baby monitors, so do not connect them to any ceiling, under-the-table, or cabinet outlets. Otherwise, the adapters may not properly connect to the outlets.
- Make sure the parent unit, the baby units and the power adapter cords are out of reach of children.

Raise the parent unit antenna for better reception.
Charge the parent unit battery before use
When you have connected and turned on the parent unit, the battery will be charged automatically.
Notes
- Before using the baby monitor for the first time, charge the parent unit battery for 12 hours. When the parent unit battery is fully charged, the battery icon becomes solid.
- It takes longer to charge the battery when the parent unit is turned on. To shorten the charging time, turn the parent unit off while charging.
- The standby time varies depending on the sensitivity level you set, your actual use and the age of the battery.
The battery icon indicates the battery status (see the following table).

Power on or off the baby monitor
- Slide the switch to ON to power your baby unit.

- After the parent unit is fully charged, press POWER until the welcoming screen appears.

Positioning the baby monitor





CAUTION :
- The default volume of your parent unit is level 4, and the maximum volume is level 7. If you experience high-pitched screeching noise from your baby monitor while positioning:
- Make sure your baby unit and parent unit are more than 3 feet (1 meter) apart, OR
- Lower the volume of your parent unit.
Status check
Once you power on both your baby unit and parent unit, your parent unit displays an image from the baby unit, and the LINK LED light turns on.
The ON LED light of the baby unit turns on.
Basic operation – Parent unit
Adjust speaker volume
Press – VOL/ VOL + to adjust your parent unit speaker volume. It determines the volume of sound transmitted from your baby unit.
Talk to your baby unit:
Press and hold TALK and speak to your parent unit. Your voice is transmitted to the baby unit. Release TALK when finish talking and hear your baby again.
- Press and hold the TALK key.
- When the icon displays on the screen, speak to your parent unit. Your voice is transmitted to the baby unit.
- When finish talking, release the TALK key and hear your baby again.

Zoom:
Press to zoom in or out.
Turn off the screen:
Press and hold LCD ON/OFF to switch off the screen. You can still hear sound from the baby unit.
- Press POWER on the parent unit to turn off the screen.
- Press any keys on the parent unit to turn on the screen again.

Use the menu:
Press to enter the menu, choose a menu item, or save a setting. You can use the parent unit for advanced settings or operations, such as to play
or stop the baby unit lullaby, or to adjust the baby unit sound sensitivity.
While in the menu:
- Press or scroll among the menu options.
- Press to select an item, or to save a setting.
- Press or to scroll among the sub-menus, or to adjust a setting.
- Press to return to the previous menu options without changing the current setting.
- Press /EXIT to return to live video.

Overview – Parent unit
- LED lights
- LCD display
- Microphone
- POWER
- TALK
- MENU/SELECT
- Arrow keys
- Volume
- VIEW /LCD ON/OFF
- EXIT
- Antenna
- RESET
- Stand
- Power jack
- 3- level sound indicator light

Overview – Baby unit
- Light sensor
- Camera lens
- Microphone
- Night light
- On/Off switch
- On/Off LED light
- On when the baby unit is turned on and is paired to the parent unit.
- Flashes when the baby unit is not being viewed;or when the link to the parent unit is lost.
- Light projection
- Speaker
- Projection light on/off key
- Night light on/off key
- Power jack
- Temperature sensor

Need help
For operations and guides to help you using your video monitor, and for latest information and supports, go and check the online help topics and online FAQs.
Use your smartphone or mobile device to access our online help.
- Go to https://help.vtechphones.com/vm5463 or
https://help.vtechphones.com/vm5463-2; O - Scan the QR code on the right. Launch the camera app or QR code scanner app on your smartphone or tablet. Hold the device’s camera up to the QR code and frame it. Tap the notification to trigger the redirection of the online help.
- If the QR code is not clearly displayed, adjust your camera’s focus by moving your device closer or further away until it is clear.


- If the QR code is not clearly displayed, adjust your camera’s focus by moving your device closer or further away until it is clear.
You can also call our Customer Support at 1 (800) 595-9511 [in US] or
1 (800) 267-7377 [in Canada] for help.
Parent unit icons
Main menu
Brightness
Sub-menu

- Adjust the parent unit’s LCD brightness.
Camera settings : ![]()
Monitoring mode (For VM5463-2 only)
- Single-mode

- Split mode

- Patrol mode

Baby unit speaker volume :
- Adjust the baby unit’s speaker volume.
Lullaby
Play/Stop lullaby
- Select one of the soothing sounds, or white noise.
- Select one of the five melodies.
- Play all melodies.
- Set timer to stop playing the selected melody or soothing sound.
Night light
Turn on/off the night light :
- Select one of the night light colors.
- Set the timer to turn the night light off.
- Set to auto-turn on the night light when the baby unit detects sound. It will turn off after 15 minutes of no sound detection. You can set the VOX sensitivity level to detect sounds that exceed certain levels. See the Sound sensitivity and sound activation section.
Projection light
Turn on/off the projection light:
- Set the timer to turn the projection light off.
- Set to auto-turn on the projection light when the baby unit detects sound. It will turn off after 15 minutes of no sound detection. You can set the VOX sensitivity level to detect sounds that exceed certain levels. See the Sound sensitivity and sound activation section.
Temperature
ON/OFF :
- Turn on/off the temperature alert tone.
- Set the parent unit to beep whenever the room temperature detected by the baby unit falls outside of the set temperature range.
- Set the minimum temperature.
- Set the maximum temperature.
- Set temperature display in Fahrenheit (oF) or Celsius (oC).
Alert tones :
- Set the parent unit to beep when the battery is low.
- Set the parent unit to beep when the link between the parent unit and the baby unit is lost.
- Set the confirmation tone on or off when selecting an option in the menus.
- Set the parent unit to beep when the baby unit detects sounds while in Split mode (For VM5463-2 only).
Sound activation – screen and audio
ON/OFF
Turn on/off sound activation
- Set sound activation on or off.
- When it is on, and the baby unit detects no sound, the parent unit screen stays off to save power. Once a sound is detected, the parent unit screen and the speaker turn on automatically, and you can see and hear your baby. The parent unit will then turn off again after 50 seconds of no sound detection.
VOX (Voice Activated Alert) Sensitivity :
- You can set the VOX sensitivity level to activate the parent unit screen and sound when the baby unit detects sounds that exceed certain levels. See the Sound sensitivity and sound activation section.
Status icons:
Connection status
- Strong signal strength.
- Moderate signal strength.
- Low signal strength.
- Weak signal strength.
Split mode : (*For VM5463-2 only)
Patrol mode : (*For VM5463-2 only)
Current view status
- The baby unit number that is being viewed when in:
- Single CAM: mode.
- Patrol mode : (*For VM5463-2 only).
- Split mode : (*For VM5463-2 only).
Night vision – On
- Zoom – On
- Lullaby – On
- Night light – On
Night light – Auto-on
- Color icon indicates the night light is set to auto-on, and is currently turned on by sound activation.
- Gray icon indicates the night light is currently off but is set to auto-on. Night light will turn on when sound is detected by the baby unit.
Projection light – On
Projection light – Auto on
- Color icon indicates the projection light is set to autoon, and is currently turned on by sound activation.
- Gray icon indicates the projection light is currently off but is set to auto-on. Projection light will turn on when sound is detected by the baby unit.
Real-time temperature
- Real-time temperature detected by the baby unit in Fahrenheit (F) or Celsius (C) (e.g. 57 o F or 14 o C).
Temperature alert tone – On
9-level sound indicator :
- indicates low sound level detected by the baby unit
- indicates moderate sound level detected by the baby unit.
- indicates high sound level detected by the baby unit.
Mute alert :
- Displays when the parent unit speaker volume is set to off.
- Displays when the parent unit is talking to the baby unit.
Battery status :
- animates when the battery is charging.
- battery is fully charged.
- battery is low and needs charging.
Speaker volume
- displays the parent unit speaker volume level while adjusting.
Alert icons :
- Displays when parent unit’s battery is low and needs charging.
- Displays when connection between parent unit and baby unit is lost.
- Displays when sound is detected at a baby unit when in Split view. (For VM5463-2 only)
- Baby unit detects temperature reaches or exceeds the set maximum.
- Baby unit detects temperature is at or is lower than the set minimum.
Sound Detection and Auto Wake UP
Adjust sound detection sensitivity
You can turn on Sound Detection Alert and adjust the Sound Sensitivity to detect sounds and turn on the parent unit while its screen is switched off or dimmed. When the baby unit detects sounds that exceed certain levels, the parent unit screen will turn on and the baby unit starts transmitting the sounds to the parent unit, and you can see and hear your baby.
If you have turned on Sound Detection Alert, the parent unit beeps when the baby unit detect sounds.
Sound activated screen and audio – Auto Wake Up
When Auto Wake Up is turned on, the parent unit screen stays off to save power when the baby unit detects no sound. Once the baby unit detects sounds that are louder than the chosen sound sensitivity level, the parent unit screen and speaker turn on automatically. The parent unit will then turn off again after 50 seconds of no sound detection.
Adjust motion detection sensitivity
You can turn on Motion Alert and adjust the Motion Sensitivity to detect motions and turn on the parent unit while its screen is switched off or dimmed. When the baby unit’s camera detects motions that exceed certain levels, the parent unit screen will turn on and the baby unit starts transmitting the sounds to the parent unit, and you can see and hear your baby.
If you have turned on Motion Alert, the parent unit beeps when the baby unit detects motions.
Night vision
The baby unit has infrared LEDs that allow you to see your baby clearly at night or in a dark room. When the baby unit being viewed detects low light levels, the infrared LEDs are switched on automatically. The images from the baby unit are in black and white and appear on the screen.
Notes:
- It is normal if you see a short white glare on your parent unit screen as the baby unit is adapting to the dark environment
- When the infrared LEDs are on, the images are in black and white. This is normal.
Tip:
- Depending on the surroundings and other interfering factors, like lighting, objects, colors and backgrounds, the video quality may vary. Adjust the baby unit’s angle or place the baby unit at a higher level to prevent glare and blurry display.
For VM928-2HD only
Monitoring mode
Change different views – Single CAM
Select baby unit 1 or baby unit 2 to view the image from the baby unit.

Change different views – Patrol
Select Patrol mode as your monitoring mode to alternately view the image from baby units and every 10 seconds.
Change different views – Split
Select Split mode as your monitoring mode to view the images from both baby units at once.
Note
While in Split mode, you can press or to highlight the view of baby unit 1 or baby unit 2, and hear the sounds transmitted from the baby unit.
Dim mode
The parent unit display will dim to conserve energy after 10 minutes of inactivity, in which there is neither key pressed nor alert received from the baby unit.
Mount the baby unit on drywall (optional)
NOTES:
- Check for reception strength and camera angle before drilling the holes.
- The types of screws and anchors you need depend on the composition of the wall. You may need to purchase the screws and anchors separately to mount
your camera units.
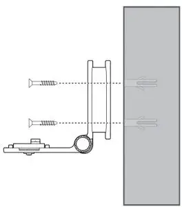
- Place the wall mount bracket on a wall and then use a pencil to mark two holes in parallel. Remove the wall mount bracket and drill two holes in the wall (7/32 inch drill bit).

- If you drill the holes into a stud, go to step 3.
- If you drill the holes into an object other than a stud, insert the wall anchors into the holes. Tap gently on the ends with a hammer until the wall anchors are flush with the wall.

- If you drill the holes into an object other than a stud, insert the wall anchors into the holes. Tap gently on the ends with a hammer until the wall anchors are flush with the wall.
- Align the wall mount bracket and screws with the holes in the wall as shown. Tighten the screw in the middle hole first, so that the wall mount bracket position is fixed. You can tighten the other screw in the top hole.

- Place the camera unit on the wall mount bracket, and then slide it forward until it locks into place. Connect the power adapter to the camera unit and a power supply not controlled by a wall switch.

- You can maximize your camera unit’s viewing angles by tilting the wall mount bracket. Hold the camera unit, and then rotate the knob in anticlockwise direction. This will loosen the joint of the wall mount bracket. Tilt your camera unit up or down to adjust to your preferred angle. Then, rotate the knob in a clockwise direction to tighten the joint and secure the angle.

Frequently asked questions
Below are the questions most frequently asked about the baby monitor.
Why does the baby monitor not respond normally?
Try the following (in the order listed) for common cure:
- Disconnect the power to the baby units and the parent unit.
- Wait a few seconds before connecting power back to the baby units and the parent unit.
- Turn on the baby units and the parent unit.
- Wait for the parent unit to synchronize with the baby units. Allow up to one minute for this to take place.
Why don’t the lights of the baby unit and parent unit go on when I switch on the units?
- Perhaps the parent unit’s battery is depleted. Insert the appliance plug into the parent unit and put the adapter in a wall socket. The parent unit will establish a connection with the baby unit.
- Perhaps the baby unit is not connected to the power. Insert the appliance plug into the baby unit and put the adapter in a wall socket. Then, slide the ON/OFF to switch on the baby unit and to establish a connection with the parent unit.
Why doesn’t my parent unit charge while connected to AC power?
Make sure the power is not controlled by a wall switch.
Why is my screen in black and white?
The screen is in black and white during night-time or in a dark room when the night vision feature is activated. This is normal.
Why do I get glare or blurry display on my screen when viewing my baby at night?
During night-time or in a dark room, the surroundings and other interfering factors, like lightings, objects, colors and backgrounds may affect the image quality on your parent unit screen. Adjust the baby unit’s angle or place the baby unit at a higher level to prevent glare and blurry display.
Why does the baby monitor produce a high-pitched noise?
The parent unit and baby units may be too close to each other.
- Move the parent unit away from the baby units until the noise stops; OR
- Turn down the volume of your parent unit.
Why does the parent unit beep?
- The baby units may be out of range. Move the parent unit closer to the baby units (but not less than 3 feet).
- The parent unit may not have enough charge for the parent unit to perform normally.
- Charge the battery in the parent unit until the battery icon becomes solid.
- The temperature of your baby’s room may be too high or too low.
Why don’t I hear a sound/ Why can’t I hear my baby cry?
The parent unit speaker volume may be too low. Press VOL+ to increase the volume or use the parent unit menu to change the sound sensitivity level to the highest level.
Why can’t I establish a connection? Why is the connection lost every now and then? Why are there sound interruptions?
- The baby units may be out of range. Move the parent unit closer to the baby units (but not less than 3 feet).
- Other electronic and wireless products may cause interference with your baby monitor. Try installing your baby monitor as far away from these devices as possible.
- If you power on only one baby unit, your parent unit may display Make sure baby unit Xis on or move closer to baby unit X, and the LINK LED light flashes. Switch to the baby unit you have powered on via menu.
The RBRC® seal
The RBRC® seal on the Ni-MH battery indicates that VTech Communications, Inc. is voluntarily participating in an industry program to collect and recycle these batteries at the end of their useful lives, when taken out of service within the United States and Canada.
The RBRC® program provides a convenient alternative to placing used Ni-MH batteries into the trash or municipal waste, which may be illegal in your area. VTech’s participation in RBRC®makes it easy for you to drop off the spent battery at local retailers participating in the RBRC® program or at authorized VTech product service centers. Please call 1 (800) 8 BATTERY® for information on Ni MH battery recycling and disposal bans/restrictions in your area. VTech’s involvement in this program is part of its commitment to protecting our environment and conserving natural resources
RBRC® and 1 (800) 8 BATTERY® are registered trademarks of the Rechargeable Battery Recycling Corporation.
FCC and IC regulations
FCC Part 15:
This equipment has been tested and found to comply with the requirements for a Class B digital device under Part 15 of the Federal Communications Commission (FCC) rules. These requirements are intended to provide reasonable protection against harmful interference in a residential installation. This equipment generates, uses and can radiate radio frequency energy and, if not installed and used in accordance with the instructions, may cause harmful interference to radio communications. However, there is no guarantee that interference will not occur in a particular installation. If this equipment does cause harmful interference to radio or television reception, which can be determined by turning the equipment off and on, the user is encouraged to try to correct the interference by one or more of the following measures:
- Reorient or relocate the receiving antenna.
- Increase the separation between the equipment and the receiver
- Connect the equipment to an outlet on a circuit different from that to which the receiver is connected.
- Consult the dealer or an experienced radio/TV technician for help.
WARNING:
Changes or modifications to this equipment not expressly approved by the party responsible for compliance could void the user’s authority to operate the equipment.
This device complies with Part 15 of the FCC rules. Operation is subject to the following two conditions:
- this device may not cause harmful interference, and
- this device must accept any interference received, including interference that may cause undesired operation.
To ensure safety of users, the FCC has established criteria for the amount of radio frequency energy that can be safely absorbed by a user or bystander according to the intended usage of the product. This product has been tested and found to comply with the FCC criteria. The baby unit shall be installed and used such that parts of all persons’ bodies are maintained at a distance of approximately 8 in (20 cm) or more. The transmitter and antenna of the parent unit shall be held at least 1 in (2.5 cm) from your face.
This Class B digital apparatus complies with Canadian requirements: CAN ICES-3 (B)/NMB-3(B).
Industry Canada:
This device contains license-exempt transmitter(s)/receiver(s) that comply with Innovation, Science and Economic Development Canada’s license-exempt RSS(s).
Operation is subject to the following two conditions: (1) This device may not cause interference. (2) This device must accept any interference, including interference that may cause undesired operation of the device.
The term ‘’IC:‘’ before the certification/registration number only signifies that the Industry Canada technical specifications were met. This product meets the applicable Innovation, Science and Economic Development Canada technical specifications.
RF radiation exposure statement:
The baby unit complies with FCC RF radiation exposure limits set forth for an uncontrolled environment. The baby unit should be installed and operated with a minimum distance of 8 in (20 cm) between the baby unit and all persons’ body. Use of other accessories may not ensure compliance with FCC RF exposure guidelines. This transmitter must not be co-located or operating in conjunction with any other antenna or transmitter. This equipment complies also with Industry Canada RSS-102 with respect to Canada’s Health Code 6 for Exposure of Humans to RF Fields.
California Energy Commission battery charging testing mode
This baby monitor meets the California Energy Commission (CEC) regulations for energy consumption. Your baby monitor is set up to comply with the energy-conserving standards right out of the box. Follow the instructions to install and charge the battery. The CEC battery charging testing mode is activated while charging. Even if the parent unit is paired to baby units, the CEC battery charging testing mode is activated while it is powered off and charging.
Limited warranty
What does this limited warranty cover?
The manufacturer of this VTech Product warrants to the holder of a valid proof of purchase (“Consumer” or “you”) that the Product and all accessories provided in the sales package (“Product”) are free from defects in material and workmanship, pursuant to the following terms and conditions, when installed and used normally and in accordance with the Product operating instructions. This limited warranty extends only to the Consumer for Products purchased and used in the United States of America and Canada.
What will VTech do if the Product is not free from defects in materials and workmanship during the limited warranty period (“Materially Defective Product”)?
During the limited warranty period, VTech’s authorized service representative will repair or replace at VTech’s option, without charge, a Materially Defective Product. If we repair the Product, we may use new or refurbished replacement parts. If we choose to replace the Product, we may replace it with a new or refurbished Product of the same or similar design. We will retain defective parts, modules, or equipment. Repair or replacement of the Product, at VTech’s option, is your exclusive remedy. VTech will return the repaired or replacement Products to you in working condition. You should expect the repair or replacement to take approximately 30 days.
How long is the limited warranty period?
The limited warranty period for the Product extends for ONE (1) YEAR from the date of purchase. If VTech repairs or replaces a Materially Defective Product under the terms of this limited warranty, this limited warranty also applies to the repaired or replacement Product for a period of either (a 90 days from the date the repaired or replacement Product is shipped to you or (b) the time remaining on the original one-year warranty; whichever is longer.
What is not covered by this limited warranty?
This limited warranty does not cover:
- The product that has been subjected to misuse, accident, shipping or other physical damage, improper installation, abnormal operation or handling, neglect, inundation, fire, water or another liquid intrusion; or
- The product that has been damaged due to repair, alteration or modification by anyone other than an authorized service representative of VTech; or
- Product to the extent that the problem experienced is caused by signal conditions, network reliability, or cable or antenna systems; or
- Product to the extent that the problem is caused by use with non-V Tech accessories; or
- Product whose warranty/quality stickers, product serial number plates or electronic serial numbers have been removed, altered or rendered illegible; or
- Product purchased, used, serviced, or shipped for repair from outside the United States of America or Canada, or used for commercial or institutional purposes (including but not limited to Products used for rental purposes); or
- Product returned without a valid proof of purchase (see item 2 below); or
- Charges for installation or set up, adjustment of customer controls, and installation or repair of systems outside the unit.
How do you get warranty service?
To obtain warranty service in the USA, please visit our website at www.vtechphones.com or call 1 (800) 595-9511. In Canada, go to www.vtechcanada.com or call 1 (800) 267-7377.
NOTE: Before calling for service, please review the user’s manual – a check of the Product’s controls and features may save you a service call.
Except as provided by applicable law, you assume the risk of loss or damage during transit and transportation and are responsible for delivery or handling charges incurred in the transport of the Product(s) to the service location. VTech will return repaired or replaced Product under this limited.
warranty: Transportation, delivery or handling charges are prepaid. VTech assumes no risk for damage or loss of the Product in transit. If the Product failure is not covered by this limited warranty, or proof of purchase does not meet
the terms of this limited warranty, VTech will notify you and will request that you authorize the cost of repair prior to any further repair activity. You must pay for the cost of repair and return shipping costs for the repair of Products that are not covered by this limited warranty.
What must you return with the Product to get warranty service?
- Return the entire original package and contents including the Product to the VTech service location along with a description of the malfunction or difficulty; and
- Include a “valid proof of purchase” (sales receipt) identifying the Product purchased (Product model) and the date of purchase or receipt; and
- Provide your name, complete and correct mailing address, and telephone number.
Other limitations: This warranty is the complete and exclusive agreement between you and VTech. It supersedes all other written or oral communications related to this Product. VTech provides no other warranties for this Product. The warranty exclusively describes all of VTech’s responsibilities regarding the Product. There are no other express warranties. No one is authorized to make modifications to this limited warranty and you should not rely on any such modification. State/Provincial Law Rights: This warranty gives you specific legal rights, and you may also have other rights, which vary from state to state or province to province.
Limitations: Implied warranties, including those of fitness for a particular purpose and merchantability (an unwritten warranty that the Product is fit for ordinary use) are limited to one year from the date of purchase. Some states/provinces do not allow limitations on how long an implied warranty lasts, so the above limitation may not apply to you. In no event shall VTech be liable for any indirect, special, incidental, consequential, or similar damages (including, but not limited to lost profits or revenue, inability to use the Product or other associated equipment, the cost of substitute equipment, and claims by third parties) resulting from the use of this Product. Some states/provinces do not allow the exclusion or limitation of incidental or consequential damages, so the above limitation or exclusion may not apply to you.
Please retain your original sales receipt as proof of purchase.



































