ESAB Savage A40 Air Welding Helmet

WARNING
Read and understand this entire Manual and your employer’s safety practices before installing, operat-ing, or servicing the equipment.
While the information contained in this Manual represents the Manufacturer’s best judgment, the Manufacturer assumes no liability for its use.
SAVAGE A40 welder protective helmet
Operating Manual Number 0-5580EN
Published by:
ESAB Group Inc.
2800 Airport Rd.
Denton, TX 76208
(940) 566-2000
www.esab.eu
Copyright 2019 by ESAB. All rights reserved.
Reproduction of this work, in whole or in part, without written permission of the publisher is prohibited.
The publisher does not assume and hereby disclaims any liability to any party for any loss or damage caused by any error or omission in this Manual, whether such error results from negligence, accident, or any other cause.
Original Publication Date: 07/22/2020
Revision Date:
Record the following information for Warranty purposes:
Where Purchased:_______________________________
Purchase Date:__________________________________
SAVAGE A40 User Manual
Information manual for the SAVAGE A40 welder protective helmets complying with Par. 1.4 of Appendix ll of the EC regula-tions. The SAVAGE A40 welding helmets are high quality products that contribute to the comfort and safety of the welder. SAVAGE A40 welding helmets may be used only in connection with arc welding. The chart below shows how to choose the most suitable shade level:
| Welding process Orrelated techniques | Current internally in amperes | ||||||||||||||||||||||||
| 0.5 2.5 10 20 40 80 125 175 225 275 350 450 1 5 15 30 60 100 150 200 250 300 400 500 | |||||||||||||||||||||||||
| E manual Flux core electrodes Fluxed stick electrodes | 9 | 10 | 11 | 12 | 13 | 14 | |||||||||||||||||||
| MIG / Metal-Inert-Gas Argon (Ar/He) Steels, alloyed steels, Copper & its alloys etc. | 10 | 11 | 12 | 13 | 14 | ||||||||||||||||||||
| MIG / Metal-Inert-Gas Argon (Ar/He) Aluminium, copper, nickel And other alloys. | 10 | 11 | 12 | 13 | 14 | 15 | |||||||||||||||||||
| TIG / Tungsten-Inert Gas Argon (Ar/H2) (Ar/He) All weldable metals such as steels, aluminium, Copper, nickel and their alloys. | 9 | 10 | 11 | 12 | 13 | ||||||||||||||||||||
| MAG / Metal-active Gas (Ar/Co2O2) (Ar/Co2/He/H2) Construction Steel, hardened & tempered steels Cr-Ni-steel, Cr-steel & other alloyed steels. | 10 | 11 | 12 | 13 | 14 | 15 | |||||||||||||||||||
| Electric arc compressed air joining (Melt joining) carbon electrodes (O2) Flame grooving compressed air (O2) | 10 | 11 | 12 | 13 | 14 | 15 | |||||||||||||||||||
| Plasma cutting (fusion cutting) All weldable metals see WIG Center and outer gas: Argon (Ar/H2) (Ar/He) | 11 | 12 | 13 | ||||||||||||||||||||||
| Plasma cutting (Fusion cutting) Micro-plasma welding Center and outer gas: Agon (Ar/H2) (Ar/He) | 2.5 4 | 5 | 6 | 7 | 8 | 9 | 10 | 11 | 12 | 13 | 14 | 15 | |||||||||||||
| 1 5 15 30 60 100 150 200 250 300 400 500 0.5 2.5 10 20 40 80 125 175 225 275 350 450 | |||||||||||||||||||||||||
Depending upon the application conditions, the next highest or next lowest protection level can be used.
The darker fields correspond to those areas in which the corresponding welding process cannot be used.
Information
SAVAGE A40 welding helmets afford reliable protection for the eyes whilst electric arc welding. They offer permanent protec-tion against UV/IR rays, heat & sparks in any state from the clear to dark. The protection shades of the SAVAGE A40 welding helmets have been chosen to avoid eye damage caused by the welding arc.
Do not look directly at welding rays with unprotected eyes when the arc strikes. This can cause a painful inflammation of the cornea and irreparable damage to the lens of the eye leading to cataracts.
SAVAGE A40 welding helmets allow the welder to see the point of arc strike more precisely. This leads to a real time saving. The helmet does not have to be flipped up and down during welding, both hands are kept free and because of the helmet’s light weight fatigue is reduced.
Replacing the Outer Spatter Lens:
Ensure that the helmet is always equipped with an Outside Lens (before the filter, on the outside of the helmet) and an Inner Lens (behind the filter, inside the helmet). These protections lenses must be replaced if broken, damaged or covered with welding spatter to such an extent that vision is impaired.
Inner & Outer Lenses are consumables and must be replaced regularly with certified ESAB spare parts (CE marked).
Before using the SAVAGE A40 helmet for the first time the protective films must be removed from the Front Spatter Lens (drawing 1). The films cannot be removed from the Front Spatter Lens with the Lens in place. Please follow the instructions below to remove the Spatter Lens.

Inserting and removing a new protection lens:
To insert the new outer protection ➃ lens the filter must be removed by unscrewing the two retaining screws ➇ from the inside of the helmet ➀. The old protection lens can then be removed and the new lens inserted followed by the light seal cradle ➅, ADF ➆, inner protection lens ➄ and then the ADF retaining frame ➇ and finally replace the two retaining screws (see drawing 2).

Range of application
The SAVAGE A40 welding helmets can be used for the fol-lowing applications:
• Electrode
• MIG
• Mag
• TIG (>=5A)
They are not suitable for use with laser systems and oxy-acetylene (gas welding) applications. The welding filter must not be used for any other purpose other than welding. They should never be used as sunglasses when driving as this could lead to incorrect identification of the color of traffic light.
The welding filters operate well under extreme low lighting and very strong sunlight.
Operation
Adjustment of headgear:
SAVAGE A40 welding helmets are equipped with a comfort-able headgear that can be adjusted in three different ways.

Servicing and maintenance
SAVAGE A40 welding helmets should not be dropped. Do not place heavy objects or tools (hammers etc.) on or inside the helmet so as not to damage the electro-optical filter.
Always make sure that the helmet is equipped with an outside and inner lens (in front of the filter on the outside and on the inside behind the filter). These protection lenses must be replaced if damaged in any way (see overleaf). They are consumables and should checked and replaced regularly.
The filter should be cleaned when changing the protection lenses.
This can be done by any of the following ways:
• Wipe with a clean, dry piece of cloth.
• Clean with a piece of smooth cloth moistened with pure alcohol.
• Clean with a commercial disinfectant
• If used properly the welding filter requires no further maintenance during its lifetime.
If a filter should be replaced on a SAVAGE A40 welding helmet, use exclusively certified products (DIN-CE marks). We recommend the use of ESAB welding filters in all SAVAGE A40 helmets.
The filter itself contains no special or toxic products and can be disposed of in the same way as other electronic devices.
Performance
To allow the filter to switch both sensors on the front of the filter must not be covered, the filter then switches to the dark state when the arc strikes and to the clear state when it stops. The filter switches to the light state when the welding arc stops.
How to set the shade
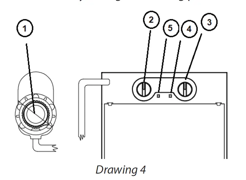
On the SAVAGE A40 set the shade by turning the knob on the outside of the helmet (pos. 1).
The most suitable setting can be found on the Chart in this brochure or chosen using your experience. This setting can also be made manually during the welding process.

Turning clockwise =darker
Turning anti clockwise = clearer
Switching Grind mode / Welding mode
On the SAVAGE A40 exchange the Welding and Grind mode by pressing the knob on the shade knob outside of the helmet.
On Welding mode, by pressing the knob and hold for 2 seconds. The mode will be changed from Welding to Grind. The green Grind light will flash (pos. 4)
On Grind mode, By Pressing the knob and hold for 2 sec-onds. The mode will be changed from Grind to Welding. The green Grind light will stop flashing (pos. 4)
How to replace battery (For
Replaceable Battery Version Only)
When the LED (pos. 5) on ADF turns red, the battery needs replacement. Follow instructions below. Otherwise, ADF won’t work correct and can cause harm to the operator.
• Remove battery cover from battery case (pos. 1)
• Take battery out and fit a new battery inside battery case. Note: “+” is on top. (pos. 2)
• Assemble battery cover onto battery case.

Before using the filter:
We recommend the following adjustments to be made:
- Turn the sensitivity knob clockwise to the max. setting (pos. 2). Depending upon the surrounding light the filter will switch to the dark state or will flicker (if the surrounding light is very low, the filter may not switch to the dark state).
- Turn back the sensitivity knob (pos. 2) until the filter switches to the clear state.
- The filter is now set to its optimum sensitivity (Accord-ing to the surrounding light conditions).
Range of use for the SAVAGE A40
All arc welding applications with the exception of TIG<5A. Available shade – 9-13 (pos. 1).
Setting the delay
The clearing delay can be adjusted manually by turning the delay knob (pos. 3) between a fast clear (0.1 sec) fully anti-clockwise and a slow clear (1.0 sec) fully clockwise.
Spare parts SAVAGE A40
Items without a part number are not available as spare parts.
| No. | Part No. | Description |
| 1 | 0700000480 | SAVAGE A40 9-13 Black |
| 1 | 0700000481 | SAVAGE A40 9-13 Yellow |
| 1 | 0700000490* | SAVAGE A40 9-13 Replaceable Battery Black |
| 1 | 0700000491* | SAVAGE A40 9-13 Replaceable Battery Yellow |
| 2 | 0700000483 | ESAB Head Gear |
| 3 | 0700000414 | Sweat band |
| 4 | 0700000010 | Front cover lens |
| 5 | 0700000482 | Inside cover lens |
| 6 | 0700000418 | ADF cradle |
| 7 | 0700000419 | Lens retainer with screws |
Filter Testing:
Before use of the welding helmet the auto darkening filter (ADF) and helmet needs to be checked according to the following procedure:
1. Check outer protection lens is clean and can be seen through.
2. Ensure the sensors are not covered in any way and are clean.
Once these checks have been carried out you can now test the ADF.
Turn the outside shade knob to the darkest setting (shade 13) and set the sensitivity to the highest setting (turning clockwise). Now point the sensor towards a light source such as an overhead light, lamp etc. The ADF should now switch to the dark state (please note if the ADF is stored in a dark area away from light it may need to be left out in strong light for 20 minutes to absorb power, after 20 min-utes if the ADF does still not react then there is an issue with the sensor). Once the filter is in the dark state you can check the shade variation is functioning correctly, simply turn the shade knob anti-clockwise. By doing this, the shade should get lighter. If the shade does not appear to alter then you have an issue with the shade variation.
To test the delay function, set the delay to the maximum setting. Now move the filter sensor away from the light source it should take 1 second to return to the light state, now after the delay setting to the minimum and repeat the process, the time taken to return to the clear state should be 0.1 second. If the ADF does not react in this way, then there is an issue with the delay function.
Testing the sensitivity. Set the sensitivity to minimum setting now point the ADF at the light source you used to test the other functions (if filter switches to dark state move away until the filter returns to clear state) slowly turn the sensitivity until the filter switches to dark state (if it does not then move closer to the light until it reacts) if the ADF does not react then there is an issue with the light sensors.
If any of the functions fail during test or in use, then please do not use the ADF and contact your local distributor.
WARNING
The auto-darkening filters fitted in the SAV-AGE A40 helmets are not waterproof and will not work properly if they have been in contact with water.
Welding helmets and filters only resist a certain amount of heat. Please do not place them near naked flames or hot work areas etc.
Operating temperature of electronic filter minus 10º to plus 65º C.
Materials that may get in contact with the wearers skin could cause Allergic reactions to susceptible individuals.
Certification and Control labels
European Conformity mark.
This confirms that the product fulfils the requirements of the PPE Regulation 2016/425
ADF Marking Explanations:
CE 4/9-13 ESAB 1/1/1/2/379
4 – Light state scale number
9 – Lightest dark state scale number
13 – Darkest state scale number
ESAB – Manufactures identification
1 – Optical class
1 – Diffusion of light class
1 – Variation in luminous transmittance class
2 – Angle of dependence classification
379 – Number of the standard
ESAB AB Lindholmsallén 9
Box 8004 402 77 Gothenborg Sweden Tel: +46 (0) 31 50 90 00
www.esab.com
ESAB AB operates a policy of continuous improvement. We therefore reserve the right to make changes and improvements to any of our products without notice.

















