
User Manual
Welding Helmet
Model: Gt 2000227/201
Introduction
Auto-darkening Welding Helmets are designed to protect the eyes and faces from spark, spatter, and harmful radiation under normal welding conditions.
The auto-darkening filters automatically change from dark to light state when welding arc disappears.
WARNING! ![]()
PLEASE READ THIS MANUAL CAREFULLY BEFORE USING
Product Features
- Dark to clear delay adjustment, Operator can vary the time for the filter to return to clear state.
- Sensitivity adjustable can make the operators more convenient while operating.
- WELDING/GRINDING can be selective
- The helmet utilizes high performance solar cell as power supply and has 1 replaceable 3V lithium batteries as power back-up. And the battery life is raisedto a new limit. Under normal welding conditions, users can expect a battery has a lifetime of more than 5000 hours.
- Variable shade from DIN 5 to 13 is adjusted at the turn of a shade knob.
- The ultra high performance of UV/IR Auto-Darkening filters provide full protection for the user’s eye & face a against UV/IR radiation during the entire welding process, even in the light state. The UV/IR protection level is up to Shade16(DIN) at all times. It makes welders feel comfortable in welding working.
Technical Specifications
| Model | GT20002207/201 |
| Viewing Area | 3.94″ )Q.76″ |
| Cartridge Size | 5″ X4.57″ X0.39″ |
| Light state | DI N4 |
| Dark state | DINS-8/9-13/5-8(Keep on 5-8) |
| Switch time | 1/25000 S |
| Sensitivity | Low to High, Stepless adjusted |
| Delay | Fast to Slow, Stepless adjusted |
| Arc sensor | 4 |
| TIG Amps Rated | AC/DC TIG, > 5amps |
| Grind | Yes (DIN4) |
| ADF Self-check | Yes (TEST Button) |
| Low Batt | Yes (Red LED) |
| Power supply | Solar cells & Rechargeable Lithium battery (1 xLi2450) |
| On/Off | Fully Automatic |
| UV/IR Protection | Up to DIN 16 at all time |
| Operate Tem. | -5°C–+55°C (23°F 131 °F) |
| Store Tern. | -20°c–+70°C (-4 °F 158°F ) |
| Weight | 550g±15g |
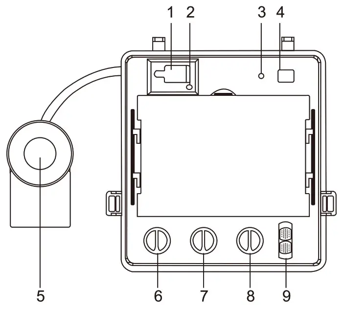
Know The Welding Filter

- Charging Interface
- Charging Indicator
- Low Battery Indicator
- ADF Self-check Button
- Weld/Gind Switch button
- Lens Delay Control
- Sensitivity Control
- Shade Control
- 5-8/9-13 Switch
OPERATING INSTRUCTION
- Before Welding 1.1 Ensure that the internal and external protective films are removed from the lenses.
1.2 Check that the batteries have sufficient power to operate the helmet. The filter cartridge can last for 5,000 working hours powered by the lithium batteries and solar cells. When the battery power is low, the Low Battery LED indicator will light up. The filter cartridge lens may not work correctly. Recharge or Replace the batteries (see Maintenance Battery Charge or Replacement).
1.3 Check that the arc sensors are clean and not blocked by dust or debris.
1.4 Check for headband tightness before each use. 1.5 Inspect all operating parts before use for signs of wear or damage. Any scratched, cracked, or pitted parts should be replaced immediately before using again to avoid severe personal injury.
1.6 Select the shade number you require at the turn of a shade knob (Seeing the Shade Guide Table). Finally, be sure that the shade number is the correct setting for your application.
Shade Guide Table
Note: *SMAW-Shielded Metal Arc Welding.
*MIG(Heavy)-MIG on heavy metals.
*. MIG(Light)-MIG on light alloys.
*TIG GTAW-Gas Turgten Arc (GTAW)(T1G).
*SAM Shielded Semi-Automatic Arc Welding.
*PAC-Plasma Arc Cutting - Sensitivity The sensitivity control is set according to the welding process and ambient light.
2.1 Low Setting- suitable for high amperage welding and welding in areas with high levels of natural sunlight.
2.2 Medium Setting – suitable for most indoors and outdoors welding.
2.3 High Setting- suitable for low amperage welding and welding in areas with low light conditions, especially for low amperage argon-arc welding. - Self-Check
3.1 Set the filter shading number anywhere between DIN9-13.
3.2 Press the TEST button to see if it switches to the dark state.
3.3 Release the Test button to check that the filter returns to the bright state. - Grinding Mode The welding helmet can also be used to protect the face during grinding. Push the Grind button, Switching to Grind mode will prevent the filter cartridge from darkening when bright sparks are created.
- Delay Time Delay time refers to the time the cartridge filter is set to change from the dark to bright state after welding stops. The delay can be adjusted up to a one second delay.
5.1 The minimum delay is set between 0.1 to 0.2 seconds, suitable for spot or short welds.
5.2 The maximum delay time is set between 0.85 to 1.0 second, suitable for heavy current welding or when visible light is produced.
5.3 Selections between minimum and maximum are suitable to most indoor and outdoor welding operations.
Adjust the headband
6.1 Adjusts headband for proper depth on the head to ensure correct balance and stability. (See No.1).
6.2 Adjusts the distance between the face and the lens.To adjust, Press down the looker to unlock, adjust the positioning looker moved to another location slot,forward or backward. (Both sides must be equally positioned for proper vision, (See No.2)
6.3 Turn the adjusting knob located on the back of the headband left or right to desired tightness.(See No.3)
6.4 Shift the segmental plate with different positioning hole to adjust the window angle for clear view. (See No.4)
Numbers on the adjustment slides indicate set position so both sides can be adjusted equally.
Recharge or Replace battery
When the battery power is low, the Low Battery LED indicator will light up. The filter cartridge lens may not work correctly. First please Recharge the battery. If the charge function not working or battery is dead, Replace the batteries (see Maintenance Battery Charge or Replacement.)
Noted: Toughened mineral filter oculars/ADF shall only be used in conjunction with a suitable backing ocular.
Begin and continue your welding work
After all is ready and finish the test now you can do your welding work.
Maintenance
8.1 Cleaning and disinfection: Clean filters’ surfaces regularly; do not use strang cleaning solutions. Always keep sensors and solar cells clean using a clean lint-free tissue/cloth. You can use of alcohol and cotton to wipe.
8.2 Use neutral detergent to clean the welding shell and headband. Replace outer and inner protection plates periodically.
8.3 Don’t immerse the lens in water or any other liquid. Never use abrasives,sol- vents or oil based cleaners.
8.4 Don’t remove the auto-darkening filter from the helmet. Never try to open the filter.
8.5 when low battery light is on, the filter cartridge lens may not work correctly, please charge it immediately.
—-you can connect to a USB DC power supply via type C wire to get a fast charge.
— you can put it in a sun light to get it charged slowly.
— you can replace the old cell battery CR2450 by a new one to use it immedi-ately, refer to Fig on page. Warning! always make sure the polar connection “+” & “-“; always keep the battery out of reach by children.
SAFETY WARNING
-We recommend a use for a period of 3 years. The duration of use depends on various factors such as use, cleaning storage and maintenance. Frequently inspec-tions and replacement if it is damaged are recommended. -A warning that materials which may come into contact with the wearer’s skin could cause allergic reactions to susceptible individuals -A warning that eye-protectors against high speed particles worn over standard ophthalmic spectacles may transmit impacts, thus creating a hazard to the wearer.
- This Auto-Darkening filter welding helmet is not suitable for laser welding & Oxyacetylene welding.
- Never place this Helmet and Auto-darkening filter on a hot surface.
- Never open or tamper with the Auto-Darkening Flter.
- Before operating, please make sure if the function-setting switch set the suitable location “WELDING”/”GRINDING” or not This Auto-darkening filter welding helmet will not protect against severe impact hazards.
- This helmet will not protect against explosive devices or corrosive liquids.
- Don’t make any modifications to either the filter or helmet, unless specified in this manual. Don’t use replacement parts other than those specified in this manual.
- Unauthorized modifications and replacement parts will void the warranty and expose the operator to the risk of personal injury.
- Should this helmet not darken upon striking an arc, stop welding immediately and contact your supervisor or your dealer.
- Don’t immerse the filter in water.
- Don’t use any solvents on filters’ screen or helmet components.
- Use only at temperatures: -5°C + 55°C (23°F – 131°F)
- Storing temperature: – 20°C – +70°C (-4 °F 158°F )
- . Protect filter from contacting with liquid and dirt.
- Clean filters’ surfaces regularly; do not use strong cleaning solutionsAlways keep sensors and solar cells clean using a clean lint-free tissue/cloth.
- Regularly replace the cracked/scratched/pitted front cover lens.
HAZARD DEFINITIONS
Please familiarize yourself with the hazard notices found in this manual. Severe personal injury could occur if the user fails to follow the aforementioned wamings. And / or fails to follow the operating instructions.
COMMON PROBLEMS AND REMINDING
- Auto-darkening filter does not darken or flickers
1.1 Outer or inner protection plate is soiled or damaged.(To clean or replace the plate.)
1.2 Sensors are soiled.(Fo clean the sensor surface.)
1.3 Welding current is too low.(To press “SENSITIVITY’ select “High’ - Slow response Operating temp is too low (do not use at temperatures below -5°C or 23°F).
- Poor Vision
3.1 Front ,inside cover lens and/or filter lens are soiled (change lens)
3.2 There is insufficient ambient light
3.3 Shade number is incorrectly set (reset the shade number) - Welding Helmet Slips Headband is not adjusted properly (readjust headband)
WARNING!! Operator must stop using the auto-darkening filter welding helmet immediately if the above-mentioned problems cannot be correct-ed.Contact the dealer.
PRODUCT WARRANTY
- The manufacture’s sole obligation under this warranty is limited to making replacement of repairs, or refund of the purchase price for the products with defects.
- This warranty does not cover product malfunctions or damages resulting from products tampering, misuse or abuse. Please follow the operating instructions carefully to maintain this warranty .Failure to do so NMI void the warranty. The manufacturer shall also not be hold liable for any indirect or consequential damag-es arising out of the use of this product.
REPLACING THE PROTECTIVE LENS & PARTS LIST
- Protective lenses list
| F ont protective lens | Inner protective lens | ||
| Model code | Dimensions: | Model code | Dimensions: |
| IFC-1 | 210x125x1.8mm | IC-6 | 104X73mm |
Parts list
One model shown as below. The other models are based on the actual product.

| (1) Front protect lens (2) Protect lens looker L (3) Screw (4) Shell (welding mask) (5) ADF (6) Plastic screw bolt (7) Angle set plate (8) Distance setter L (9) Shim (10) Plastic nut (11) Headband (12) Soft mat | (13) Adjusting seat (14) Adjust locker (15) Adjusting cover (16) Adjust nut (17) Protect lens looker R (18) Inner protect lens (19) Sweet band (20) Distance setter R |
REPLACING THE BATTERY
To Recharge the batteries, take off the cover of charging connector, connect the charger(make sure input voltage is 5V or 9V, input current is 2A) Unplug the charger when the charging indicator changes from red to green.- To replace the battery, When the battery not able to recharge anymore,remove the Lithium battery from the holder and remove the old battery. Replace with Li2450 lithium battengsame as type of old battery). Be sure Positive ( + ) side of battery faces up{toward inside of helmet). Reinstall the cover battery plate. press the TEST button. The lens should flash dark once.
Principal Safety Standards
Safety in Welding, Cutting, and Allied Processes, ANSI Standard Z49.1, is available as a free download from the American Welding Society at http://www.aws.org Safe
Practice For Occupational and Educational Eye And Face Protection, ANSI Standard 287.1, from America National Standards Institute(website: www.ansi.org).
CSA Standard 2943, from Canada Standards Association (website www.csagroup.ore).
(EU) 2016/7425 CE EN166, EN175 & EN379, from DIN CERTCO (website: www.dincertco.tuv.com) or from ECS GmbH (website: www.ecs-eyesafe.de).
Number of the standard: EN 379, EN 175, EN 166
The significance of the marking
The standard EN 379 of marking on ADF: 4/5-8//9-13 JA 1/1/1/1/379
Explanation: 4=light state, 5-8/9-13=adjustable dark states, JA=manufacturer identification, 1=optical class, 1=diffusion of light class, 1=homogeneity class,
1=angle dependence class, 379=testing standard.
The standard EN 175 of marking on helmet shell: JA EN175 BCE
Explanation: JA=manufacturer identification, EN175=testing standard, B=Mechanical strength (128m/s) CE
The standard EN 166 of marking on protective cover lens: JA 1 F CE
Explanation: JA= manufacturer identification, 1=optical class, F=mechanical Strength 45 m/s
– Ifthe helmet has F and the front lens B only the weakest marking F is valid for the hole product
ENVIRONMENTAL PROTECTION
To protect our environment, please recycle your products and components when in the end of their life.
Linkzone Technology Co., Limited
Room 510, 5/F, Wayson Commercial Building,
28 Connaught Road West, Sheung Wan, Hong Kong
0086-189 2466 8885
[email protected]
Note: *SMAW-Shielded Metal Arc Welding.
To Recharge the batteries, take off the cover of charging connector, connect the charger(make sure input voltage is 5V or 9V, input current is 2A) Unplug the charger when the charging indicator changes from red to green.

















