GYS Alien+ True Color XXL Automatic Welding Helmet User Manual


![]()
V1 – 22/06/2021 – Ref. 068698 Find more languages of user manuals on our website www.gys.fr
SAFETY INSTRUCTIONS
This user’s manual includes information on the operation of the equipment and the precautions to be followed for the user’s safety. Please read it carefully before first use and keep it in a safe place for future reference. These instructions must be read and understood before any operation. Any modification or maintenance not indicated in the manual must not be undertaken. Any damage to persons or property caused by use not in accordance with the instructions in this manual shall not be borne by the manufacturer. In the event of a problem or uncertainty, consult a qualified person to handle the product correctly.
Use the welding helmet only for eye and face protection against harmful ultra violet and infrared radiation, sparks and spatter from welding.
Never look directly at welding arcs without eye protection when the arc is initiated. Failure to do so may cause painful inflammation of the cornea and potentially irreversible damage to the lens which may result in cataracts.
Look out! Danger of injury if a person wearing a mask and goggles is hit by particles thrown at high speed.
The mask, filter and shields do not guarantee unlimited protection against major shocks or impacts, explosive mechanisms or corrosive liquids. Avoid welding or cutting in these severe environments.
Do not weld or cut above his head with this mask.
Move his face away from the smoky area. Use forced ventilation or local exhaust to remove smoke.
Oxyacetylene, laser or gas welding and cutting is not permitted with this mask.
Before each use :
- Carefully inspect the mask and its UV/IR filter.
- Replace worn or damaged parts immediately.
- Replace filter lenses or face shields if they are cracked or scratched to prevent damage to the user’s eyes.
The headband can potentially cause allergies in sensitive individuals.
The operating temperatures of the optoelectronic filter are from -5°C to +55°C.
The opto-electronic filter in the mask is not waterproof and will not function properly if it has been in contact with water.
The welding mask must be moved carefully to avoid damage to the filter, guards and/or protective shell.
Maintenance :
- Do not place heavy objects or tools on or in the facepiece to avoid damage to the filter or face shields. Mask storage temperatures range from -10°C to +60°C.
- Clean the Optoelectronic Filter with a clean cotton or special lens cloth.
- Regularly clean and change the guard screens.
- Clean the inside and outside of the mask with a neutral detergent-disinfectant. Do not use solvents.
- Make sure that the sensors and cell are not obstructed by dust or debris.
- We recommend using the mask and visors for 5 years. The length of use depends on various factors such as type of use, cleaning, storage and maintenance.
BEFORE WELDING
- Check that the welding helmet is in good condition and headband adjustment.
- Check whether the front cover lens, the front frame and filter are inserted and fixed in place. In case of anomalie, please proceed to its reconditionning.
- Make sure that the 2 sensors (4) and the cell (2) are not obstructed by dust or debris.
- Make sure that the protection films on both screens are removed.
- Check that the protection level matches your welding processes. Please refer to the following chart to help your choice (cf. welding process board)
OPERATION
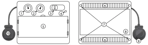
The ALIEN+ TRUE COLOR XXL auto-darkening welding helmet switches from light to dark state when a welding arc is struck. The auto-darkening welding helmet switches back to the light state when the arc stops.

- Sensitivity control knob
- Delay time control knob
- Shade adjustment 5-9/9-13
- Low battery alarm
- LCD protection plate
- Solar cell
- Sensors
- Filter
- Potentionmeter «Welding-Grinding»
- Pile lithium 3V (x2) CR2032
PRECAUTIONS
- The welding helmet is suitable for use with virtually all welding processes except Oxy-Acetylene welding, laser welding and gas welding.
- Standard protective screens must be installed on both inside and outside surfaces of the module. Failure to use protective screens may constitute a safety hazard or result in irreparable damage to the module.

HEADBAND ADJUSTMENT
The ALIEN+ TRUE COLOR XXL is equipped with a headband which can be adjsuted in multiple ways to suit the welder: width, height (1), longitudinal inclination (3) and adjustment (2).

MAINTENANCE
- Expiration date : No expiration date for this product but the state of the ALIEN+ TRUE COLOR XXL welding helmet must be checked before each use.
- The welding helmet must not fall down.
- Do not use any tools or other sharp objects to remove any components of filter or helmet. Doing so may damage filter or helmet preventing proper function, possibly causing injury or cancellation of the warranty.
REPLACING THE EXTERNAL PROTECTIVE SCREEN

The outer protection screen (2) can be removed by placing a finger under the screen on (A) of the helmet (1). When changing the screen, make sure that the protective film (3) has been removed. This film must be removed only when the protection screen is in position in the helmet.
REPLACING THE INTERNAL PROTECTIVE SCREEN (10)

The internal protection screen (10) is removable by sliding it down by placing a finger on (A). When changing the screen, make sure you remove the protective screen (11)
TROUBLESHOOTING

SAFETY LABEL
This label is displayed inside the welding helmet. It is important that the user understands the safety symbols signification. The list numbers match image numbers.

Legend :
A. Warning ! Beware ! There are possible dangers as per the different symbols.
- Read the instructions carefully before using the product or before welding.
- Do not remove the warning label and do not paint on it.
- Follow settings instructions and maintenance of the filter, the protective screens, the headband and the hood.
- Inspect the helmet and the UV/IR filter carefully. Replace damaged or worn parts immediately. Cracked, scratched, filter glasses and protective screens decrease protection. Replace them immediately to avoid damaging your eyes.
- Warning, if the UV/IR filter does not tint whilst welding or cutting, stop immediately and consult the user manual.
- Arc radiation can cause eyes and skin burns. 6.1. Use a welding helmet with a good filtration or opacity. Wear complete protective clothing.. 6.2. The helmet, filter and protective screen do not gurantee unlimited protection against, shocks, impacts, explosions or corrosive liquid. Avoid welding or cutting in rough envirionment. 6.3. Do not weld or cut above your head with this helmet.
- Keep your head away from the smoke-filled area. Use a forced ventilation or a local aspiration system to eliminate smoke.
- The oxyacetylene welding-cutting, laser or gas is not authorised with this helmet.
FILTER MARKING
Each optoelectronic filter is stamped in accordance with standard EN 379

GUARD SCREENS MARKING
Each guard screen is stamped in accordance with EN 166 standard

WELDING HELMET MARKING
Each welding helmet is stamped in accordance with EN 175 standard

WELDING PROCESS

PARTS LIST

WARRANTY
The warranty covers faulty workmanship for 2 years from the date of purchase (parts and labour).
The warranty does not cover:
- Transit damage.
- Presence of scrapers: work without protective glass (guard screen)
- Damages due to misuse (dropping of equipment, disassembling).
- broken glasses In case of failure, return the unit to your distributor together with:
- The proof of purchase (receipt etc …)
- A description of the fault reported
DECLARATION OF CONFORMITY
UK The welding helmet ALIEN+ TRUE COLOR XXL complies with (UE) 2016/425. This confirmity is established in compliance with EN 175 : 1997, EN 166 : 2002 and EN 379+A1 : 2009.
Filter model : WH811
Model of the helmet : WH9000B
UKCA The welding helmet ALIEN+ TRUE COLOR XXL complies with (UK) 2016/425. This confirmity is established in compliance with BS EN 175 : 1997, BS EN 166 : 2002 and BS EN 379+A1 : 2009.
Filter model : WH811
Model of the helmet : WH9000B
NOTIFIED BODIES / ORGANISATIONS


- Device(s) compliant with European directives. The certificate of compliance is available on our website.

- This hardware is subject to waste collection according to the European directives 2002/96/UE. Do not throw out in a domestic bin !

- Material complies with British requirements. The British Declaration of Conformity is available on our website (see cover page).

- This product should be recycled appropriately

GYS SAS
1, rue de la Croix des Landes
CS 54159
53941 SAINT-BERTHEVIN
Cedex – FRANCE


















