Omnisense 93272OM Joystick Controller User Guide
What’s in the box
- Joystick Controller

- Mounting Decal

- 6.56ft (2m) Cable

- 2 X (M5 X 40) studs, washers, spring washers and nuts

Installation
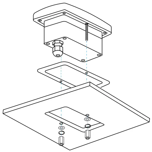
The Joystick Controller must be panel mounted. When correctly installed, the top side (front) of the Joystick Controller is waterproof and suitable for open deck installation.
When mounting the Joystick Controller, select a location that provides the best ergonomics for controller operation. The housing of the Joystick Controller is designed to provide a stable grip while your thumb or finger moves the knob.
- The Joystick Controller has a flush back that can be easily fitted onto any flat surface. Select a suitable location close to your Multi-function Display (MFD)/Monitor.
- Using the Joystick Controller Mounting Decal provided, mark and cut out the space to mount the Joystick Controller.
- Drill the 0.24in (6mm) holes required for attaching the Joystick Controller.
- Mount the Joystick Controller and use the bolts provided to secure it in place.

Connecting the cable
Connect one end of the Joystick Controller Cable to the [Controller] port in the Junction Box and the other end to the Joystick Controller.
Connecting the Joystick Controller
To connect your Joystick Controller, launch the User Interface (UI). Proceed to Settings > Controller and select [Scan]. The system will automatically scan for a Joystick Controller connected to the Junction Box.
Once the Joystick Controller is found, the serial number will be displayed. Select + to connect the Joystick Controller and it will be ready for use.
If the system is unable to locate the Joystick Controller, perform a factory reset to the Joystick Controller by holding down the
and
button simultaneously for 10 seconds. Upon completing the reset, select + again to connect the Joystick Controller.
Display controls are accessible by pressing the respective buttons on the Joystick Controller. To access a setting/function, press the button marked with the corresponding icon. Use the joystick to select and cycle through the options available. To wake the camera from Standby mode, press and hold the Power/Standby button.
Joystick Controller icon description
Below is the description of each icon for further understanding.
| Joystick |
| |
| Enter |
| |
![]() | Function |
|
![]() | Menu |
|
![]() | Color Palette |
|
![]() | Zoom |
|
![]() | Radar Track |
|
![]() | Sensor Select | Press to toggle between Day and Thermal camera (Not available for Ulysses Micro) |
![]() | Power/Standby |
|
Accessing more information
For more information, please refer to the user manual that has been shipped with your camera or visit omnisense-systems.com to download the latest user manual.
Customer Support
Singapore
8 Penjuru Lane,
Singapore 609189
T: +65 6844 3191
United States
1881 West State Road 84,
Bldg. 1 Unit 102, Fort Lauderdale,
Florida 33315, United States
T: +1 (954) 316-6230































