Barrette Outdoor Living Mixed Materials Infill Boards

Safety Instruction
WARNING:
- Improper installation of this product can result in personal injury. Always wear safety goggles when cutting, drilling and assembling the product.
- Incorrect installation may cause harm to the product or individual.
- Check local building codes to determine pool-safe fencing options.
NOTICE:
- DO NOT attempt to assemble the kit if parts are missing or damaged.
- DO NOT return the product to the store. For assistance or replacement parts call: 1-877-265-2220.
BEFORE YOU BEGIN
Check your local zoning laws.
- Local zoning laws and Home Owners Associations may regulate the location, style and height of your fence or even require a permit signoff beforehand.
- Check local codes for frost line depth and regulations.
- Additional products and assembly may be required to meet wind code requirements.
Notice of acceptance (NOA) can be found at www.miamidade.gov/building/pc-search_app.asp
Contact your local utilities companies.
- You must have the utility companies clearly mark your property for electrical, gas or water lines to avoid puncturing any unseen underground utilities.
TOOLS NEEDED
| Level | |
| Tape Measure | |
| Safety Glasses | |
| Drill | |
| 1/8″ Drill Bit | |
| Ratchet and Socket (or) Nut Driver | |
| PVC Infill Boards | |
| Flat Black Paint (If cutting rails) |
Component list
| QTY | Description |
| 1 | Top Rail |
| 1 | Bottom Rail |
| 2 | Post Channels |


To obtain and review a copy of the warranty please visit barretteoutdoorliving.ca. You may also contact us at 877-362-3419 or email [email protected]
Post Channel Installation
- Determine the space between the posts by using the length of the top and bottom rail + “x”. The top and bottom rail can be cut to make a shorter section if desired (Fig. 1).
NOTE:
When installing the posts, ensure that the post is a minimum of 75″ above the ground.
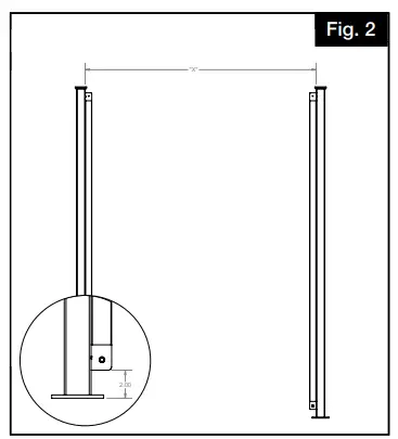
- Place the post channel as shown leaving 2” between the bottom rail and the ground. If using a surface mount installation, measure 2″ from the surface plate. Center the channel on the post.
Using the post channel as a guide, mark the screw holes. Set post channel aside and pre-drill the holes using a 1/8″ drill bit. Only drill holes through one wall of the post (Fig. 2).
NOTE:
Post channel can be installed on posts while laying flat, if more convenient.
- Using the screws provided, insert four hex head screws and connect the post channel to the post.
- Install bottom rail so that the post channel fits inside the bottom rail (Fig. 3).
NOTE:
Bottom rail has weep holes drilled into it.

- Place 2″ spacer blocks at the middle and both ends of the bottom rail for stability (Fig. 4).

- Slide one PVC infill board down the post channel (groove side down) so that the board rests on the bottom channel.
- Install one hex head screw into the corner through the channel and infill (Fig. 5).

- Repeat on opposite post.
- Install the remaining 11 infill boards down the posts channel until they reach the top of the post channel (Fig. 6).

- Place the top rail over the post channels and infill boards (Fig. 7).

NOTE:
Top rail does not have any weepholes.
- Secure top rail to the post channel with one hex head screw in the corner (Fig. 8). Make sure that the top of the post channel is aligned with the surface of the top rail.

- Repeat step ten for the other post channel
- Remove spacer blocks
CUTBACK INSTRUCTIONS
Rail Cutback Instructions
- Attached post channels to posts . (See steps 1-3).
- Measure distance between posts (measurement = x ) (Fig. 9).

- Take the distance between posts and subtract ¹/8 of an inch (X-¹/8″). Measure (X-¹/8″) and make your measurement on the rail.
- While wearing safety glasses, use a blade rated for steel and cut the rail to the desired length.

- Clean and repaint the cut edge with a flat black metal paint to prevent rust.
Infill Cutback Instructions
- Measure distance between posts (X) (Fig. 10)

- Take the distance between posts and subtract 1/2 of an inch (X-1/2″).
- Measure (X-1/2″) and mark your measurement on the infill boards and cut.

Customer Support
Read all instructions prior to installing product.
Refer to manufacturers safety instructions when operating any tools.
To register your product, please visit: barretteoutdoorliving.com



























