Barrette BOL-WEB REV 7.22 Pergola Side Wall Kit

Installation Instructions
WARNING:
- Improper installation of this product can result in personal injury. Always wear safety goggles when assembling the product.
- Incorrect installation may cause harm to the product or individual.
NOTICE:
- DO NOT attempt to assemble the kit if parts are missing or damaged.
- DO NOT return the product to the store, for assistance or replacement parts call: 1-877-265-2220
BEFORE YOU BEGIN:
Check your local zoning laws.
- Local zoning laws and Home Owners Associations may regulate the location, style and height of your product or even require a permit signoff beforehand.
NOTE: - Side wall is to be installed on corresponding
Pergola assembly (sold separately) - Side wall can only be installed on opposing shorter sides of Pergola assembly
TOOLS/MATERIALS NEEDED:
Drill
Level
Pencil
Tape Measure
Rubber Mallet
SOLD SEPARATELY:
(4) 2×4 Decorative screen panels (for infill)
8×8 Pergola
Pergola Kit Components:
QTY | Description |
2 | U-Channels – “A” |
1 | H-Channel for mid-rail – “B” |
2 | Vertical H-Channels (short) – “C |
4 | Large Side Wall Brackets – “D” |
2 | Small Side Wall Brackets – “E” |
12 | Large post attachment screws – “F” |
6 | Small Bracket attachment screws – “G” |
1 | Hex Head driver bit – “H” |


To obtain and review a copy of the warranty please visit barretteoutdoorliving.com
You may also contact us at 1-877-265-2220 or email [email protected].
Assembly Instructions
- Determine desired height of assembly on post.
NOTE:
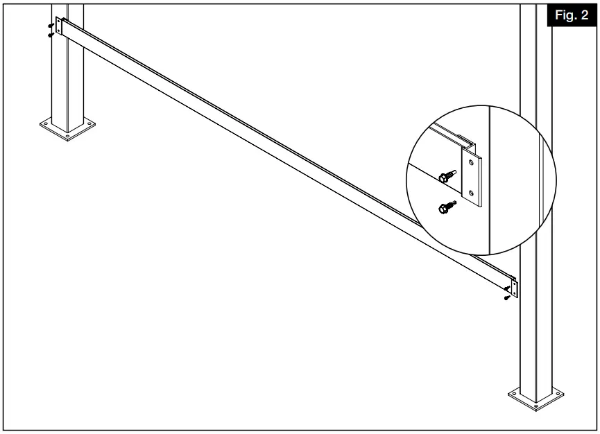
The side wall can only be installed on shorter side(s) of the pergola. - Attach large side brackets to either side of U-channel for bottom rail using small attachment screws (one per side). Opening of rail should be facing up (Fig. 1).

- Install bottom U-channel to both post faces using the large attachment screws (two per side) (Fig. 2).

- Insert (2) Decorative screen panels into bottom rail. Insert one vertical H-channel in between panels (Figs. 3 & 4).


- Repeat step 2 for mid-rail by attaching small side brackets to either side of H-channel for mid-rail using small attachment screws (one per side).
- Install H-channel over decorative screen panels & attach to face of post using the large attachment screws (Figs. 5 & 6)


- Repeat step 4 for additional two panels & vertical rail (Fig. 7 & 8)


- Attach large side brackets to either side of U-channel for top rail using small attachment screws (one per side). Opening of rail should be facing down.
- Install top u-channel to both post faces using the large attachment screws (two per side) (Figs. 9 & 10).


Customer Support
Barrette Outdoor Living
7830 Freeway Circle, Middleburg Heights, OH 44130
barretteoutdoorliving.com • (877) 265-2220

























