Johan Lewis Duhrer Display Unit

Thank you for purchasing the Duhrer Display Unit. Please read the instructions and warnings carefully before use, to ensure safe and satisfactory operation of this product.
At John Lewis, we are committed to making great products possible.
From our in-house Design Team, to our Buyers, we work together to bring great design to life.
Our expert Product Technologists work collaboratively with our buyers and suppliers to assure the legality, safety and quality of the product we sell.
We are all committed to designing and developing products to the highest industry standards.
We hope you are happy with your product and welcome any feedback or comments you may have.
The John Lewis Team
Tools Required
Important safety information
Warnings
- The product should only be used on firm, level ground.
- Keep small parts out of reach of children.
- Ensure the product is fully assembled as illustrated before use.
Do’s
- Check the pack and make sure you have all the parts listed.
- Check all screws or bolts are tightened and inspect regularly.
- Make sure the legs remain in contact with the ground at all times.
Don’ts
- Do not over tighten screws or bolts.
- Do not stand on the product.
- Don not use power tools to construct as overtightening and panel failure may occur.

Your display unit
| Ref | Description | Dimensions | Qty |
| 1 | Top Panel | H2 W78 D28cm | 1 |
| 2 | Small Shelf Top | H2 W78 D28cm | 1 |
| 3 | Small Shelf Bottom | H2 W78 D28cm | 1 |
| 4 | Large Shelf | H2 W78 D33cm | 1 |
| 5 | Base Panel | H2 W78 D33cm | 1 |
| 6 | Middle Rail | H6 W78 D3cm | 1 |
| 7 | Bottom Rail | H6 W78 D3cm | 1 |
| 8 | L/H Side Frame | H180 W3 D31cm | 1 |
| 9 | R/H Side Frame | H180 W3 D31cm | 1 |
Internal dimensions
Stock number: 862 73301
Display unit overall size: H180 W83 D33cm
Small shelf size: H2 W78 D28cm
Large shelf size: H2 W78 D33cm
Fixtures and fittings



Product assembly
Step 1
Parts, fittings and tools
Step 2
Step 3

Step 4

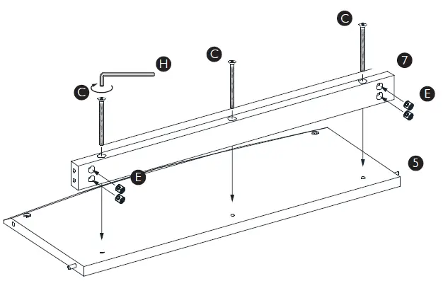
Step 5

Step 6

Final Assembly
- Place your product in the final position. Loosen the screws on the metal brackets just enough so that the slotted bracket can be extended to meet the wall.
- Then re-secure the screws.
- Mark the wall for drilling through the hole in the short face of the bracket.
Then remove the unit from the wall so that the marked holes can be drilled.
Ensure you use an appropriate fixing type for your wall (see page 9). Then return the unit to position.
- Secure the unit to the wall fixings with own screws through the brackets.
- Finally add the extra securing screws to the holes in the long faces of the brackets.
Warning: Serious or fatal crushing injuries can occur from furniture tipping over. To prevent this furniture tipping over it must be permanently fixed to the wall.
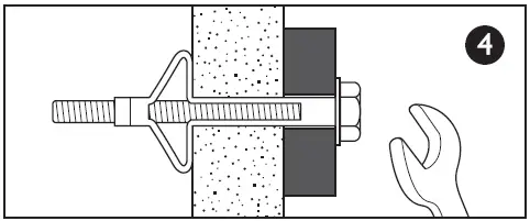
A guide to wall mounting and fixings
Warning:
Serious or fatal crushing injuries can occur from furniture tipping over.
To prevent this furniture from tipping over it must be permanently fixed to the wall.
Wall fixing screws are not included, since different wall materials require different types of screws / fixings. Please ensure you use the correct screws / fixings for your type of walls and seek professional advice if you are not sure.
Failure of the product due to incorrect fixings is the responsibility of the installer.
Important: When drilling into the walls always check that there are no hidden wires or pipes etc.
Types of walls
You can use one of the following types of wall plug if your walls are made of brick, breezeblock, concrete, stone or wood.
- General Purpose wall plug
Generally aerated blocks should not be used to support heavy loads, use a specialist fitting in this case. For light loads, general – purpose wall plugs can be used. - Plasterboard wall plug
For use when attaching light loads on to plasterboard partitions.
- Cavity Fixing wall plug
For use with plasterboard partitions or hollow wooden doors.
- Cavity Fixing – Heavy Duty wall plug
For use when fitting or supporting heavy loads such as shelving, wall cabinets and coat racks.
- Hammer Fixing wall plug
For use with walls stuck with plasterboard. The hammer fixing allows it to be fixed to the wall rather than the plasterboard. Always check the fixing is secure to the retaining wall.
- Shield Anchor wall plug – Heavy loads
For use with heavier loads such as TV and Hi-Fi speakers and satellite dishes etc.
Safety: Periodically check all fittings and wall fixings to ensure they have not come loose and retighten as necessary.
Safety Instructions
General warnings
Never drag furniture when moving it, always lift it. Periodically check all fixings to ensure none have come loose and re-tighten where necessary. Please take care when handling or moving the furniture as careless handling may cause damage or injury. Furniture can be dangerous if incorrectly installed. Assembly should be carried out by a competent person. No liability will be accepted for damage or injury caused by incorrectly installed or assembled furniture.
Specific warnings for heavy items
It is recommended that before moving heavy objects to a new location they are completely dis-assembled to avoid personal injury or damage to the furniture. Please be careful to retain all fittings when doing this. (For fully or partial assemble items).
Storage units over 600mm
Installation shall be carried out exactly according to the manufacturer’s instructions – otherwise a safety risk can occur if incorrectly installed; a warning shall be given to the consumer to notify them of related risks.
WARNING In order to prevent overturning this product must be used with the wall attachment device provided.
Chair specific warnings
Never tilt the chair. Ensure the chair is always placed firmly on the ground. Regularly check leg attachment and retighten screws as necessary. Do not use chair if legs are unstable. Please check fixings and tighten as required.
Stool/Barchair specific warnings
Never tilt the chair. Ensure the chair is always placed firmly on the ground.
Important safety note:
Do Not: Use the stool as a ladder. Climb on the stool. Stand on the foot-rest of the stool, as this could lead to the stool becoming unbalanced and overturning.
Warnings specifically for any product containing glass
If the glass is chipped or broken stop using the product and consult the manufacturer or supplier.
WARNING:
- a) Do not place very hot or very cold items directly on glass surfaces.
- b) Do not sit or stand on glass surfaces.
- c) Do not strike the glass with hard or pointed items, or use the glass as a chopping surface.
- d) Do not use washing powders or any other substances containing abrasives, as these may scratch the glass.
Additional Requirements for tables
Handle with care! A damaged edge or scratched surface can in rare cases cause the glass to fail unexpectedly into many small pieces. Glass is most vulnerable when struck from the side.
Care Instructions
Wood Furniture
Wood displays different grain patterns depending on which way they cut – for example, the ‘medullary ray’ which can appear on oak furniture is a mark of good quality timber – these are just characteristics of the natural beauty of the wood. Some furniture is also deliberately aged and rustic.
Wood veneers also allow distinctive patterns to be created on flat surfaces, such as table tops and drawer fronts by the way the slivers are arranged.
All timber surfaces will change colour and mellow over time. New furniture will initially vary in shade from items that have been previously purchased.
How to care for your wood or painted furniture
Furniture with a hard lacquer, wax polish or painted surface should be dusted with a dry cloth.
Waxed furniture will need to be given a coat of beeswax a couple of times a year to help maintain its luster. Spray polishes are best avoided as they contain silicones which may spoil the furniture’s surface by building up over time.
Make sure all surfaces are protected from heat and liquids by mats and coasters. Wipe up spills immediately and ensure that a mat or pad is placed under paper if you are writing.
Extendable dining tables should be left extended for the first few months to avoid an uneven appearance. Likewise, lamps and ornaments should also be moved regularly.
Our furniture will endure most temperatures in the home but it is best to avoid placing furniture next to heat sources such as radiators or fires. Be particularly careful with solid wood as the lack of humidity caused by central heating can cause damage such as warping.
Glass and acrylic furniture
Use glass cleaner or soapy water for cleaning, do not use anything abrasive as this may damage the surface of the product.
Protect surfaces from scratches and marks by using mats and coasters.
Metal and leather
Protect leather from spillage, sunlight and heat. A slightly damp cloth is the best cleaning agent for both materials. Do not use any abrasive cleaner or harsh detergent as this can damage the surface. Care for the leather with leather conditioner. We recommend applying leather conditioner before using the furniture for the first time.
Avoid spilling or dropping crumbs of food with a high fat content on the surface as this can permanently mark the leather.
Your feedback is very important to us and we would love to hear your comments on your new furniture. Please visit our website to leave a review. Thank you.
Retain these instructions for future reference.
John Lewis Partnership
171 Victoria Street
London SW1E 5NN
johnlewis.com




Generally aerated blocks should not be used to support heavy loads, use a specialist fitting in this case. For light loads, general – purpose wall plugs can be used.


















