
DOWNLOAD
STEP-BY-STEP
INTERACTIVE
ASSEMBLY GUIDE
_________________

CHAR-BROIL BBQ GUIDE APP
English, French, German, Danish


PERFORMANCE
CORE SERIES
4 BURNER
MODEL NUMBER
468502422
468162422




G441-001-080801 • 09/07/2021
INSTALLER/ASSEMBLER:
Leave this manual with consumer.
CONSUMER:
Keep this manual for future reference.
Questions:
If you have questions during assembly or use of this appliance contact your local dealer.
DANGER | ||
| If you smell gas: 1. Shut off gas to the appliance. 2. Extinguish any open flames. 3. Open lid. 4. If odor continues, keep away from the appliance and immediately call your gas supplier or your fire department. | ||
WARNING | ||
| 1. Do not store or use petrol or other flammable liquids in the vicinity of this or any other appliance. 2. A gas cylinder not connected for use shall not be stored in the vicinity of this or any other appliance. | ||
CAUTION | ||
Grease Fires
| ||
WARNING | ||
For Safe Use of Your Appliance and to Avoid Serious Injury:
| ||
Safety Tips
- Before opening gas cylinder valve, check the regulator for tightness.
- When appliance is not in use, turn off all control knobs and gas.
- Use long-handled barbecue utensils and oven mitts to avoid burns and splatters. Use protective gloves when handling hot components.
- Maximum load for hot plate, if equipped, and side shelf is 4.5 Kg. Cooking vessel minimum dia 200mm and maximum dia. 260 mm. NOTE: Your barbecue may NOT be equipped with a Hot plate!
- The grease cup (if equipped) must be inserted into appliance and emptied after each use. Do not remove grease cup until appliance has completely cooled.
- Be very careful when you open the lid, since hot steam may escape.
- Be very careful when children, the elderly, or pets are nearby.
- If you notice grease or other hot material dripping from appliance onto valve, hose or regulator, turn off gas supply at once. Determine the cause, correct it, then clean and inspect valve, hose, and regulator before continuing. Perform a leak test.
- Do not store objects or materials inside the appliance cart enclosure that would block the flow of combustion air to the underside of either the control panel or the firebox bowl.
- DO NOT disconnect or change gas container within 3m of an open flame or other ignition source.
Cylinder Placement
Cylinders placed in the appliance shall have a maximum diameter of 340mm and maximum height, including regulator, of 580mm. Larger cylinders are to be placed under side shelf or behind the barbecue only. Cylinders placed on the ground shall not be placed under the hot plate.
Regulator Requirements
A regulator must be used with this appliance. Use only gas regulator supplied with your barbeque. If a regulator is not supplied then use only regulator certified according to EN16129 (Flow rate max. 1.5 kg/h) and approved for your country and gas specified in Technical Data.
Hose Requirements
Use only approved hose which is certified to appropriate EN standard and does not exceed 1.5m length. For Finland, the hose length shall not exceed 1.2m.
Before each use, check to see if hoses are cut or worn. Make sure hose is not kinked. Replace damaged hoses before using appliance. Replace hose as required by national requirements.
Ignitor Lighting
- Do not lean over barbecue while lighting.
- Turn gas burner control valves to
(off). - Open lid during lighting or re-lighting.
- Turn ON gas at LP cylinder.
- To ignite, push and turn burner knob to
HIGH.
Immediately, push and hold ELECTRONIC IGNITOR button until the burner lights. - If ignition does NOT occur in 5 seconds, turn the burner controls off
, wait 5 minutes and repeat the lighting procedure. - Repeat steps 4 and 5 to light other main burners.
WARNING | ||
| ||
CAUTION | ||
| If ignition does NOT occur in 5 seconds, turn the burner controls | ||
Match-Lighting
- Do not lean over barbecue while lighting.
- Turn gas burner control valves to
(off). - Open lid during lighting or re-lighting.
- Turn ON gas at LP cylinder.
- Place match into match holder (hanging from side panel of barbecue). Light match; then light burner by placing match through the match light hole on side of barbecue. Immediately push in and turn burner knob to the
HIGH position. Be sure burner lights and stays lit. - Light adjacent burners in sequence by pushing knobs in and turning to the HIGH position.

Leak Testing Valves, Hose and Regulator
Leak test before first use, at least once a year, and every time the cylinder is changed or disconnected.
- Turn all appliance control knobs to
. - Be sure regulator is tightly connected to gas cylinder.
- Turn on Gas. If you hear a rushing sound, turn gas off immediately. There is a major leak at the connection. Correct before proceeding.
- Brush soapy solution (mixture of half soap and half water) onto hose connections.
- If growing bubbles appear, there is a leak. Turn off gas at cylinder immediately and check tightness of connections. If leak cannot be stopped do not try to repair. Call for replacement parts.
- Always turn off gas at cylinder after performing leak test.
IF APPLIANCE FAILS TO LIGHT
- Make sure gas is turned on at cylinder.
- Make sure there is gas in the cylinder.
- Does the ignitor make a sparking noise?
If yes check for spark at burner.
If no spark check for damaged or loose wires. - If wires are OK check for cracked or broken electrode, replace if needed.
- If wire or electrodes are covered by cooking residue, clean electrode tip with alcohol wipe if needed.
- If needed replace wires.
- If no sound check battery.
- Make sure battery is installed correctly.
- Check for loose wire connection at module and switch.
- If ignitor continues to not work then use match.
CAUTION | ||
SPIDER ALERT!
SPIDER AND WEBS
If your barbeque is getting hard to light or the flame is weak, check and clean the venturis and burners. Spiders or small insects are known to create “flashback” problems by building nests and laying eggs in the barbeque’s venturi or burner obstructing the flow of gas. The backed-up gas can ignite behind the control panel. This flashback can damage your barbeque and cause injury. To prevent flashbacks and ensure good performance, the burner and venturi tube assembly should be removed and cleaned whenever the barbeque has been idle for an extended period of time. | ||
Cleaning the Burner Assembly
Follow these instructions to clean and/or replace parts of burner assembly or if you have trouble igniting barbecue.
1. Turn gas off at control knobs and LP cylinder.
2. Remove cooking grates and heat tents.
3. Remove carryover tubes and hardware securing burners.
4. Detach electrode from burner.
NOTE: Removal/Detachment method will depend on the burner configuration. See different configurations in illustrations below.
5. Carefully lift each burner up and away from valve openings.
We suggest three ways to clean the burner tubes. Use the one easiest for you.
A. Bend a stiff wire (a light weight coat hanger works well) into a small hook. Run the hook through each burner tube several times.![]()
B. Use a narrow bottle brush with a flexible handle (do not use a brass wire brush). Run the brush through each burner tube several times.
C. Wear eye protection: Use an air hose to force air into the burner tube and out the burner ports. Check each port to make sure air comes out each hole.
6. Wire brush entire outer surface of burner to remove food residue and dirt.
7. Clean any blocked ports with a stiff wire such as an open paper clip.
8. Check burner for damage due to normal wear and corrosion, some holes may become enlarged. If any large cracks or holes are found, replace burner.
VERY IMPORTANT: Burner tubes must reengage valve openings. See illustrations at right.
Correct burner-to-valve engagement
9. Attach electrode to burner.
10. Carefully replace burners.
11. Attach burners to brackets on firebox.
12. Reposition carryover tubes and attach to burners. Replace heat tents and cooking grates.
13. Before cooking again on barbecue, perform a “Leak Test” and “Burner Flame Check”.

- Firebox
- Carryover tube
- Firebox Burner Support
- Electrode
- Pry off electrode with a flate blade screwdriver
Storing Your Appliance
Clean cooking grates.
Store in dry location.
When gas cylinder is connected to appliance, store outdoors in a well-ventilated space and out of reach of children.
Cover appliance if stored outdoors.
Store appliance indoors ONLY if gas cylinder is turned off and disconnected, removed from appliance and stored outdoors.
When removing appliance from storage check for burner obstructions.
General Appliance Cleaning
Periodic cleaning of this grill is necessary, as grill fires can occur when grease and food debris collect in the bottom of the grill.
After each use, remove any remaining food particles from the cooking grate and inside of the grill using a Char-Broil Cool-Clean Brush. Afterwards you could spray Char-Broil Grate Cleaner generously onto the grate, allow it work for 10 minutes and wipe off with a wet cloth or brush. Perform grill cleaning after the grill has cooled down.
- Do not mistake brown or black accumulation of grease and smoke for paint. Interiors of gas barbecues are not painted at the factory (and should never be painted). Apply a strong solution of detergent and water or use a appliance cleaner with scrub brush on insides of appliance lid and bottom. Rinse and allow to completely air dry. Do not apply caustic appliance/oven cleaner to painted surfaces.
- Plastic parts: Wash with warm soapy water and wipe dry.
Do not use abrasive cleaners, degreasers or a concentrated appliance cleaner on plastic parts. Damage to and failure of parts can result. - Porcelain surfaces: Because of glass-like composition, most residue can be wiped away with baking soda/water solution, glass cleaner or Char-Broil Grate Cleaner. Use nonabrasive scouring powder for stubborn stains.
- Painted surfaces: Wash with mild detergent or cleaner and warm soapy water or Char-Broil Grill Cleaner. Wipe dry with a soft nonabrasive cloth.
- Cooking surfaces: Ensure no loose bristles remain on cooking surfaces prior to grilling. While grill is hot, it is only recommended to clean cooking surfaces using the Char-Broil Hot-Clean Replacement head (on the Char-Broil Cool-Clean Premium Brush).
CLEAN Setting
Your grill is equipped with an innovative CLEAN setting that allows for hassle-free grill cleaning. The high heat generated from the burners will turn all remaining food debris to ash.
Follow these steps:
- After you are done grilling, adjust all main burners to CLEAN setting and remain for approximately 12 – 15 minutes
- After approximately 12 – 15 minutes, adjust all main burners to OFF setting and allow grill to cool
- Once the grill is cool, use a Char-Broil Cool-Clean Brush to remove any remaining debris and dispose of the ash
- To get extra-shiny results, use the Char-Broil Grate Cleaner as a last step. Spray generously onto the grate, allow it work for 10 minutes and wipe off with a wet cloth or brush.
IMPORTANT! PLEASE READ!

CH Gas Cylinder + CH Regulator

Foreign Gas Cylinder + Foreign Regulator

CH Gas Cylinder + Foreign Regulator

Foreign Gas Cylinder + CH Regulator
A regulator must be used with this appliance. Use only the gas regulator supplied with your barbeque. If a regulator is not supplied then use only a regulator certified according to EN16129 (Flow rate max. 1.5 kg/h) and approved for your country and gas specified in Technical Data.
For Switzerland Only
There is a danger of fire and explosion with gas appliances which are equipped with foreign pressure regulators and are not compatible with the gas tanks and gas regulators available in Switzerland
Due to the different sealing systems, it is impossible to properly seal the regulator to the gas tank. Gas will escape here and can be ignited by flame or sparks. A lifethreatening explosion, and/or property damage can result. Swiss and German tanks and regulators cannot be intermixed.
For safety reason, please check your grill regulator and gas tank connection and make sure it follows in one of the allowed cases shown in the pictures.
Perform a leak check each time you connect your grill to the gas tank.
TECHNICAL DATA | ||||
| Appliance Name | Gas Barbeque/Gas Grill | |||
| Total Nominal Heat Input | 8.68 kW (632 g/h) | 8.68 (632 g/h) | ||
| Gas Category | I3+(28-30/37) | I3B/P(30) | I3B/P(50) | |
| Model No. | 468502422 | 468162422 | ||
| Gas Type | Butane | Propane | Butane, Propane or their mixtures | Butane, Propane or their mixtures |
| Gas Pressure | 28-30 mbar | 37 mbar | 30 mbar | 50 mbar |
| Injector Size (Dia. mm) | Barbecue: 0,72 x 4 pcs | Barbecue: 0,72 x 4 pcs | Barbecue: 0,61 x 4 pcs | |
— | — | — | ||
| Destination Countries | GB, FR, BE, ES, IT, PT, CZ, SK, CH, CY, GR, IE, LT, LU, LV, SI | DK, NO, NL, SE, FI, IS, CZ, IT, SK, BG, CY, EE, HR, HU, LT, LU, LV, MT, RO, SI, TR | AT, DE, CH, LU, SK | |
Stainless steel
There are many different types (alloys) of materials that are regarded as stainless steel.
A common trait of these different types is that they may corrode (oxidize), depending on the conditions they are subjected to.
This applies to your new barbecue as well.
To ensure your barbecue retains its looks and functionality for many years, please follow the advice below.
1) If the barbecue has become wet or damp, make sure to wipe it dry using a cloth in order to prevent surface corrosion.
2) Stainless steel can rust under certain conditions. This can be caused by environmental conditions such as chlorine or salt water, or improper cleaning tools such as wire or steel wool. It can also discolor due to heat, chemicals, or grease build-up.
3) To maintain your appliance’s high quality appearance, wash with mild detergent and warm soapy water and wipe dry with a soft cloth after each use. Baked-on grease deposits may require the use of an abrasive plastic cleaning pad. Use only in direction of brushed finish to avoid damage. Do not use abrasive pad on areas with graphics.
4) Grease the internal parts of the barbecue and the grids with cooking oil.
Please note:
To avoid scratching the surface and providing a basis for rust, never use steel wool or similar when cleaning stainless steel.
When cleaning, work in the same direction the stainless steel was brushed in – ‘with the grain’.
Cleaning with abrasives may leave scratches.
Storing the barbecue near a coast, swimming pool or spa will cause the barbecue to corrode (oxidize).
Cover your barbecue for rust protection.
HARDWARE LIST
Key | Description | Picture | Qty |
| A | Caster Pin | ![]() | 1 |
B | 1/4″-20UNC×13 Screw | ![]() | 25 |
| C | #8X3/8″ Tapping Screw | ![]() | 5 |
D | NO.10-24UNC×13 Screw | ![]() | 17 |
| E | NO.10-24UNC Nut | ![]() | 1 |
F | 1/4″×18 Screw Assy | ![]() | 2 |
| G | Ø6.5 AI Washer | ![]() | 6 |
H | Ø5 Lock Washer | ![]() | 4 |
| J | Ø5 Washer | ![]() | 4 |
K | Hose clip | ![]() | 1 |
| L | 1/4″-20UNC Nut | ![]() | 1 |
REPLACEMENT PARTS LIST FOR 468502422, 468162422
Key | Qty | Description |
1 | 1 | TOP LID |
2 | 1 | HANDLE F/ LID |
3 | 2 | RUBBER BUMPER, W/ HOLE, F/ TOP LID |
4 | 1 | LOGO PLATE F/ LID |
5 | 1 | THERMOMETER |
6 | 1 | BEZEL, F/ THERMOMETER |
7 | 1 | TOP LID HARDWARE |
8 | 1 | WARMING RACK |
9 | 2 | EMITTER, F/ COOKING GRATE, 120 |
10 | 1 | EMITTER, F/ COOKING GRATE, 180 |
11 | 2 | COOKING GRATE, 120 |
12 | 1 | COOKING GRATE, 180 |
13 | 1 | FIREBOX |
14 | 2 | LID STOP, FIREBOX |
15 | 4 | MAIN BURNER |
16 | 4 | BURNER BRACE |
17 | 1 | ELECTRODE, F/ MAIN BURNER |
18 | 1 | ELECTRODE, F/ MAIN BURNER, 500MM WIRE |
19 | 2 | ELECTRODE, F/ MAIN BURNER, 600MM WIRE |
20 | 3 | CARRY OVER TUBE |
21 | 1 | CONTROL PANEL, MAIN |
22 | 1 | VALVE ASSEMBLY |
23 | 4 | CONTROL KNOB |
24 | 4 | BEZEL F/ CONTROL KNOB |
25 | 1 | RIGHT SIDE SHELF |
26 | 1 | FASCIA, F/ RIGHT SIDE SHELF |
27 | 1 | SHELF SUPPORT, RIGHT |
28 | 1 | LEFT SIDE SHELF |
29 | 1 | FASCIA, F/ LEFT SIDE SHELF |
30 | 1 | SHELF SUPPORT, LEFT |
31 | 1 | IGNITER SWITCH MODULE |
32 | 1 | LEFT SIDE CART PANEL |
33 | 1 | RIGHT SIDE CART PANEL |
34 | 1 | FRONT DOOR BRACE |
35 | 2 | MAGNET ASSEMBLY |
36 | 2 | DOOR PIN, SPRING |
37 | 1 | LEFT DOOR, NO HANDLE |
38 | 2 | HANDLE, F/ DOOR |
39 | 1 | RIGHT DOOR, NO HANDLE |
40 | 1 | BOTTOM SHELF |
41 | 2 | TANK SUPPORT |
42 | 2 | DOOR PIN, FIXED |
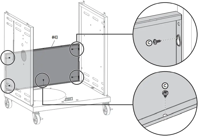
43 | 1 | REAR CART PANEL |
44 | 1 | SHIELD, F/ TANK |
45 | 2 | CASTER, LOCKING |
46 | 2 | CASTER, FIXED |
47 | 1 | MATCH HOLDER |
48 | 1 | GREASE TRAY |
49 | 2 | GREASE TRAY BRACKET |
50 | 1 | GREASE PAN |
51 | 1 | ELECTRONIC IGNITION MODULE |
52 | 1 | CAP, F/ IGNITION MODULE |
53 | 2 | TOOL HOLDER |
54 | 1 | TANK STRAP |
NOT Pictured | ||
… | 1 | PRODUCT GUIDE, EUROPE |
… | 1 | HARDWARE PACK |
… | 1 | CASTER PIN |
… | 1 | EMITTER CLEANING TOOL |
… | 1 | REGULATOR HOSE CLIP (IF REQUIRED) |
REPLACEMENT PARTS DIAGRAM FOR 468502422, 468162422

ASSEMBLY
(1)
Ax1

(2)
Dx1
Ex1
Bx4

(3)
Bx2

(4)
Cx5

(5)
Bx4

(6)
Bx4

(7)

(8)
Fx2

LEAK CHECK FOR 468502422
(9)



TIGHTEN SECURELY!
LEAK CHECK FOR 468502422

Disconnect the tank after this check!

LEAK CHECK FOR 468162422

Disconnect the tank after this check!

(10)
Bx4

(11)
Dx2

Dx2


(12)
Dx2

- Tighten the screws
Bx3
Gx3

(13)

Dx2

- Tighten the screws
Bx3
Gx3

(14)

(15)

Inspect your infrared grate before each use to ensure that the openings are not covered with debris. See the Grilling Guide for detailed cleaning instructions.
(16)

(17)
Dx4

(18)

(19)
Bx1
Lx1
Kx1

(20)
Dx4
Hx4
Jx4

(21)

(22)

(23)

(24)

(25)



Leak test before first use, at least once per year, and every time the gas tank is changed or disconnected.
Warranty Statement
Char-Broil Europe GmbH of Paul-Dessau-Straße 8 Quartier O – 4.OG D-22761 Hamburg, (Char-Broil) warrants to the PURCHASER of this Char-Broil product that it will be free of defects in material and workmanship from the date of purchase as follows:
Gas Grills | |
| Burners | 5 years |
| Cooking Grates/Emitters | 5 years |
| All Other Parts (EURO minimum) | 2 years |
Char-Broil or the seller of the product may require reasonable proof of your date of purchase. THEREFORE, YOU SHOULD RETAIN YOUR SALES RECEIPT OR INVOICE.
[France only: All products sold by the Seller are covered by the legal warranties provided in Articles 1641 and followings of the Civil Code (warranty against hidden defects) and Articles L. 217-1 to L. 217-14 and L. 411-1 to L. 411-2 of the Consumer Code (warranty of conformity.]
This Warranty includes the right of repair or replacement of the product or parts of the product that prove defective under normal use and service. Before returning any parts, you should promptly contact Char-Broil using the contact information on our website. In case of a defect, Char-Broil will elect to replace or repair the product or such parts without charge. .
Char-Broil will return the product or parts of the product to the purchaser, freight or postage prepaid. If Char-Broil elects to repair the product or such defective parts of the product and this repair fails, you are entitled, pursuant to your statutory legal rights, to reduce the purchase price or to withdraw from the contract and receive a refund.
This Warranty does not cover any failures or operating difficulties due to accident, abuse, misuse, alteration, misapplication, vandalism, improper installation or improper maintenance or service, or failure to perform normal and routine maintenance, including but not limited to damage caused by insects within the burner tubes, as set out in this owner’s manual. Exceptions may apply, so please contact Char-Broil or your seller in case you have any questions on whether this Warranty applies to your specific case or not.
Deterioration or damage due to severe weather conditions such as hail, hurricanes, earthquakes or tornadoes, discoloration due to exposure to chemicals either directly or in the atmosphere, is not covered by this Warranty, and are not normally covered by your statutory legal rights.
Char-Broil is not liable for any unforeseeable losses (i.e. loss or damage that neither you nor Char-Broil or the seller contemplated at the time of purchase), or any damage caused by you, save for that Char-Broil’s liability for fraud or death or personal injury caused by its negligence is not limited.
Char-Broil does not authorize any person or company to assume for it any other obligation or liability in connection with the sale, installation, use, removal, return, or replacement of its equipment; and no such representations are binding on Char-Broil.
This Warranty applies only to products sold at retail to individuals (as opposed to businesses) within the European Union.
This Warranty does not affect any of your statutory legal rights under the applicable consumer laws of your resident country.
For warranty service, contact Char-Broil at [email protected].

NOTE: This information is a guide only. Items included in your BBQ specification may differ depending on region or specific dealer specification.
All specifications are subject to change without notice.

Char-Broil® Europe GmbH
Paul-Dessau-Straße 8
Quartier O – 4.OG
D-22761 Hamburg























