MSI MAG274QRF(3CA8)Optix LCD Monitor
Getting Started
This chapter provides you with information on hardware setup procedures. While connecting devices, be careful in holding the devices and use a grounded wrist strap to avoid static electricity.
Package Contents
| Monitor | Optix MAG274QRF / Optix MAG274QRF-QD |
| Documentation | Quick Start Guide |
| Accessories | Stand with Screw(s) |
| Stand Base with Screw(s) | |
| Power Adapter & Power Cord | |
| Cables | HDMI Cable (Optional) |
| DisplayPort Cable (Optional) | |
| USB Upstream Cable (for USB Type B Upstream Port) (Optional)
|
Important
- Contact your place of purchase or local distributor if any of the items is damaged or missing.
- Package contents may vary by country.
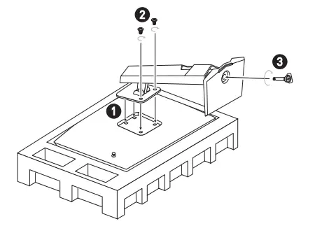
Installing the Monitor Stand
- Leave the monitor in its protective foam packaging. Align the stand bracket to the monitor groove.
- Tighten the stand bracket with screws.
- Connect the base to the stand and tighten the base screw to secure the base.
- Make sure the stand assembly is properly installed before setting the monitor upright.
Important
- Place the monitor on a soft, protected surface to avoid scratching the display panel. ∙ Do not use any sharp objects on the panel.
- The groove for installing the stand bracket can also be used for wall mount. Please contact your dealer for proper wall mount kit.

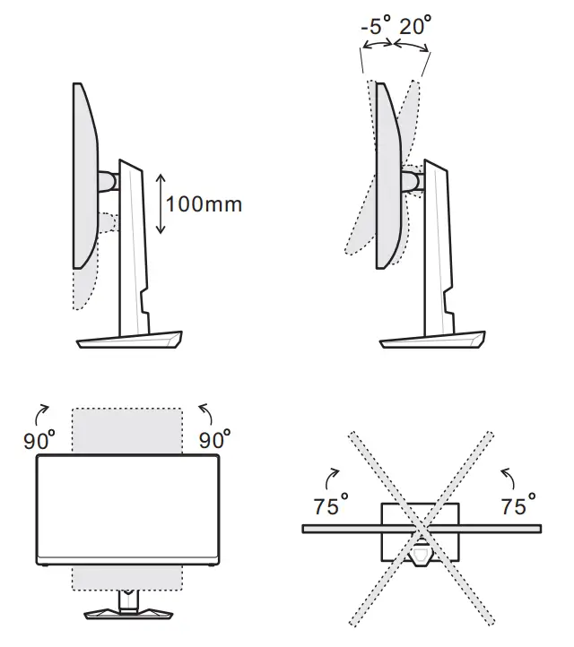
Adjusting the Monitor
This monitor is designed to maximize your viewing comfort with its adjustment capabilities.
Important
- Avoid touching the display panel when adjusting the monitor.
- Please slightly tilt the monitor backward before pivoting it.

Monitor Overview
| 1 | Macro Key To activate OSD. | |
| 2 | Power Button | |
| 3 | Navi Key | |
| 4 | Kensington Lock | |
| 5 | DisplayPort | |
| 6 | HDMI Port | |
| 7 | USB Type-C Port This port supports DisplayPort Alternate (DP Alt) Mode and up to 5V/3A (15W) power delivery. It only carries video signals and doesn’t support data transmission function. | |
| 8 | Headphone Jack | |
| 9 | USB 2.0 Type B Upstream Port For USB Upstream Cable. ⚠ Important Check the package for USB Upstream Cable and connect it to the PC and monitor. Once this cable is connected, the USB Type A Downstream Ports on the monitor will be ready for use. | To Monitor
To PC |
| 10 | USB 2.0 Type A Port | |
| 11 | Power Jack | |
Connecting the Monitor to PC
- Turn off your computer.
- Connect the video cable from the monitor to your computer.
- Assemble the monitor power adapter & power cord. (Figure A)
- Connect the power adapter to the monitor power jack. (Figure B)
- Plug the power cord into the electrical outlet. (Figure C)
- Turn on the monitor. (Figure D)
- Power on the computer and the monitor will auto detect the signal source.
OSD Setup
This chapter provides you with essential information on OSD Setup.
- Important
All information is subject to change without prior notice.
Navi Key
The monitor comes with a Navi Key, a multi-directional control that helps navigate the On-Screen Display (OSD) menu.
Up/Down/Left/Right
- selecting function menus and items
- adjusting function values
- entering into/exiting from function menus
Press (OK)
- launching the On-Screen Display (OSD)
- entering submenus
- confirming a selection or setting
Hot Key
- Users may enter into Game Mode, Screen Assistance, Alarm Clock and Input Source function menus by moving the Navi Key up, down, left or right when the OSD menu is inactive.
- Users may customize their own Hot Keys to enter into different function menus.
Gaming
| 1st Level Menu | 2nd/3rd Level Menu | Description |
| Game Mode | User | ∙ All items can be adjusted by users. ∙ Use Up or Down Button to select and preview mode effects. ∙ Press the OK Button to confirm and apply your mode type. |
| FPS | ||
| Racing | ||
| RTS | ||
| RPG | ||
| Night Vision | OFF | ∙ This function optimizes background brightness and is recommended for FPS games. |
| Normal | ||
| Strong | ||
| Strongest | ||
| A.I. | ||
| Response Time | Normal | ∙ Users can adjust Response Time in any mode. ∙ Response Time will be grayed out while Anti Motion Blur is enabled. ∙ Response Time have to set to Fast after Anti Motion Blur is disabled. |
| Fast | ||
| Fastest
|
| 1st Level Menu | 2nd/3rd Level Menu | Description | |
| Anti Motion Blur | OFF | ∙ When Anti Motion Blur is enabled, HDCR and Brightness cannot be enabled and will be grayed out. ∙ Response time will be grayed out while Anti Motion Blur is enabled. ∙ Anti Motion Blur has to be disabled while Adaptive-Sync is set to ON. | |
| ON | |||
| Refresh Rate | Location | Left Top | ∙ Users can adjust Refresh Rate in any mode. ∙ Default Refresh Rate Location is Left Top. Location is adjustable in OSD Menu. Press the OK Button to confirm and apply your Refresh Rate Location. ∙ This monitor follows and works at the Operating System’s preset Screen Refresh Rate. |
| Right Top | |||
| Left Bottom | |||
| Right Bottom | |||
| OFF | |||
| ON | |||
| Alarm Clock | Location | Left Top | ∙ Users can adjust Alarm Clock in any mode. ∙ After setting the time, press the OK Button to activate the timer. ∙ Default Alarm Clock Location is Left Top. Users can select their own location. |
| Right Top | |||
| Left Bottom | |||
| Right Bottom | |||
| Customize | |||
| OFF | |||
| 15:00 | 00:01 ~ 99:59 | ||
| 30:00 | |||
| 45:00 | |||
| 60:00 | |||
| Screen Assistance | None | ∙ Users can adjust Screen Assistance in any mode. ∙ Screen Assistance default is None. | |
| Icon | |||
| Position | |||
| Reset | |||
| 1st Level Menu | 2nd/3rd Level Menu | Description |
| Adaptive-Sync | OFF | ∙ Adaptive-Sync prevents screen tearing. ∙ DisplayPort or HDMI default is OFF and can be adjusted ON/OFF in any mode, any resolution, any input source and any screen refresh rate. ∙ Anti Motion Blur will be disabled if Adaptive-Sync is enabled. |
| ON
|
Professional
| 1st Level Menu | 2nd Level Menu | Description |
| Pro Mode | User | ∙ Default mode is User. ∙ All items can be adjusted by users. ∙ Use Up or Down Button to select and preview mode effects. ∙ Press the OK Button to confirm and apply your mode type. |
| Reader | ||
| Cinema | ||
| Designer | ||
| Eye Saver | OFF | ∙ Eye Saver protects your eyes against blue light. When enabled, Eye Saver adjusts the screen color temperature to a more yellow glow. ∙ Users can adjust Eye Saver in any mode. ∙ When Pro Mode is set to Reader, it is mandatory to enable Eye Saver. |
| ON | ||
| HDCR | OFF | ∙ Users can adjust HDCR in any mode. ∙ HDCR enhances image quality by increasing the contrast of images. ∙ When HDCR is set to ON, Brightness will be grayed out. ∙ HDCR and Anti Motion Blur cannot be enabled simultaneously. |
| ON | ||
| Anti Motion Blur | OFF | ∙ When Anti Motion Blur is enabled, HDCR and Brightness cannot be enabled and will be grayed out. ∙ Response time will be grayed out while Anti Motion Blur is enabled. ∙ Anti Motion Blur has to be disabled while Adaptive-Sync is set to ON. |
| ON |
| 1st Level Menu | 2nd Level Menu | Description |
| Image Enhancement | OFF | ∙ Image Enhancement enhances image edges to improve their acutance. ∙ Users can adjust Image Enhancement in any mode. |
| Weak | ||
| Medium | ||
| Strong | ||
| Strongest |
Image
| 1st Level Menu | 2nd/3rd Level Menu | Description | |
| Brightness | 0-100 | ∙ Users can adjust Brightness in User, RTS, RPG and Reader mode. ∙ Brightness will be grayed out when Anti Motion Blur or HDCR are enabled. | |
| Contrast | 0-100 | ∙ Users can adjust Contrast in any mode. | |
| Sharpness | 0-5 | ∙ Users can adjust Sharpness in any mode. ∙ Sharpness improves clarity and details of images. | |
| Color Temperature | Cool | ∙ Color Temperature default is Normal. ∙ Use Up or Down Button to select and preview mode effects. ∙ Press the OK Button to confirm and apply your mode type. ∙ Users can adjust Color Temperature in Customization mode. | |
| Normal | |||
| Warm | |||
| Customization | R (0-100) | ||
| G (0-100) | |||
| B (0-100) | |||
| Screen Size | Auto | ∙ Users can adjust Screen Size in any mode, any resolution and any screen refresh rate. ∙ Default is Auto. | |
| 4:3 | |||
| 16:9
| |||
Input Source
| 1st Level Menu | 2nd Level Menu | Description |
| HDMI1 | ∙ Users can adjust Input Source in any mode. | |
| HDMI2 | ||
| DP | ||
| Type C | ||
| Auto Scan | OFF | ∙ Users can use the Navi Key to select Input Source at below status: • While “Auto Scan” is set to “OFF” with the monitor at power saving mode; • While “No Signal” message box is shown on the monitor. |
| ON | ||
Navi Key
| 1st Level Menu | 2nd Level Menu | Description |
| Up / Down / Left / Right | OFF | ∙ Up Button default is Game Mode. ∙ Down Button default is Screen Assistance. ∙ Left Button default is Alarm Clock. ∙ Right Button default is Input Source. ∙ All Navi Key items can be adjusted via OSD Menus. |
| Brightness | ||
| Game Mode | ||
| Screen Assistance | ||
| Alarm Clock | ||
| Input Source | ||
| Refresh Rate | ||
| Information on Screen |
Setting
| 1st Level Menu | 2nd Level Menu | Description |
| Language | 繁體中文 | ∙ Language factory default is English. ∙ Users have to press the OK Button to confirm and apply the Language setting. ∙ Language is an independent setting. Users’ own language setting will override the factory default. When users set Reset to Yes, Language will not be changed. |
| English | ||
| Français | ||
| Deutsch | ||
| Italiano | ||
| Español | ||
| 한국어 | ||
| 日本語 | ||
| Русский | ||
| Português | ||
| 简体中文 | ||
| Bahasa Indonesia | ||
| Türkçe | ||
| (More languages coming soon) | ||
| Transparency | 0~5 | ∙ Users can adjust Transparency in any mode. |
| OSD Time Out | 5~30s | ∙ Users can adjust OSD Time Out in any mode. |
| RGB LED | OFF | ∙ Users can adjust RGB LED to ON or OFF. ∙ Default is ON. |
| ON | ||
| Power Button | OFF | ∙ When set to OFF, users can press the power button to turn off the monitor. |
| Standby | ∙ When set to Standby, users can press the power button to turn off the panel and backlight. | |
| Information on Screen | OFF | ∙ The information of the monitor status will be shown on the right side of the screen. ∙ Users can enable or disable the Information on Screen. Default is OFF. |
| ON |
| 1st Level Menu | 2nd Level Menu | Description | ||||
| HDMI CEC | OFF | ∙ Default is OFF. ∙ HDMI CEC (Consumer Electronics Control) supports Sony PlayStation®, Nintendo® Switch™, and various audio-visual devices that are CEC-capable. ∙ If HDMI CEC is set to ON: • The monitor will automatically power on when the CEC device is turned on. • The CEC device will enter power saving mode when the monitor is turned off. • When Sony PlayStation® or Nintendo® Switch™ is connected, Game and Pro Mode will be automatically set to User mode (Default) and can be adjusted to users’ preferred modes later. | ||||
| ON | ||||||
| Reset | YES | ∙ Users can Reset and restore settings to original OSD Default in any mode. | ||||
| NO | ||||||
Specifications
| Model | Optix MAG274QRF | Optix MAG274QRF-QD |
| Size | 27 inch | |
| Curvature | Flat | |
| Panel Type | Rapid IPS | |
| Resolution | 2560 x 1440 @165Hz | |
| Aspect Ratio | 16:9 | |
| Brightness (nits) | 300 (typ.) | |
| Brightness: USB Type-C Power Delivery | 5V/3A | ∙ 0~69%: 5V/3A ∙ 70~80%: 5V/2A ∙ 81~100%: 5V/1A |
| Contrast Ratio | 1000:1 | |
| Refresh Rate | 165Hz | |
| Response Time | 1ms (GTG) | |
| Input Interface | ∙ HDMI x 2 ∙ DP x 1 ∙ USB Type-C (DP Alt Mode) x 1 (Up to 5V/3A power delivery) | |
| I/O | ∙ USB 2.0 Type B x 1 (for PC to Monitor) ∙ USB 2.0 Type A x 2 ∙ Headphone Jack x 1 | |
| View Angles | 178°(H) , 178°(V) | |
| DCI-P3*/ sRGB | 94% / 131% | 97% / 147% |
| Surface Treatment | Anti-glare | |
| Display Colors | 1.07B (8 bit +FRC) | |
| Power Adapter Specs | ∙ Option 1: DA-65C19 ∙ Option 2: YJS065I-1903420D | |
| Power Input | 100~240Vac, 50~60Hz, 1.6A Max | |
| Power Output | 19.0V 3.42A | |
| Adjustment (Tilt) | -5° ~ 20° | |
| Adjustment (Height) | 0 ~ 100mm | |
| Model | Optix MAG274QRF | Optix MAG274QRF-QD | |
| Adjustment (Swivel) | -75° ~ 75° | ||
| Adjustment (Pivot) | -90° ~ 90° | ||
| Kensington Lock | Yes | ||
| VESA Mounting | ∙ Plate Type: 100 x 100 mm ∙ Screw Type: M4 x 10 mm • Thread Diameter: 4 mm • Thread Pitch: 0.7 mm • Thread Length: 10 mm | ||
| Dimension (W x H x D) | 614.9 x 532.7 x 206.7 mm | ||
| Weight | 6.05 Kg (net) / 8.7 Kg (gross) | ||
| Environment | Operating | ∙ Temperature: 0℃ to 40℃ ∙ Humidity: 20% to 90%, non-condensing ∙ Altitude: 0 ~ 5000m | |
| Storage | ∙ Temperature: -20℃ to 60℃ ∙ Humidity: 10% to 90%, non-condensing
| ||
Preset Display Modes
| Standard | Resolution | Optix MAG274QRF / Optix MAG274QRF-QD | ||
| HDMI | DP/ Type-C | |||
| VGA | 640×480 | @60Hz | V | V |
| @67Hz | V | V | ||
| @72Hz | V | V | ||
| @75Hz | V | V | ||
| Dos-Mode | 720×480 | @60Hz | V | V |
| 720×576 | @50Hz | V | V | |
| SVGA | 800×600 | @56Hz | V | V |
| @60Hz | V | V | ||
| @72Hz | V | V | ||
| @75Hz | V | V | ||
| XGA | 1024×768 | @60Hz | V | V |
| @70Hz | V | V | ||
| @75Hz | V | V | ||
| SXGA | 1280×1024 | @60Hz | V | V |
| @75Hz | V | V | ||
| WXGA+ | 1440×900 | @60Hz | V | V |
| WSXGA+ | 1680×1050 | @60Hz | V | V |
| Full HD | 1920×1080 | @60Hz | V | V |
| @120Hz | V | V | ||
| @165Hz | V | V | ||
| QHD | 2560×1440 | @60Hz | V | V |
| @120Hz | V | V | ||
| @144Hz | V | |||
| @165Hz | V | |||
| Video Timing Resolution | 480P | V | V | |
| 576P | V | V | ||
| 720P | V | V | ||
| 1080P | V | V | ||
| 1080P @120Hz | V | V | ||
| 2160P @30Hz | V | |||
| 2160P @60Hz | V |
| ||
Troubleshooting
The power LED is off.
- Press the monitor power button again.
- Check if the monitor power cable is properly connected.
No image.
- Check if the computer graphics card is properly installed.
- Check if the computer and monitor are connected to electrical outlets and are turned on.
- Check if the monitor signal cable is properly connected.
- The computer may be in Standby mode. Press any key to activate the monitor.
The screen image is not properly sized or centered.
- Refer to Preset Display Modes to set the computer to a setting suitable for the monitor to display.
No Plug & Play.
- Check if the monitor power cable is properly connected.
- Check if the monitor signal cable is properly connected.
- Check if the computer and graphics card are Plug & Play compatible.
The icons, font or screen are fuzzy, blurry or have color problems.
- Avoid using any video extension cables.
- Adjust brightness and contrast.
- Adjust RGB color or tune color temperature.
- Check if the monitor signal cable is properly connected.
- Check for bent pins on the signal cable connector.
The monitor starts flickering or shows waves.
- Change the refresh rate to match the capabilities of your monitor.
- Update your graphics card drivers.
- Keep the monitor away from electrical devices that may cause electromagnetic interference (EMI).
Safety Instructions
- Read the safety instructions carefully and thoroughly.
- All cautions and warnings on the device or User Guide should be noted.
- Refer servicing to qualified personnel only.
Power
- Make sure that the power voltage is within its safety range and has been adjusted properly to the value of 100~240V before connecting the device to the power outlet.
- If the power cord comes with a 3-pin plug, do not disable the protective earth pin from the plug. The device must be connected to an earthed mains socket-outlet.
- Please confirm the power distribution system in the installation site shall provide the circuit breaker rated 120/240V, 20A (maximum).
- Always disconnect the power cord or switch the wall socket off if the device would be left unused for a certain time to achieve zero energy consumption.
- Place the power cord in a way that people are unlikely to step on it. Do not place anything on the power cord.
- If this device comes with an adapter, use only the MSI provided AC adapter approved for use with this device.
Battery
Please take special precautions if this device comes with a battery.
- Danger of explosion if battery is incorrectly replaced. Replace only with the same or equivalent type recommended by the manufacturer.
- Avoid disposal of a battery into fire or a hot oven, or mechanically crushing or cutting of a battery, which can result in an explosion.
- Avoid leaving a battery in an extremely high temperature or extremely low air
- Do not ingest battery. If the coin/button cell battery is swallowed, it can cause severe internal burns and can lead to death. Keep new and used batteries away from children.
European Union
Batteries, battery packs, and accumulators should not be disposed of as unsorted household waste. Please use the public collection system to return, recycle, or treat them in compliance with the local regulations.
Environment
- To reduce the possibility of heat-related injuries or of overheating the device, do not place the device on a soft, unsteady surface or obstruct its air ventilators.
- Use this device only on a hard, flat and steady surface.
- To prevent the device from tipping over, secure the device to a desk, wall or fixed object with an anti-tip fastener that helps to properly support the device and keep it safe in place.
- To prevent fire or shock hazard, keep this device away from humidity and high temperature.
- Do not leave the device in an unconditioned environment with a storage temperature above 60℃ or below -20℃, which may damage the device.
- The maximum operating temperature is around 40℃.
- When cleaning the device, be sure to remove the power plug. Use a piece of soft cloth rather than industrial chemical to clean the device. Never pour any liquid into the opening; that could damage the device or cause electric shock.
- Always keep strong magnetic or electrical objects away from the device.
- If any of the following situations arises, get the device checked by service personnel:
- The power cord or plug is damaged.
- Liquid has penetrated into the device.
- The device has been exposed to moisture.
- The device does not work well or you can not get it working according to the User Guide.
- The device has dropped and damaged.
- The device has obvious sign of breakage.
Regulatory Notices
CE Conformity
This device complies with the requirements set out in the Council
Directive on the Approximation of the Laws of the Member States
relating to Electromagnetic Compatibility (2014/30/EU), Low-voltage
Directive (2014/35/EU), ErP Directive (2009/125/EC) and RoHS directive
(2011/65/EU). This product has been tested and found to comply with the harmonized standards for Information Technology Equipment published under Directives of Official Journal of the European Union.
FCC Rules
FCC-B Radio Frequency Interference Statement This equipment has been tested and found to comply with the limits for a Class B digital device, pursuant to Part 15 of the FCC Rules. These limits are designed to provide reasonable protection against
harmful interference in a residential installation. This equipment generates, uses and can radiate radio frequency energy and, if not installed and used in accordance with the instruction manual, may cause harmful interference to radio communications. However, there is no guarantee that interference will not occur in a particular installation. If this equipment does cause harmful interference to radio or television reception, which can be determined by turning the equipment off and on, the user is encouraged to try to correct the interference by one or more of the measures listed below:
- Reorient or relocate the receiving antenna.
- Increase the separation between the equipment and receiver.
- Connect the equipment into an outlet on a circuit different from that to which the receiver is connected.
- Consult the dealer or an experienced radio/television technician for help.
Notice 1
The changes or modifications not expressly approved by the party responsible for compliance could void the user’s authority to operate the equipment.
Notice 2
Shielded interface cables and AC power cord, if any, must be used in order to comply with the emission limits.
This device complies with Part 15 of the FCC Rules. Operation is subject to the following two conditions:
- This device may not cause harmful interference, and
- This device must accept any interference received, including interference that may cause undesired operation.
WEEE Statement
Under the European Union (“EU”) Directive on Waste Electrical and Electronic Equipment, Directive 2012/19/EU, products of “electrical and electronic equipment” cannot be discarded as municipal waste anymore and manufacturers of covered electronic equipment will be obligated to take back such products at the end of their useful life.
Chemical Substances Information
In compliance with chemical substances regulations, such as the EU REACH Regulation (Regulation EC No. 1907/2006 of the European Parliament and the Council), MSI provides the information of chemical substances in products at: https://csr.msi.com/global/index
RoHS Statement
Japan JIS C 0950 Material Declaration
A Japanese regulatory requirement, defined by specification JIS C 0950, mandates that manufacturers provide material declarations for certain categories of electronic products offered for sale after July 1, 2006.
https://csr.msi.com/global/Japan-JIS-C-0950-Material-Declarations
India RoHS
This product complies with the “India E-waste (Management and Handling) Rule 2011” and prohibits use of lead, mercury, hexavalent chromium, polybrominated biphenyls or polybrominated diphenyl ethers in concentrations exceeding 0.1 weight % and 0.01 weight % for cadmium, except for the exemptions set in Schedule 2 of the Rule.
Turkey EEE Regulation
Conforms to the EEE Regulations of the Republic Of Turkey.
Ukraine Restriction of Hazardous Substances
The equipment complies with the requirements of the Technical Regulation, approved by the Resolution of Cabinet of Ministry of Ukraine as of December 3, 2008 № 1057, in terms of restrictions for the use of certain dangerous substances in electrical and electronic equipment.
Vietnam RoHS
As of December 1, 2012, all products manufactured by MSI comply with Circular 30/2011/TT-BCT temporarily regulating the permitted limits for a number of hazardous substances in electronic and electric products.
Green Product Features
- Reduced energy consumption during use and stand-by
- Limited use of substances harmful to the environment and health
- Easily dismantled and recycled
- Reduced use of natural resources by encouraging recycling
- Extended product lifetime through easy upgrades
- Reduced solid waste production through take-back policy
Environmental Policy
- The product has been designed to enable proper reuse of parts and recycling and should not be thrown away at its end of life.
- Users should contact the local authorized point of collection for recycling and disposing of their end-of-life products.
- Visit the MSI website and locate a nearby distributor for further recycling information.
- Users may also reach us at gp[email protected] for information regarding proper disposal, take-back, recycling, and disassembly of MSI products.
Warning
Overuse of screens is likely to affect eyesight.
Recommendations
- Take a 10-minute break for every 30 minutes of screen time.
- Children under 2 years of age should have no screen time. For children aged 2 years and over, screen time should be limited to less than one hour per day.
Copyright and Trademarks Notice
Copyright © Micro-Star Int’l Co., Ltd. All rights reserved. The MSI logo used is
a registered trademark of Micro-Star Int’l Co., Ltd. All other marks and names mentioned may be trademarks of their respective owners. No warranty as to accuracy or completeness is expressed or implied. MSI reserves the right to make changes to this document without prior notice.
Technical Support
If a problem arises with your product and no solution can be obtained from the user’s manual, please contact your place of purchase or local distributor. Alternatively, please visit https://www.msi.com/support/ for further guidance.
MSI MAG274QRF(3CA8)Optix LCD Monitor




















