TOPMAQ SES Series Semi-Electric Stacker

Note: Operator MUST read and understand this operating instruction before use this Electric Forklift Truck.
PREFACE
Read this manual carefully before the machine is taken into use to avoid errors. Correct operations and regular inspections are factors of vital importance for the operating economy and the lifetime of the machine. These important aspects are described in the following related sections. All the information contained in this manual is based on the data available at the time of printing, the manufacturer reserves the right to modify its products at any time, without notice and without liability. It is therefore advisable to regularly check for any changes. The manufacturers shall not be held liable in case of faults or accidents due to negligence, incapacity, an installation by unqualified technicians and improper use of the electric forklift truck.
APPLICATION
The SES series semi-electric stacker is designed for stacking and short-distance transport applications and is intended for use on plane and level floors.
TECHNICAL SPECIFICATIONS
Technical specifications and major dimensions are shown in FIGURE 1 and Table 1, respectively.
Table1
| Model No. | SES1016 | SES1020 | SES1025 | SES1030 | SES1035 | SES1516 | SES1520 | SES1525 | SES1530 | SES1535 | |
| Rated Capacity Q | kg | 1000 | 1500 | ||||||||
| Lifting Height H |
mm | 1600 | 2000 | 2500 | 3000 | 3500 | 1600 | 2000 | 2500 | 3000 | 3500 |
| Fork Length L | 1000 / 1100 / 1150 | ||||||||||
| Fork Width E | 550 | ||||||||||
| Load Center C | 450 | ||||||||||
| Turning Radius | 1340 | 1350 | |||||||||
| Lifting Motor | V/kw | 12 / 1.5 | 12 / 2.5 | ||||||||
| Battery | V/Ah | 12V / 120~130Ah | 12V/ 150Ah | ||||||||
| Charger | V/A | 12 / 15 | |||||||||
| Overall Length A |
Mm | 1580 / 1680 / 1730 | |||||||||
| Overall Width B | 810 | ||||||||||
| Overall Height H1 | 2035 | 1585 | 1840 | 2080 | 2330 | 2035 | 1585 | 1840 | 2080 | 2330 | |
| Net Weight | Kg | 340 | 376 | 392 | 415 | 432 | 350 | 397 | 417 | 436 | 456 |
OPERATING GUIDE
PRE-SERVICE CHECK
- If the stacker has been damaged during transport, it must not be put into service and you should immediately contact your dealer.
- The stacker has been lubricated before delivery, and the hydraulic unit has been filled with hydraulic oil.
- If a battery has been supplied with the stacker, the battery is charged.
- If a charger has been supplied with the stacker, it should be installed as soon as possible in order that the battery can be charged when necessary.
PRE-SERVICE CHECK
- If the stacker has been damaged during transport, it must not be put into service and you should immediately contact your dealer.
- The stacker has been lubricated before delivery, and the hydraulic unit has been filled with hydraulic oil.
- If a battery has been supplied with the stacker, the battery is charged.
- If a charger has been supplied with the stacker, it should be installed as soon as possible in order that the battery can be charged when necessary.
BATTERY CHARGING
- Turn the key and switch on, when the display indicated voltage is below 11 volt or the red-light show with the buzz, please charge up the battery.
- The rated specification of the battery charger supplied:
- Input: 220V AC50/60Hz
- Output: 12V DC 15A
- When start charging, insert the output plug of the charger to the charging socket of the stacker first, then the input plug of the charger to the socket of AC power supply. Turn on the charger switch, battery charging is started with an indicator (red lamp) lights up. Normal recharging lasts about 10 hours. When charge is finished, the AC supply should be cut off. It is advisable to recharge the battery after each days work.
- Battery charging should be done in a well-ventilated place and there is no naked flames, no sparks and no heat radiation sources nearby.
- Make sure the level of the electrolyte is above the lower line. If the elements are not covered, top up with distilled water. Under normal conditions topping up can be generally done a month.
MAINTENANCE GUIDE
CONTROL CHECK
Preventive overhaul based on regular checks of the machine will limit wear, and possible defects may be corrected before serious breakdowns take place. Careful maintenance reduces repair costs and standstills.
DAILY CHECK
- Check that the battery is fully charged (see also the section of the battery).
- Lift the carriage to its top position to check that there is enough hydraulic oil in the system. Refill if necessary with YA-N32 or a similar oil.
WEEKLY CHECK
The user of the stacker should spend a few minutes every week on cleaning. Special attention should be paid to the wheels and axles, see if there is thread, rags and the like blocked on.
HALF-YEAR CHECK
- Lubricate the lifting chain. If the stacker is working in dust-laden circumstances, it should occasionally be cleaned with an o l-impregnated towel. Check the chain for wear.
- Check and tighten possible loose screws and nuts and the cable joints of the battery.
- Check brush wear in the pump motor, and take away possible irregular so that a good contact is maintained.
OIL CHANGE IN THE HYDRAULIC SYSTEM
We recommend to change the hydraulic oil after one month’s operation (or 200 hours), and even if the operation time has not reached, change the oil once a year. Oil change is most easily done in the following way: Make sure that the carriage is at bottom position. Dismount the hose at the bottom of the cylinder and place the hose in a container. Activate the lifting handle, the pump starts, and the oil tank will be emptied of oil. Use hydraulic oil YA-N32 or the like. In cold stores where the temperature may be lower we recommend hydraulic oil YH-10. When you have lifted and levered the carriage 2 or 3 times, there is no more air in the system, and the machine will again work normally. If the stacking height has not been obtained it is necessary to refill.
BATTERY MAINTENANCE
The acid level must be checked at least once a week. Refilling must not take place until charging has been finished, as the acid expands during charging. Only distilled water can be used for refilling. The battery surface must be kept clean and dry, as dirt and wet will cause leakage of current and consequently reduced battery capacity. Acid spill can be neutralized with soda solution or diluted ammonia, which is to be washed off with water. The terminal connections must be firmly tightened and greased with acid free grease which prevents sulphate formations. Sulphate coating reduces the contact surface, resulting in a considerable voltage loss.
SPARE PARTS LIST
| Item | Description | Qty | Item | Description | Qty | Item | Description | Qty |
| 1 | Outer mast assembly | 1 | 35 | Chain | 1 | 79 | Locating sleeve | 1 |
| 2 | Battery | 1 | 36 | Clip | 8 | 80 | O-seal ring | 1 |
| 3 | Front roller | 2 | 37 | Rear cover | 2 | 81 | Piston | 1 |
| 4 | Bearing | 4 | 38 | Locating piece | 6 | 82 | Seal ring | 1 |
| 5 | Axle | 2 | 39 | Circlip | 1 | 83 | Nut | 2 |
| 6 | Tightening pin | 2 | 40 | Spacer | 1 | |||
| 7 | Guard board | 1 | 41 | Bearing | 2 | 85 | Oil hose unit | 1 |
| 8 | Bolt | 6 | 42 | Circlip | 1 | 86 | Cylinder | 1 |
| 9 | Spacer | 6 | 43 | Wheel housing | 1 | 87 | Bolt | 2 |
| 10 | Hydraulic power pack | 1 | 44 | Screw | 1 | 88 | Holding-down clip | 2 |
| 11 | Power switch | 1 | 45 | Axle | 1 | 89 | O-seal ring | 1 |
| 12 | Voltage display | 1 | 46 | Bearing | 2 | 90 | Seal ring | 1 |
| 13 | Bolt | 6 | 47 | Driving wheel | 1 | 91 | Screw | 1 |
| 14 | Spacer | 6 | 48 | Locating piece | 4 | 92 | Jack cover | 1 |
| 15 | Spacer | 2 | 49 | Screw | 4 | 93 | Dust seal | 1 |
| 16 | Screw | 1 | ||||||
| 17 | Filling piece | 1 | 62 | Handle | 1 | 105 | Hoop | 1 |
| 18 | Lateral roller unit | 1 | 63 | Nut | 1 | 106 | Nut | 3 |
| 20 | Shield | 1 | 64 | Joint | 1 | 107 | Nut | 2 |
| 21 | Cover | 1 | 65 | Bolt | 1 | 108 | Bolt | 1 |
| 22 | Screw | 1 | 66 | Nut | 1 | |||
| 23 | Driven wheel | 1 | 67 | Connecting rod | 1 | 148 | Nut | 4 |
| 24 | Pin | 1 | 68 | Center rod | 1 | 149 | Bolt | 2 |
| 25 | Spring | 2 | 69 | Connecting seat | 1 | 150 | connect | 2 |
| 26 | Handlebar | 2 | 70 | Brake shoe | 1 | 151 | Chain | 2 |
| 27 | Axle | 1 | 71 | Spring socket | 1 | |||
| 28 | Bushing | 2 | 72 | Spring | 1 | |||
| 29 | Spacer | 1 | 73 | Spring socket | 1 | |||
| 30 | Cast joint seat | 1 | 74 | Spring | 1 | |||
| 31 | Bushing | 2 | 75 | Socket sleeve | 1 | |||
| 32 | Tightening pin | 2 | 76 | Pin | 1 | |||
| 33 | Chain wheel | 2 | 77 | Washer | 1 | |||
| 34 | Chain adjuster | 1 | 78 | Piston rod | 1 |


Mast Part List for SES1020;1025;1030;1035;1520;1525;1530;1535
| No. | Description | Qty. | No. | Description | Qty. |
| 121 | Bearing | 8 | 147G | Fixed Fork | 4 |
| 137 | Locking Ring for Axle | 14 | 148 | Nut | 4 |
| 138 | Screw | 8 | 149 | Bolt | 2 |
| 139 | Nut | 8 | 150 | Connect | 2 |
| 140 | Linking Plate | 1 | 151 | Chain | 2 |
| 141 | Screw | 4 | 152 | Roller for Chain | 2 |
| 142 | Locking Ring for Hole | 4 | 153 | Inner Mast | 1 |
| 143 | Bearing | 8 | 154 | Screw | 4 |
| 144 | Roller | 4 | 155 | Axle | 4 |
| 145 | Locking Ring | 8 | 156 | Elastic Pin | 1 |
| 146 | Steel Ball | 8 | 157 | Frame | 4 |

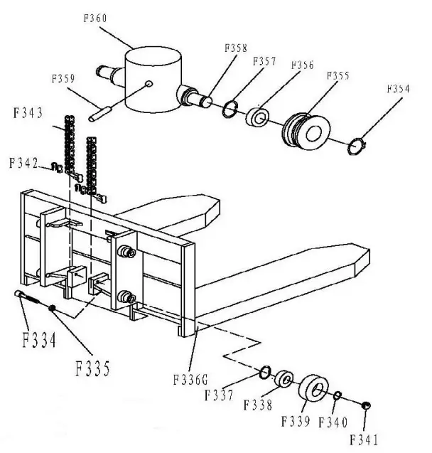
Mast Part List for SES1016;1516;
| No. | Description | Qty. | No. | Description | Qty. |
| F334 | Bolt | 4 | F354 | Locking Ring | 2 |
| F335 | Nut | 4 | F355 | Roller for Chain | 2 |
| F336 | Fork | 2 | F356 | Bearing | 2 |
| F337 | Locking Ring | 4 | F357 | Locking Ring | 2 |
| F338 | Bearing | 4 | F358 | Axle | 1 |
| F339 | Roller | 4 | F359 | Elastic Pin | 1 |
| F340 | Locking Ring | 4 | F360 | Frame | 1 |
| F341 | Steel Ball | 4 | |||
| F342 | Connect | 2 | |||
| F343 | Chain | 2 |

















