SEALEY IWMH2003.V2 2000W Wall Mounting Infrared Quartz Heater Instructions
Thank you for purchasing a Sealey product. Manufactured to a high standard, this product will, if used according to these instructions, and properly maintained, give you years of trouble free performance.
IMPORTANT: PLEASE READ THESE INSTRUCTIONS CAREFULLY.
NOTE THE SAFE OPERATIONAL REQUIREMENTS, WARNINGS & CAUTIONS. USE THE PRODUCT CORRECTLY AND WITH CARE FOR THE PURPOSE FOR WHICH IT IS INTENDED. FAILURE TO DO SO MAY CAUSE DAMAGE AND/OR PERSONAL INJURY AND WILL INVALIDATE THE WARRANTY. KEEP THESE INSTRUCTIONS SAFE FOR FUTURE USE.

SAFETY

ELECTRICAL SAFETY
- WARNING! It is the responsibility of the owner and the operator to read, understand and comply with the following:
You must check all electrical products, before use, to ensure that they are safe. You must inspect power cables, plugs, sockets and any other connectors for wear or damage. You must ensure that the risk of electric shock is minimised by the installation of appropriate safety devices. A Residual Current Circuit Breaker (RCCB) should be incorporated in the main distribution board. You must also read and understand the following instructions concerning electrical safety.
Ensure that cables are always protected against short circuit and overload.
Regularly inspect power supply cables and plugs for wear or damage and check all connections to ensure that none are loose.
IMPORTANT: Ensure that the voltage marked on the appliance matches the power supply to be used and that the plug is fitted with the correct fuse – see fuse rating at right.
DO NOT use worn or damaged cables, plugs or connectors. Have any faulty item repaired or replaced immediately by a competent electrician.
It is recommended that this heater is wired directly to a fused isolator switch. If, however, a plug is fitted, the following applies:
Fit a new plug according to the following instructions (UK only).
- Connect the GREEN/YELLOW earth wire to the earth terminal ‘E’.
- Connect the BROWN live wire to the live terminal ‘L’.
- Connect the BLUE neutral wire to the neutral terminal ‘N’.
- After wiring, check that there are no bare wires, that all wires have been correctly connected, that the cable outer insulation extends beyond the cable restraint and that the restraint is tight.
GENERAL SAFETY
- WARNING! Ensure the heater is at least 900mm from any object, 450mm from the ceiling and 1800mm from floor level.
- WARNING! This heater is not equipped with a device to control the room temperature. Do not use this heater in small rooms when they are occupied by persons not capable of leaving the room on their own, unless constant supervision is provided.
- WARNING! If a fuse blows, ensure it is replaced with an identical fuse type and rating.
- WARNING! Never touch the element glass directly with fingers. Use a soft cloth, otherwise the tube may get damaged.
- Familiarise yourself with the applications and limitations of the heater.
- Ensure the heater is in good condition before use. If in any doubt do not use the unit and contact your Sealey stockist.
- Only use recommended attachments and parts. Using unauthorised parts maybe dangerous and will invalidate your warranty.
- Check that element guards are in place, undamaged and firmly attached.
- Keep tools and other items away from the heater when it is in use.
- Keep the work area clean and clear of unnecessary items.
- Keep children and unauthorised persons away from the heater, as it gets very hot.
- Disconnect from mains and allow to cool before moving or attempting any cleaning or maintenance.
- DO NOT use this heater with timers or other devices which switch the heater on automatically.
- DO NOT get the heater wet.
- DO NOT locate the heater below the power outlet. It should be plugged in to a socket that is easily visible and reachable.
- DO NOT wrap the power supply cable around/on the heater.
- DO NOT use this heater in the immediate surroundings of a bath, shower or a swimming pool.
- DO NOT place the heater close to a curtain and/or other flammable objects.
- DO NOT move the heater whilst in operation or even when still warm.
- DO NOT locate the heater in an area where there are flammable gases, dust etc.
- DO NOT touch the heater. Allow time for it to cool down after it has been switched off if it needs to be handled for cleaning/ maintenance etc.
- DO NOT dismantle the heater for any reason. The heater must be checked by competent personnel only.
- DO NOT use the heater to perform a task for which it has not been designed.
CAUTION: Some parts of this product can become very hot and cause burns. Particular attention has to be given where children and vulnerable people are present.
NOTE: Children of less than 3 years should be kept away unless supervised continuously.
Children aged from 3 years and less than 8 years shall only switch on/off the appliance provided that it has been placed or installed in its intended normal operating position and they have been given supervision or instruction concerning use of the appliance in a safe way and understand the hazards involved. Children aged from 3 years and less than 8 years shall not plug in, regulate and clean the appliance or perform user maintenance.
NOTE: This appliance can be used by children aged from 8 years and above and persons with reduced physical, sensory or mental capabilities or lack of experience and knowledge if they have been given supervision or instruction concerning use of the appliance in a safe way and understand the hazards involved. Children shall not play with the appliance. Cleaning and user maintenance shall not be made by children without supervision.
INTRODUCTION
A totally dry heat, no condensation, no gas, no fumes and no smell. Reaches maximum heat output within seconds of being turned on. Highly polished aluminium reflector for maximum heat efficiency. Adjusts horizontally through 25° while mounted. Three settings, controlled by pull cord, allow unit to be on full, half or low power. Ideal for industrial or domestic applications. Suitable for outdoor use only (IP44 Rated).
SPECIFICATIONS
Model no: IWMH2003.V2
Power: 2000W
Input supply: 230V-13A
Dimensions (W x D x H): 485 x 250 x 170mm
MOUNTING/INSTALLATION
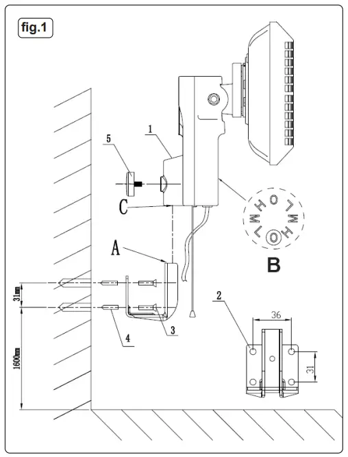
WALL MOUNTING (fig.1). 
Drill 4 holes in wall to mount wall bracket (2) (refer to dimensions in bottom right hand corner of fig.1).
Place wall plugs (4) in holes.
Align wall bracket (2) with holes and then fix with screws (3).
Insert the wall bracket (A) into the hole (C) of the main body (1) of the heater.
Use screw knob (5) to secure the main body (1) to the wall bracket (A).
OPERATION
Note: The infrared lamp is fragile and therefore it is important that it is not subjected to any unnecessary shocks or vibration and is not moved when it is on or until cooled down.
- WARNING! Ensure you read, understand and apply the safety instructions in Section 1 before using the heater.
Ensure the heater is at least 900mm from any object. The heater can be tilted from 0° to 25° set it to the required angle before switching the heater on.
Plug in the heater and pull down on the string to switch it on.
The heater has the following settings:
Position 0: Off position.
Position L: Middle element only.
Position M: Two outer elements.
Position H: All three elements.
Make sure the heater plug is disconnected from the mains supply before any cleaning is attempted. Also allow the heater to cool completely. Do not use water or other liquids, or harsh abrasive cleaners to clean the heater.
Clean the exterior with a soft damp cloth with some mild detergent.
When the heater is no longer required, switch off and unplug the unit.
To replace any of the lamps, contact your authorised Sealey stockist.
IWMH2003.V2 is fitted with an tilt safety mechanism so that if, for any reason, the heater would be tilted beyond 25° the heater will cut-out. Position the heater upright to turn the heater back on.
WEEE REGULATIONS
Dispose of this product at the end of its working life in compliance with the EU Directive on Waste Electrical and Electronic Equipment (WEEE). When the product is no longer required, it must be disposed of in an environmentally protective way. Contact your local solid waste authority for recycling information.
ENVIRONMENT PROTECTION
Recycle unwanted materials instead of disposing of them as waste. All tools, accessories and packaging should be sorted, taken to a recycling centre and disposed of in a manner which is compatible with the environment. When the product becomes completely unserviceable and requires disposal, drain any fluids (if applicable) into approved containers and dispose of the product and fluids according to local regulations.
Note: It is our policy to continually improve products and as such we reserve the right to alter data, specifications and component parts without prior notice. Please note that other versions of this product are available. If you require documentation for alternative versions, please email or call our technical team on [email protected] or 01284 757505.
Important: No Liability is accepted for incorrect use of this product.
Warranty: Guarantee is 12 months from purchase date, proof of which is required for any claim.
Sealey Group, Kempson Way, Suffolk Business Park, Bury St Edmunds, Suffolk. IP32 7AR
01284 757500
01284 703534
[email protected]
www.sealey.co.uk




















