COSTWAY FP10034 Wall Mounted Infrared Heater

Thank you for purchasing your new heater.
These operating instructions will help you use it properly and safely. We recommend that you take some time to read this instruction manual to ensure that you fully understand all the operational features it offers.
Read all the safety instructions carefully before use and keep this instruction manual for future reference.
Safety warnings
READ ALL INSTRUCTIONS BEFORE ATTEMPTING TO OPERATE THIS UNIT. KEEP THE ASSEMBLY INSTRUCTIONS FOR FUTURE REFERENCE. KEEP THE ORIGINAL PACKAGING FOR USE WHEN STORING THE HEATER DURING EXTENDED PERIODS OF NON-USE.
- Read all instructions before using this unit.
- Do not leave this unit unattended when in use.
- This heater will get hot when in use. Do not touch hot surfaces.
- Caution: Some parts of this product can become very hot and cause bums. Particular attention has to be given when children and vulnerable people are present.
- Do not move the unit when in use. Wait until the heater is completely cool before moving and check that it has been unplugged from the power supply.
- Position the unit at least 1 m (39″) away from highly combustible materials such as furniture, trees, leaves, dry grass and bushes.
- The heater must be a minimum of 1.8m(71 “) away from the ground and a minimum of 0.5m (20”) away from the ceiling of a building or overhanging items.
- The heater must not point the heating element towards the ceiling. The heating element must face the area to be heated.
- Warning: In order to avoid overheating do not cover the heater. It is not for drying clothes.
- Keep children and pets at a safe distance from the unit.
- This appliance can be used by children aged from 8 years and above and persons with reduced physical, sensory or mental capabilities or lack of experience and knowledge if they have been given supervision or instruction concerning use of the appliance in a safe way and understand the hazards involved.
- Children shall not play with the appliance. Cleaning and user maintenance shall not be made by children without supervision.
- Do not operate the heater if any signs of damage or malfunction manifest themselves.
- Do not attempt to repair or adjust any electrical or mechanical functions on this unit. The unit does not contain any user serviceable parts. Only a qualified electrician should perform servicing or repairs. Never attempt to repair the unit yourself.
- If the power cable is damaged, it must be replaced by qualified persons in order to avoid a hazard.
- Do not handle the element with bare hands. If it is inadvertently touched, remove finger marks with a soft cloth and methylated spirits or alcohol, otherwise the marks will bum into the element causing premature failure of the heater.
- Do not replace or attempt to replace the element in this product.
- This product is suitable for indoor and outdoor use. Do not use this heater in the immediate surroundings of a bathroom, shower room or swimming pool.
- This product must not be left outdoors exposed to the elements for long periods of time.
- Do not touch the plug with wet or damp hands.
- Do not run the power cable under carpeting. Do not cover the power cable with rugs, runner, or similar coverings. Arrange the power cable away from foot traffic and where it will not be tripped over.
- Do not wind the power cable around the unit.
- Do not insert or allow foreign objects to enter any ventilation or opening on the heater, as this may result in electric shock, fire, or damage to the heater.
- To prevent a possible fire, do not block the air vents.
- A heater has hot and arcing or sparking parts inside. Do not use in areas where petrol, paint, explosive and/or flammable liquids are used or stored. Keep unit away from heated surfaces and open flames.
- Where possible, avoid the use of an extension cable as this may overheat and cause a fire. However, if you have to use an extension cable, ensure ii is suitable for the purpose, has been tested for outdoor use and preferably has an RCD device fitted or attached.
- Always ensure the heater is plugged into a suitable socket, one that is tested for outdoor use.
- To disconnect heater, tum controls to OFF, then remove plug from socket. Do not unplug by pulling on the power cable.
- Always unplug the unit and ensure the unit is completely cooled down before moving, cleaning or storing.
- This heater is intended for domestic use only and should not be used commercially for contract purposes. Any alternative use, not recommended by the manufacturer, may result in fire, electric shock, or injury to persons.
- The use of attachments on the heater is not recommended.
- Warning: This heater is not equipped with a device to control the room temperature. Do not use this heater in small rooms where occupied by persons not capable of leaving a room on their own, unless constant supervision is provided.
- Check exterior walls for areas of damage before installing the heater.
- Always use on a dry, suitably strong, stable, flat and level surface.
- Check exterior walls for communication and electrical cables and pipelines. Should any service lines be present in the immediate vicinity do not install your heater, find an alternative location to install this product.
- Do not position directly above or below an electrical socket.
- Do not remove any of the warning stickers or signs from the product.
Installation
Before installation, these matters need to be noted:
- Products should be put down gently.
- Acid and alkali environment installation is not recommended.
- The product must be grounded.
- It is necessary to check whether the voltage on the product nameplate is consistent with the local voltage.
- Ensure that the rated power has sufficient current carrying capacity.
Ensure the installation location of the product
For the safe use of the product, the product installation position should guarantee the bottom minimum height of 1.8 m(71 “) from the ground, ceiling, roof, or other coverings minimum distance is 0.5 m (20″), minimum distance with both sides wall is 0.5 m(20”) (as shown in figure 1)
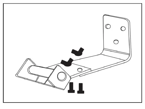
Installation steps
I .According to the product installation location, use percussion drill to make three diameter 8 mm(0.3″) round holes.
Insert the three plastic wall anchors into the three holes.
Fixed the bracket by three ST4*35 screws and make sure the installation points fixed securely.
Before fixing the heater, make sure the rocker power switch is on the right side and then fix the bracket and heater by two M6*14 screws and butterfly nuts. 
Operating Instructions
The rocker power switch on right side to control power on/off
Remote Control
- On I Off
Turn the heater on or off or put it on standby. - First gear
After turning on the heater, you can choose low heating. - Second gear
After turning on the heater, you can choose moderate heating. - Third gear
After turning on the heater, you can choose high heating.
Maintenance and Cleaning
Attention! Careful and regular maintenance of Infrared Heater is required to attain a long and efficient operation of your appliance.
- Check the cleanliness of the Reflector and IR-Filament at least once a month. If necessary, apply cleaning and maintenance instructions.
- The number of checks may be increased considering the amount of the dust in the environment.
- Check the deformation of the Reflector, Wire and Frame visually while cleaning the appliance. In case of any deformation, consult a qualified technician.
- Check the power cable and plug visually while cleaning the appliance. In case of any deformation, consult a qualified technician.
- It is recommended to change the reflector every 2 years for more efficient operation.
Cleaning
Attention! Regular and careful cleaning helps your heater operate for longer years and more efficiently.
- Unplug your power cable for your safety before cleaning your appliance.
- Take out the front grid wire through the inlets on the frame using a slotted screwdriver.
- Make sure that the power is off for your safety. Power cable plug must be unplugged.
- The reflector and filament must be cleaned with a soft cloth, a smooth brush or cool or dry air. The cloth may be damp but never too wet and the cleaner should not include any chemical.
- Refrain from using cleaning material likely to damage the reflector (cleanser etc.).
- Insert the wire grid using a slotted screwdriver.
Installation positions
Attention! Fixing only at ±5° horizontally is of great importance for permanent operation.
Safety Distances: Minimum distances required for safety

Installation Instructions with Right and Wrong Positions
DIRECT YOUR HEATER TOWARDS THE MOST APPROPRIATE ANGLE
Do not let the light out through window, glasses etc. as the heater primarily heats the locations onto which its light falls.



Application Fields
Application fields of Infrared Line and Infrared Star models
Home Applications
- Sitting room
- Nursery room for children Guest room
- Corridor
- Bathroom
- Nursery room of babies Study room
- Summer house
- Hobby room
- Swimming pool
Office Applications
- Office
- Meeting room Entrance
- Warehouse
- Workshop
- Shop
- Internet cafe
- Market
- Showroom
- Swimming pool Classroom Greenhouse
- Church
- Factory and production line
- Warehouse and loading area
- Exhibition
- Hotel, Nursery room Passageway
- Airport
- Train station

Specifications
With your inspiring rating, COSTWAY will be more consistent to offer you EASY SHOPPING EXPERIENCE, GOOD PRODUCTS and EFFICIENT SERVICE!




















