COSTWAY EP25150US-SL Electric Infrared Heater

IMPORTANT SAFETY INSTRUCTIONS
READ CAREFULLY
The infrared heater is designed for safe operation. Nevertheless, installation, maintenance and operation of the heater can be dangerous. Observing the following procedures will reduce the risk of fire, electric shock, injury to persons and keep installation time to a minimum. Save these instructions for future used.
- Read all instructions before using this heater.
- Remove the unit from it’s packaging and check to make sure it is in good condition before using it.
- Do not let children play with parts of the package (such as plastic bags).
- Check the household voltage to ensure it matches the heater’s rated specification.
- Check the power cord and plug carefully before used, to make sure that they are not damaged.
- Before unplugging the power cord, be sure to turn off the power, when energizing the unit, be sure your hands are dry to prevent from electric shock.
- Do not use flammable objects near or point the heater like furniture, pillows. bedding, paper, clothes and curtains at least 3 feet (1meter) from the front of the heater and keep them always the sides and rear.
- Do not use near or in the immediate vicinity of a bath or swimming pool or any source of liquid.
- To protect against electric shock, do not immerse cord or plug in water or any other liquid.
- Do not insert or allow foreign objects to enter any ventilation or exhaust opening , as this may cause an electric shock, fire or damage to the heater.
- Always unplug the heater when not in use.
- Do not allow cord to overhang the counter top where it can be easily pulled by children.
- Do not put fingers or foreign objects into the grill while in operation.
- . Do not leave the appliance unattended when in use.
- This heater is not intended for use in bathrooms, laundry and similar indoor locations, never located heater where it may fall into a bathtub or other water container.
- Non compliance with instructions or any other improper use or mishandling may cause danger.
- This appliance is not intended for use by persons (including children) with reduces physical, sensory or mental capabilities or lack of experience and knowledge unless they have been given supervision or instruction concerning the use of the appliance by a person responsible for their safety. Children and vulnerable people should be supervised to ensure they do not play with the appliance.
- If the supply cord is damaged in any way, it must be replaced by the manufacturer or a similarly qualified person in order to avoid a hazard.
- To prevent overheating of this appliance, keep the air inlets and outlets clean and free of anything that may cause blockage. Check all inlets and outlets from time to time to ensure it is clear of any dirt or dust accumulation. DO NOT COVER.
- Parts of the heater may exceed 200℃ , contact with the heating tube, reflector, or metal parts near the heating tube, may cause severe BURNS . To avoid burns, do not let bare skin touch hot surface.
- . NEVER place hands under the heating elements. ALWAYS allow heating element to cool at least 10 minutes before touching the heating tube or adjacent parts.
- This product contains recyclable materials. Do not dispose this product as unsorted municipal waste. Please contact your local municipality for the nearest collection point.
Introduction
This infrared heater produce instant and comfortable heat like the sun. These robust and weatherproof heaters are designed for domestic and commercial heating applications within indoor and outdoor areas. This heater is for use on 120 volts. The cord has a plug as shown at A in Figure 68.1. An adapter as shown at C is available for connecting three-blade grounding-type plugs to two-slot receptacles. The green grounding lug extending from the adapter must be connected to a permanent ground such as a properly grounded outlet box. The adapter should not be used if a three-slot grounded receptacle is available.
| Model | SUNDEAR MOON |
| Voltage(V) | 120V AC |
| Wattage(W) | 1500 |
| Hertz(Hz) | 60 |
| Dimensions W×H×D(mm) | 778×125×135 |
| Weight N.W(KG) | 3.6 |
Warning
Tools Needed:
| * Pencil | *Hammer | *Level | |
| *Screw Driver | *Power Drill and drill bits | ||
A wall mounting bracket is provide with the heater which has been specifically designed to allow this product to be fitted to a wall or ceiling before drilling the holders for the wall/ceiling is solid and that there are no hidden water pipes or electric wires. The heater must be installed no less than 16’’ from side walls and no less than 6”’ off the floor.
Important: Ensure that the supply cables is well mounted and that it does not come into contact with reflector of the heater or that does not trail into heated area, the supply cable can be fixed to the metal mounting bracket behind heater with plastic zip ties.
- This heater should be installed by a competent person, i.e. a qualified electrician.
- Always disconnected the heater from the electricity supply and allow it to cool before installation.
- This heater can be mounted in a horizontal or vertical manner.
- For both wall and ceiling mounting, the lowest part of the heater must be located at or above a minimum height of 1.8m from ground level, so that the heater can not be touched when in operation.
- When mounting horizontally or to a ceiling, do not position the heater at an angle more than 90°and less than 45°as shown in Fig. A and B.
- he supply cable must be at the lower end of the heater if the heater is installed at an angle or vertically.
- Keep the supply cord away from the body of the heater which will get hot during use.
- Do not install the heater on an inflammable surface.
- Observe the minimum safe distance between the heater body and the inflammable surfaces when mounted.
- The heater should always have a minimum clearance of 0.5m from a ceiling and adjacent walls.
- If the heater is to be used outside, a weatherproof outlet is recommended.
- Before drilling ensure that there are no wires or water pipes in the area where the heater is to be installed.
- The heater must be installed on the mounting brackets provided.
- Fasten the brackets securely to the mounting surface and the backside of the heater using the nuts and screws supplied.
- Fasten the heater securely on the brackets using the nuts and bolts supplied.
- The brackets can be used to adjust the direction of the heater, adjust the heater angle by loosening the two bolts on the wall mounting bracket, tighten the bolts again when the desired angle is reached.
Installation Accessories
Wall Mounted Installation

The heater must be installed at least 1.9m above the floor Attention: cable should not passing thought the heater
Correct Mounting Installation Position 
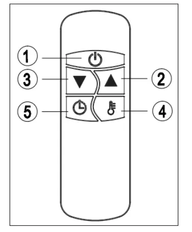
Remote Control Instructions
- POWER BUTTON: Turn the heater off.
- UP BUTTON: Increase timer and level.
- DOWN BUTTON: Decrease timer and level.
- LEVEL BUTTON: Use to adjust the heat levels(L1-L2). Press the Level button then use the up and down buttons(buttons 2 and 3) to increase or decrease the heating level.
- TIMER BUTTON: To set the timer from 0H-9H, which is the number of hours it will run. 0H will display and then adjust to the number of hours you would like to set, using the up and down buttons(2 and 3).
Noted: All SUNDAR MOON heaters and their remote controls have the same frequency, so it is possible to control several heaters with just one remote.
PUSH BUTTON: on the right end of heater, it could be manually operated without remote control.
Inserting Batteries(not included)
Insert 2 AAA/ Alkaline type batteries into your remote control
- Flip the backside of your remote control and pull out battery cover. Insert the batteries in accordance with the instructions and polarity the batteries.
- Change the batteries in the same way depicted above.
NOTICE:
- Replace the old batteries with the same type of batteries. Otherwise, your heater may not function well.
- Pull out the batteries in case of long terms of disuse to prevent leakage which may impair your remote control.
- Do not allow water or liquid to get into the remote control.
Caution:
When the appliance is not operated for a long period of time, cleaning or maintenance is conducted or when the location of the heater is changed, the heater should be turned to OFF and unplugged from the electrical connection.
Periodic inspection and removal of dirt and contaminants will ensure that equipment can be operated safely.
























