

THIS PRODUCT IS FOR
OUTDOOR USE ONLY
INFRARED QUARTZ HEATER
MODEL NO: IQ2000S
PART NO: 6939006
ASSEMBLY & OPERATION
INSTRUCTIONS
ORIGINAL INSTRUCTIONS DL0621 – iSS 4
INTRODUCTION
Thank you for purchasing this CLARKE Infrared Heater.
PLEASE NOTE THAT THIS PRODUCT IS FOR OUTDOOR USE ONLY
Before attempting to use this product, please read this manual thoroughly and follow the instructions carefully. In doing so you will ensure the safety of yourself and that of others around you, and you can look forward to your purchase giving you long and satisfactory service.
OPERATING PARAMETERS
- It must be operated as prescribed in the operating manual.
- Is not intended to be used for domestic use or for the heating of habitable areas.
- Is not intended to be used to reach and maintain a certain level of human thermal comfort within an enclosed space in which the heater is situated.
- Is not intended to be used in enclosed areas with restricted ventilation.
- Is not for use in areas with high levels of fluctuating drafts.
- Is not intended for warming animals or livestock.
GUARANTEE
This product is guaranteed against faulty manufacture for a period of 12 months from the date of purchase. Please keep your receipt which will be required as proof of purchase.
This guarantee is invalid if the product is found to have been abused or tampered with in any way, or not used for the purpose for which it was intended.
Faulty goods should be returned to their place of purchase, no product can be returned to us without prior permission.
This guarantee does not affect your statutory rights.
SAFETY PRECAUTIONS
GENERAL
- Always read and ensure you fully understand the following precautions and the hazards associated with this type of heater. Do not allow anyone who has not read these instructions to operate this heater. Please keep these instructions in a safe place for future reference.
- Always check for damage before using the heater. Any damage should be properly repaired or the part replaced. If in doubt, DO NOT use the heater and consult your local Clarke dealer.
- Never carry out any modifications to this product. If experiencing the difficulty of any kind consult your local dealer.
- Use the heater in accordance with any applicable fire regulations.
OPERATING ENVIRONMENT
- Never use the heater where petrol, paint thinners or other highly flammable vapor or where high levels of airborne dust may be present.
- Disconnect the heater from the power supply when not in use.
- Never place anything on top of the heater. so as to impede free airflow.
- Do not expose the heater or power cable to rain or wet conditions. Any water entering the heater will increase the risk of electric shock. The heater must be protected from rain.
- Never locate the heater near combustible materials. Allow a distance of at least 1 meter.
- Allow a distance of at least 1 meter from an adjacent wall and avoid installing the heater close to power socket outlets.
- Do not allow the heating element to become covered with dust which could become a fire hazard. If used in a dusty workplace it should be cleaned as described under Cleaning and Maintenance.
- Never touch the heater element for at least 15 minutes after switching off.
- Do not leave the heater unattended.
- Do not use this heater with a programmable timer used to switch it on automatically.
- Never attach any ductwork to the front of the heater.
- That this product is for outdoor use only.
PERSONAL SAFETY
- When the heater is to be operated in the presence of other people the user is responsible for informing those present of the safety precautions and of the hazards involved.
- The heater is not to be used by children or persons with reduced physical, sensory or mental capabilities, or lack of experience and knowledge.
- Always ensure that people and animals are a safe distance from the front of the heater when in operation.
- This heater will be hot when in operation and should not be touched until it has fully cooled down after switching off.
- Never leave the heater plugged in without adult supervision if children or animals are likely to be present.
ELECTRICAL SAFETY
- Make sure that the voltage on the rating label is the same voltage as the power supply. If in doubt consult a qualified electrician.
- Never modify the plug in any way. Do not use adaptor plugs with earthed appliances. Correct plugs and outlets will reduce the risk of electric shock.
- Do not abuse the electrical cable. Keep the cable away from sources of heat, sharp edges or moving parts. Damaged or tangled cables increase the risk of electric shock.
- Regularly inspect the power cable for damage. DO NOT use if damaged & keep it away from the source of heat. If damaged, it must be replaced.
DAMAGE & REPAIRS
- If necessary, have your heater repaired by a qualified person using identical replacement parts to maintain the safety of the heater.
SAFETY SYMBOLS.
| Hot surface, do not touch. | ![]() | Do not cover. |
The above symbols are found on the heater.
ELECTRICAL CONNECTIONS
WARNING! READ THESE ELECTRICAL SAFETY INSTRUCTIONS THOROUGHLY BEFORE CONNECTING THE PRODUCT TO THE MAINS SUPPLY.
Before switching the product on, make sure that the voltage of your electricity supply is the same as that indicated on the rating plate. This product is designed to operate on
230VAC 50Hz. Connecting it to any other power source may cause damage.
This product may be fitted with a non-rewireable plug. If it is necessary to change the fuse in the plug, the fuse cover must be refitted. If the fuse cover becomes lost or damaged, the plug must not be used until a suitable replacement is obtained.
If the plug has to be changed because it is not suitable for your socket, or due to damage, it should be cut off and a replacement fitted, following the wiring instructions shown below. The old plug must be disposed of safely, as insertion into a mains socket could cause an electrical hazard.
WARNING! THE WIRES IN THE POWER CABLE OF THIS PRODUCT ARE COLOURED IN ACCORDANCE WITH THE FOLLOWING CODE: BLUE = NEUTRAL BROWN = LIVE YELLOW AND GREEN = EARTH
If the colors of the wires in the power cable of this product do not correspond with the
markings on the terminals of your plug, proceed as follows.
- The wire which is colored blue must be connected to the terminal which is marked N or colored Black.
- The wire which is colored brown must be connected to the terminal which is marked L or colored Red.
- The wire which is colored Yellow and Green must be connected to the terminal which is marked or colored Green.
Plug must be BS1363/A approved.

Ensure that the outer sheath of the cable is firmly held by the clamp
We strongly recommend that this machine is connected to the mains supply via a Residual Current Device (RCD)
If in any doubt, consult a qualified electrician. DO NOT attempt any repairs yourself.
ASSEMBLY & OPERATION
Unpack the heater and check for any damage sustained in transit. Notify your Clarke dealer immediately of any defects.
The heater is resistant to splashing but should be sheltered from direct rainfall, as should the power cable, plug, and supply outlet socket. An awning, overhanging roof, or another shelter should be used to protect from rain.
The heater should be positioned with at least 1 m clearance from any combustible surfaces including furniture or other fabrics which could be damaged by heat.
Ensure the heater faces the center of the space to be heated.
Never place any objects on, or against the heater.
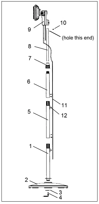
- Set the lower tube (1) through the hole in the base (2) with the welded disc downwards & the locating tongue in its seat in the base. Secure with the washer (3) and hand screw (4).
- Connect tube (5) to the lower tube (1) and secure with the two screws.
- Remove the screw (10) from the end of the small tube (8) and remove the locking ring (7) from tube (6).
- Slide the small tube (8) up through the tube (6) (end with drilled hole first), until it emerges from the other end.
- Screw the locking ring (7) back on to tube 6.
- Connect tube (6) to tube (5) and secure with the two screws.

- Fit the small tube (8) into the socket in the control box (9) and secure with the screw (10).

- Clip the power cable (11) to the clips (12).
- Set the downwards angle of the heater by loosening the mounting bracket with a large x-head screwdriver and adjusting the angle before re-tightening.
- Set the heater to the required height by loosening the locking ring (7) and extending the top tube as required. Tighten the locking ring to secure. Ensure all fittings are suitable secure before using the heater.
- Connect the mains cable to a suitable power socket.
- Pull the string repeatedly to cycle through the following heat settings;
• O = Off
• I = Low
• II = Medium
• III = High

CLEANING AND MAINTENANCE
WARNING: BEFORE CARRYING OUT ANY MAINTENANCE, ENSURE THE HEATER IS SWITCHED OFF, IS DISCONNECTED FROM THE MAINS SUPPLY, AND HAS BEEN GIVEN ADEQUATE TIME TO COOL DOWN.
PERIODICALLY
- If there is any serious build up of dirt, wipe thoroughly with a damp cloth, taking care that no moisture enters the heater.
- Inspect the power cable for damage. Undue heat will cause the cable to stiffen and crack in which case it should be replaced.
- Ensure heating elements are free of dust (use compressed air to clean if possible. (Always wear a dust mask if performing this task).
- Refer to your Clarke dealer if the heater element needs replacing.
FAULT FINDING
| SYMPTOM | PROBLEM | SOLUTION |
| Heater does not operate, although plugged in and switched on. | Plug is loose/ bad con- nection. | Remove the plug & check the con- section of the plug and socket. |
| Fuse blown. dealer. | Replace if necessary and invest- gate the cause. If fuse blow repeatedly, consult your Clarke | |
| No power at socket outlet. | Insert plug into a suitable socket. | |
| Input voltage incorrect. | Ensure power supply matches the rating on the label. |
TECHNICAL SPECIFICATION
| Dimensions (L x W x H) | 175 x 480 x 270 (lamp unit) mm |
| Assembled height on stand | 1575 (min) to 1900 (max) mm |
| Weight (including stand) | 10.75 kg |
| Electrical Supply | 230 V / 50hz |
| Power Cable length | 1.8 m |
| Protection Degree | IP24 (water splash) |
| Operating Temperature | -20 to 30°C |
| Tilt Range | Level to -25 degrees |
| Heat Output | 2 kW |
ENVIRONMENTAL RECYCLING POLICY
Through the purchase of this product, the customer is taking on the obligation to deal with the WEEE in accordance with the WEEE regulations in relation to the treatment, recycling & recovery and environmentally sound disposal of the WEEE.
In effect, this means that this product must not be disposed of with general household waste. It must be disposed of according to the laws governing Waste Electrical and Electronic Equipment (WEEE) at a recognized disposal facility.
PARTS DIAGRAM

PARTS LIST
| ID | DESCRIPTION | ID | DESCRIPTION |
| 1 | Front Housing | 27 | Cable Clamp |
| 2 | Front Housing Clip | 28 | Screw |
| 3 | Heating Element | 29 | Switch |
| 4 | Self-tapping Screw | 30 | Self-tapping Screw |
| 5 | Reflector Bracket | 31 | Self-tapping Screw |
| 6 | Reflector | 32 | Screw |
| 7 | Nut | 33 | Switch Bracket |
| 8 | Cable Clip | 34 | Cable Clip |
| 9 | Self-tapping Screw | 35 | Screw |
| 10 | Spring Washer | 36 | Straight Tube |
| 11 | Rear Housing | 37 | Inner Fastener |
| 12 | Hinge Board | 38 | Upper Tube |
| 13 | U-seal Ring | 39 | Screw Plate |
| 14 | Hinge Seal | 40 | Middle Tube |
| 15 | Hinge | 41 | Lower Tube |
| 16 | Screw | 42 | Main Base |
| 17 | Control Box Bottom | 43 | Large Washer |
| 18 | Closed-End Connector | 44 | Hand Screw |
| 19 | Seal | 45 | Internal Wiring Assembly |
| 20 | Control Box Cover | 46 | Power Cable |
| 21 | Nut | 47 | Screw |
| 22 | Internal Wire Assembly | 48 | Spring Washer |
| 23 | PVC Sticker | 49 | Star Washer |
| 24 | Cable Bush | 50 | Outer Sleeve |
| 25 | Drawing Bush | 51 | Base Cover |
| 26 | Display Disc | 52 | Joint |

DECLARATION OF CONFORMITY
This is an important document and should be retained.
We hereby declare that this product(s) complies with the following directive(s)
: 2014/30/EU Electromagnetic Compatibility Directive
. 2014/35/EU Low Voltage Equipment Directive.
2011165/EU Restriction of Hazardous substances.
The following standards have been applied to the product(s): EN 55014-1:2017, EN 55014-2:2015, EN IEC 61000-3-2:2019, EN 61000-3-3:2013 +A1:2019, EN 60335-2-30:2009 +A11:2012, EN 60335-1:2012 +A11:2014 +A13:2017 +A1:2019 +A14:2019 +A2:2019, EN 62233:2009.
The technical documentation required to demonstrate that the product(s) meet(s) the requirement(s) of the aforementioned director(s) has been compiled and is available for inspection by the relevant enforcement authorities.
The CE mark was first applied in 2014
Product Description: Infrared heater(s) Model number(s): 102000, IQ2000S Serial I batch Number: N/A Date of Issue: 25/05/2021
Signed:
1Q2000,1Q2000S CE DOC (revs) I ) Pap< t or
DECLARATION OF CONFORMITY
This is an important document and should be retained.
We hereby declare that this product(s) complies with the following statuary requirement(s): Electromagnetic Compatibility Regulations 2016 Electrical Equipment (Safety) Regulations 2016. The Restriction of the Use of Certain Hazardous Substances in Electrical and Electronic Equipment Regulations 2012.
The following standards have been applied to the product(s): EN 55014-1:2017. EN 55014-2:2015, EN !EC 61000-3-2:2019. EN 61000-3-3:2013 +A1:2019, EN 60335-2-30:2009 +A11:2012. EN 60335-1:2012 +A11:2014 +A13:2017 +A1:2019 +.414:2019 +A2:2019 EN 62233’2009.
The technical documentation required to demonstrate that the product(s) meet(s) the requirement(s) of the aforementioned legislation has been compiled and is available for inspection by the relevant enforcement authorities.
The UKCA mark was first applied in: 2021
Product Description: Infrared heater(s) Model number(s): IQ2000. IQ2000S Serial I batch Number: N/A Date of Issue: 25/05/2021
Signed:
1Q2000, IQ2000S UKCA DOC (rest Page I of
![]() | A SELECTION FROM THE VAST RANGE OF QUALITY PRODUCTS . AIR COMPRESSORS From DIY to industrial, Plus air tools, spray guns, and accessories. GENERATORS Prime duty or emergency standby for business, home and leisure. POWER WASHERS Hot and cold, electric and engine driven – we have what you need WELDERS Mig, Arc, Tig and Spot. From DIY to auto/industrial. METALWORKING Drills, grinders and saws for DIY and professional use. WOODWORKING Saws, sanders, lathes, mortises and dust extraction. HYDRAULICS Cranes, body repair kits, transmission jacks for all types of workshop use. WATER PUMPS Submersible, electric and engine driven for DIY, agriculture and industry. POWER TOOLS Angle grinders, cordless drill sets, saws and sanders. STARTERS/CHARGERS All sizes for car and commercial use. | ![]() |
PARTS & SERVICE: 0208 988 7400
Parts Enquiries [email protected]
Servicing & Technical Enquiries [email protected]
SALES: UK 01992 565333 or Export 00 44 (0)1992 565335
Malta INTERNATIONAL Hemnall Street, Epping, Essex CM16 4LG
www.clarkeinternational.com






















