
INSTRUCTIONS FOR:
INFRARED QUARTZ HEATER
MODEL: IWMH2003
Thank you for purchasing a Sealey product. Manufactured to a high standard this product will if used according to these instructions and properly maintained, give you years of trouble-free performance.
IMPORTANT: PLEASE READ THESE INSTRUCTIONS CAREFULLY. NOTE THE SAFE OPERATIONAL REQUIREMENTS, WARNINGS, AND CAUTIONS. USE THIS PRODUCT CORRECTLY, AND WITH CARE FOR THE PURPOSE FOR WHICH IT IS INTENDED. FAILURE TO DO SO MAY CAUSE DAMAGE AND/OR PERSONAL INJURY AND WILL INVALIDATE THE WARRANTY.
SAFETY INSTRUCTIONS
1.1 ELECTRICAL SAFETY
WARNING! It is the responsibility of the owner and the operator to read, understand and comply with the following: You must check all electrical products, before use, to ensure that they are safe. You must inspect power cables, plugs, sockets, and any other connectors for wear or damage. You must ensure that the risk of electric shock is inimised by the installation of appropriate safety devices. A Residual Current Circuit Breaker (RCCB) should be incorporated in the main distribution board. We also recommend that a Residual Current Device (RCD) is used. It is particularly important to use an RCD with portable products that are plugged into a supply that is not protected by an RCCB. If in any doubt consult a qualified electrician. You may obtain a Residual Current Device by contacting your Sealey dealer. You must also read and understand the following instructions concerning electrical safety.
1.1.1 The Electricity at Work Act 1989 requires that all portable electrical appliances if used on business premises, are tested by a qualified electrician, using a Portable Appliance Tester (PAT), at least once a year.
1.1.2 The Health & Safety at Work Act 1974 makes owners of electrical appliances responsible for the safe condition of those appliances and the safety of the appliance operators. If in any doubt about electrical safety, contact a qualified electrician.
1.1.3 Ensure that the insulation on all cables and on the appliance is safe before connecting it to the power supply. See 1.1.1 and 1.1.2 and use a Portable Appliance Tester.
1.1.4 Ensure that cables are always protected against short circuits and overload.
1.1.5 Regularly inspect power supply cables and plugs for wear or damage and check all connections to ensure that none is loose.
1.1.6 Important: Ensure that the voltage marked on the appliance matches the power supply to be used and that the plug is fitted with the correct fuse – see fuse rating at right. 1.1.7 DO NOT pull or carry the appliance by the power cable.
1.1.8 DO NOT pull the plug from the socket by the cable.
1.1.9 DO NOT use worn or damaged cables, plugs, or connectors. Immediately have any faulty item Wire repaired or replaced by a qualified electrician. When a BS 1363/A UK 3-pin plug is damaged, cut the cable just above the plug and dispose of the plug safely. Fit a new plug according to the following instructions (the UK only).
a) Connect the GREEN/YELLOW earth wire to the earth terminal `E’.
b) Connect the BROWN live wire to the live terminal `L’.
c) Connect the BLUE neutral wire to the neutral terminal `N’.
d) After wiring, check that there are no bare wires, that all wires have been correctly connected, that the cable outer insulation extends beyond the cable restraint, and that the restraint is tight. Double insulated products, which are always marked with this symbol, are fitted with live (brown) and neutral (blue) wires only. To rewire, connect the wires as
indicated above – DO NOT connect either wire to the earth terminal.
1.1.10 Products that require more than 13 amps are supplied without a plug. In this case, you must contact a qualified electrician to ensure that a suitably rated supply is available. We recommend that you discuss the installation of an industrial round pin plug and socket with your electrician.
1.1.11 Use of an extension cord is not recommended. If an extension reel must be used it should be fully unwound before connection. A reel with an RCD fitted is preferred since any appliance plugged into it will be protected. The cable core section is important and should be at least 2.5mm².
1.2 GENERAL SAFETY INSTRUCTIONS
Familiarise yourself with the applications and limitations of the heater.
Ensure the heater is in good order and condition before use. If in any doubt do not use the unit and contact an electrician.
Only use recommended attachments and parts. To use unauthorized parts may be dangerous and will invalidate your warranty.
Check that element guards are in place, undamaged, and firmly attached.
Keep tools and other items away from the heater when it is in use.
Keep the work area clean and clear of unnecessary items
Keep children and unauthorized persons away from the heater, as it gets very hot.
Disconnect from mains and allow to cool before moving or attempting any cleaning or maintenance.
X DO NOT get the heater wet or used it in damp or wet locations or areas where there is condensation.
X DO NOT locate the heater below the power outlet.
X DO NOT move the heater whilst in operation or even when still warm.
X DO NOT touch the heater elements, even when cold.
X DO NOT disassemble the heater for any reason. The heater must be checked by qualified personnel only.
X DO NOT use this product to perform a task for which it has not been designed.
WARNING! If a fuse blows, ensure it is replaced with an identical fuse type and rating.
X When not in use, store the heater carefully in a safe, dry, childproof location.
WARNING! Never touch the element glass directly with your fingers. Use a soft cloth, otherwise, the tube may get damaged.
WARNING! Ensure the heater is at least 90cm from any object.
INTRODUCTION & SPECIFICATION
A totally dry heat, no condensation, no gas, no fumes, and no smell. Reaches maximum heat output within seconds of being turned on. Highly polished aluminum reflector for maximum heat efficiency. Adjusts horizontally through 25° while mounted. Three settings, controlled by a pull chain, allow the unit to be on low, half, or full power. Ideal for industrial or domestic applications. Suitable for indoor use or outdoor use, if weather protected.
Power:……………….2000W
Input supply:…………………….230V 50Hz 13A
Dimensions (W x H x D)…………….. 485 x 250 x 170mm
MOUNTING INSTALLATION
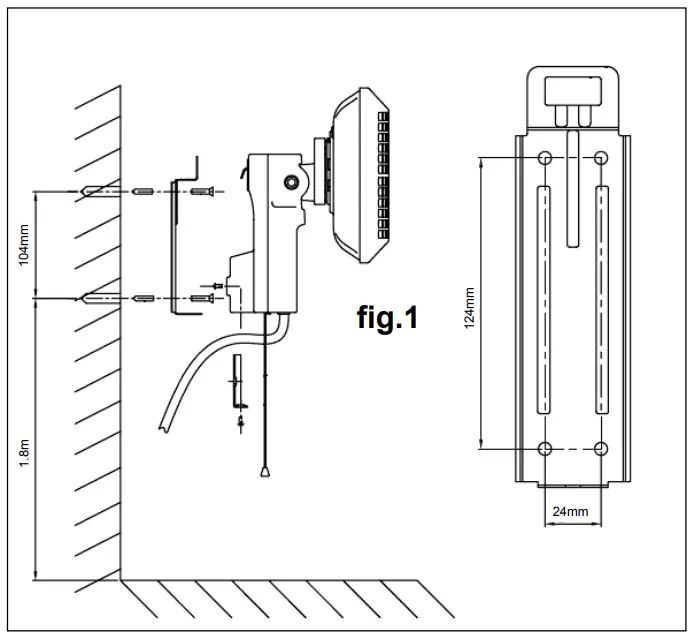
3.1 WALL MOUNTING (fig.1).
IMPORTANT! The following points should be noted): The heater should always have a minimum clearance of 450mm from a ceiling and at least 90cm from any object. Ensure that the mounting surface is capable of supporting the weight of the heater.
3.2 Remove the metal bracket from the heater by removing the single screw from the underside of the bracket and sliding the bracket down.
3.3 Use the bracket as a template, fix the metal bracket to the wall by means of the four holes and appropriate fixings (not supplied).
3.4 Slide the heater back onto the bracket and secure using the single screw.
3.5 Adjust the angle of the heater to direct heat where required.
OPERATION
Note: The infrared lamp is fragile and therefore it is important that it is not subjected to any unnecessary shocks or vibration and is not moved when it is on or until cooled down.
WARNING! Ensure you read, understand and apply the safety instructions in Section 1 before using the heater.
4.1 Ensure the heater is at least 90cm from any object. The heater can be tilted from -0° to 25°- set it to the required angle before switching the heater on.
4.2 Plug in the heater and switch it on.
4.3 The heater has the following settings:
Position 0:………………Off position.
Position L:………….. Middle element only.
Position M:………………Two outer elements
Position H:………….. All three elements
4.4 Make sure the heater plug is disconnected from the main supply before any cleaning is attempted. Also, allow the heater to cool completely. Do not use water or other liquids, or harsh abrasive cleaners to clean the heater.
4.5 Clean the exterior with a soft damp cloth with some mild detergent
4.6 When the heater is no longer required, switch off and unplug the unit.
4.7 To replace any of the lamps, contact your authorized Sealey dealer.
DECLARATION OF CONFORMITY
Declaration of Conformity We, the sole importer into the UK, declare that the products listed below are in conformity with the following standards and directives.
IND. HIGH-VELOCITY PEDESTAL FAN Models HVF16 & HVF18.V3
INFRARED QUARTZ HEATER
Model: IWMH2003
73/23/EEC Low Voltage Directive
89/336/EEC EMC Directive
93/68/EEC Marking Directive
2002/95/EC RoHS Directive
2002/96/EC WEEE Directive
The construction files for these products are held by the Manufacturer and may be inspected, by a national authority, upon request to Jack Sealey Ltd.
Signed by Mark Sweetman![]()
20th November 2006
For Jack Sealey Ltd. Sole importer into the UK of Sealey Power Products.
NOTE: It is our policy to continually improve products and as such, we reserve the right to alter data, specifications, and component parts without prior notice.
IMPORTANT: No liability is accepted for incorrect use of this product.
WARRANTY: Guarantee is 12 months from purchase date, proof of which will be required for any claim.
INFORMATION: For a copy of our catalog and latest promotions call us on 01284 757525 and leave your full name, address and postcode.
Sole UK Distributor
Sealey Group,
Bury St. Edmunds, Suffolk.
01284 757500
01284 703534
www.sealey.co.uk
email [email protected]
HVF16 & HVF18.V3 – 1 – 20/11/06
Get In Touch
Call: 0845 6880112
Email: [email protected]
Our Address
Prevent, Adremit Limited, Unit 5a, Commercial Yard
Settle, North Yorkshire, BD24 9RH



















