Installation Instructions
LCN COMPACT™
Automatic Operator

Series 6400
Model 6440
Modular Low Energy Operator
LCN’s 6400 Compact Series Automatic Operator is a modular low energy operator. The 6440 motor gearbox assembly attaches to a
standard LCN 4040XP mechanical closer. The 6440 can be used with a variety of actuators, including touchless to limit contact risks. When actuated, the motor system drives the pinion of the manual closer to automatically open free-swinging, interior doors. The 6400 Compact series is the first of its kind in its ability to automate a mechanical door without the need for removal and replacement of existing closer hardware. The 6440 motor gearbox assembly can be mounted directly onto an installed 4040XP for full functionality, ordered as a full solution with a new 4040XP for new applications.
The solution is ANSI/BHMA A156.19 listed and capable of meeting ADA requirements.
Technical Specifications
| Power Input | 2.0A @ 24VDC (Supplied Adapter) If using other power supply, ensure the voltage is regulated to +/- 10% |
| Power Output | 75mA @ 24VDC (for wireless receiver) |
| Maximum Powered Opening | 70° to 110° |
| Spring Size | Compatible with Sizes 2 through 4 (Size 3 default) |
| Door Weight | Up to 185 lb |
| Door Width | 36″ |
| Certifications | ADA, BHMA A156.19, UL 325, UL 10C, FCC |
| Features | Power Boost, Fire input, Motor Enable switch |
| Warranty | 2 years |
| Clearance | 3-3/4″ (95mm) behind the door required for 90° installation |
WARNING
Warnings indicate potentially hazardous conditions, which if not avoided or corrected, may cause death or serious injury.
CAUTION
Cautions indicate potentially hazardous conditions, which if not avoided or corrected, may cause minor or moderate injury. auctions may also warn against unsafe practices.
NOTICE
Notices indicate a condition that may cause equipment or property damage only.
Digital Experience, Please Read!
For the best installation experience, scan the QR code with your Smartphone or go to alle.co/6400install This will give you access to specialized interactive installation instructions as well as specific product information
alle.co/6400install
Customer Service
1-877-671-7011 www.allegion.com/us
Kits & Replacement Parts
| MODULE KIT | MODULE & CLOSER KIT | MODULE & BATTERY ACTUATOR KIT | MODULE & HARDWIRED ACTUATOR KIT |
![]() | ![]() | ![]() | ![]() |

NOTICE
#3 Phillips screwdriver required for all module fasteners
WARNING![]()
Always disconnect the main power or disable the motor via switch prior to servicing or cleaning.
CAUTION![]()
This operator is for indoor use only.
CAUTION![]()
Be sure to install all Safety, Traffic Control, and Instruction Labels onto the door, as required.
CAUTION![]()
Do not modify products in any manner including the physical addition of non-approved accessories.
Consult LCN Factory Support for inquiries.
CAUTION![]()
Use only LCN supplied fasteners and do not reuse fasteners.
Closer Orientation
1a. This unit is usable with multiple closer configurations. Pull side orientation is shown in these instructions. See digital instruction for other orientations if necessary.
Parallel arm (PA)

Top jamb (TJ)

Pull side

If your kit includes closer see Installation Instructions included with the device. Refer to the appropriate dimensional mounting template for closer and arm mounting locations. Install closer per appropriate instructions before going to the next step.
Pre-Installation checklist:
- Inspect closer installation. Ensure the closer body is an LCN 4040XP or 4041, a Regular arm has been installed, and the closer has been installed according to one of the mounting templates.
- Check closer spring settings using the Green Dial. Set spring to Sizes 2, 3, or 4 as required. If higher closing forces are required, Power Boost may be enabled on the 6440 to provide additional closing force.
- Open the door manually and allow the closer to close the door. Ensure the door opens and closes smoothly. Adjust hydraulic valves for desired closing speed, if necessary.
- Inspect all fasteners on the 4040XP and ensure all are secure.
Remove existing cover and clip (will not be reused).

If the closer is not installed with Through Bolts, reinstall the closer using provided bolts and machine screws.
4a.Operation as an auto-operator will cause additional stress on closer mounting. More secure mounting bolts are included for use.

Replace pinion screw with more secure screw and washer provided.
Install mounting plate.

6a. Ensure that side of the plate with mounting holes is flush with the door.

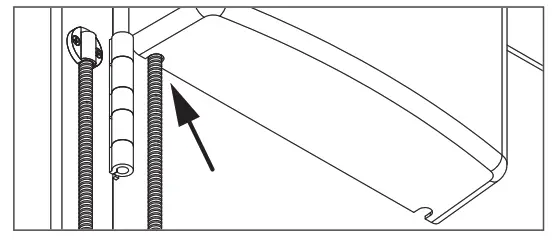
Push the end of door loop into hook until it snaps in place.
Note: door loop not used in top jamb mounted closer
7a. Hook door loop to the module on end closest to hinges and on side toward door face.

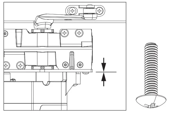
Install gearbox using screws provided. Ensure the gearbox sits flush with the mounting plate and closer body.

Ensure that the pinion is fully engaged and the module touching the plate before installing the screws.
IMPORTANT: Do not force module onto pinion or use screws to draw module to plate.
TIP: open door slightly to rotate closer pinion to aid alignment of hex coupler.
8a. Ensure the gearbox is flush with the mounting plate and closer.

Snap motor enables switch assembly onto closer spring tube so it will line up with the opening in the cover.


If using wireless actuators, attach the receiver inside the coverage area using supplied adhesive strip.

11a. Route wires for power and if used, also route wires for wired actuator and fire system. Leave enough wire to allow for flexing and freedom to connect to the device.
11b. 30 feet of power wire is included with the unit, trim excess before connecting.

Attach the other end of the door loop to the frame or wall.
12a Use appropriate endcap for thru frame or surface wiring.

For surface wire run, conduit to be supplied by the installer.- For PA application, attachment to adjacent (door direction) frame face is recommended.
- For Pull Side drywall fastening, ensure appropriate anchors are utilized or affix to blank wall plate for secure fastening.
Connect wiring to terminal block for power, motor enable switch, actuator and fire options.
See appropriate wiring diagram below.
13a For ease of connection, remove terminal block before connecting wires.
TIP: to remove terminal block easier pull one side first.
13b. Use a small flathead screwdriver to lock wires into terminal. Note, after locking wires into terminal block, gently tug them to ensure they are secure.

13c. If no fire system is installed, you MUST use the included Fire Jumper and install across the 6 and 9 terminal positions. See below for wiring diagrams.

Typical Wiring diagrams
14a Diagram 1 – Powered via 24VDC power supply or wall adapter, wireless receiver (powered by pin 3, actuate at pin 5), fire jumper, motor enable switch.

14b. Diagram 2 – Powered via 24VDC power supply or wall adapter, wireless receiver, fire system, motor enable switch.

NOTICE
Wire either the Fire Jumper or a NC fire system, NOT BOTH
When using a wall adapter connect the wiring as shown in Typical Wiring Diagrams.
15a. For wall adapter ensure wires pass through stress relief slots.

15b. Remove wall plate screw and use security screw to secure the adapter to outlet plate.

WARNING![]()
Power wires are live once plugged into wall outlet, disconnect power source before servicing any power connections.
Calibration, User Interface, and Factory Reset
16a To access the user interface, remove the black user interface cover on the unit.

16b. To Perform Calibration or Recalibration
- Manually open the door and allow to close under control of the closer. Verify desired closing speed and adjust closer if necessary.
- With door fully closed, press the Cal button 2 times. You will hear a double beep and the Cal LED will start Blinking Blue to indicate that you are in calibration mode.
- Open the door to the preferred full open position. This position should between 70 and 110 degrees, and at least 0.5 inches away from a wall or other physical stop. Hold the door still at this preferred full open position for 2 seconds, until you hear a confirmation beep. The Cal LED will turn Solid Blue with successful calibration, and calibration mode is exited.
- Note: Calibration mode is also exited upon an unsuccessful (out of range) calibration attempt, after a 30-second timeout, or if the Cal button is pressed a third time. In these cases, the preferred full open position will revert back to its previous setting.
- Note: User settings cannot be changed until door is calibrated.
- Note: If the Power Boost setting is toggled from ON to OFF, the calibration process should be redone.
16c. User Interface

16d To Perform FDR (Factory Default Reset)
To reset the unit to its factory default settings, press and hold the Cal button for 7 seconds. The unit must NOT be in calibration mode. Upon successful FDR, the startup LED and buzzer sequence will be played.
Operational Checks
17a. After completing the calibration ensure the Pwr and Cal LEDs are Solid Blue and the Actuate and Fire LEDs are OFF.
17b. Toggle Motor Enable Switch to “ON” (“Enable”) position.
17c. Actuate door. Measure the opening and closing times and forces to ensure they conform to BHMA requirements. Table below lists the maximum door opening speeds specified by ANSI 156.19 for Low – Energy Door Operators.
Maximum Door Weight in Pounds | Fastest Opening Time 0 to 80 36” Door Width |
| 100 lbs. | 3.0 sec |
| 125 lbs. | 3.5 sec |
| 150 lbs. | 3.5 sec |
| 185 lbs. | 4.0 sec |
If necessary, change Opening Speed in the User Interface section as appropriate to increase or decrease the opening time. If necessary, adjust the hydraulic valves to increase or decrease the closing time.
17d. Testfire system, if applicable, and ensure the door. may not actuate if a fire signal is active. Does not apply if using the Fire Jumper
17e.Manually open the door and ensure the door opens smoothly and closes completely.
17f. Double-check that all fasteners have been tightened and that all connections are secure.
17g. Put user interface cover back on.
- NOTE: Repeat this section periodically as part of your facility’s preventive maintenance plan.
Fasten the cover onto the unit.

18a. Ensure that door loop or wires pass through the opening on opposite side of cover.

Troubleshooting
19a. ISSUE: The door does not open at all.
- Verify that the Power LED is Solid Blue. If the Power LED is OFF, this indicates that the unit is not receiving power. Please verify the power source.
Verify that the Actuate LED turns Solid Blue when attempting to actuate. This LED will light up when an actuation signal is received. If it is not lighting, please check your actuation system to be sure that it is connected properly and fully functional.
If three beeps sound when attempting actuation, verify the following:
– Cal LED is Solid Blue. If the LED is Solid Red, please recalibrate the unit.
-The Motor Enable Switch is toggled to “ON” (“Enable”). If the motor drive has been disabled by the switch, the motor will not run.
– The Fire LED is OFF. If the Fire LED is Solid Blue, this indicates that the unit is receiving a disabling signal from the existing fire system. If the jumper is being utilized, then
please verify that the jumper is properly installed.
– The Power LED is Solid Blue. If the Power LED is Blinking Blue, then the supply power has been detected as out of range. In this case, the Error LED will also blink.
Please verify the power source.
– The Error LED is OFF. The Error LED will be Blinking Red when the module has detected a recoverable motor fault condition. This will often resolve if the module is power cycled and re-calibrated. If that does not resolve the issue, or if the Error LED is Solid Red, please contact customer service.
– Verify that the door isn’t being prevented from movement by some sort of physical obstruction or mechanical binding. This could include a previously existing latching mechanism that is not supported by the 6440 product.
19b. ISSUE: The door opens too slowly or does not open fully.
- The 6440 will attempt a learning cycle if it has recently experienced a power loss. During this cycle, the L speed LED will be Blinking Blue, and the door will open slowly to check for obstructions. After successful completion, the door will return to the previously calibrated speed setting. If the module appears to be unable to complete this learning cycle, a recalibration will resolve the issue.
- The door speed may need to be increased. If the low speed is not due to a learning cycle, there are several methods for increasing door speed. Please check the following:
– The user-selected speed can be increased all the way to the H setting. – The closer’s spring setting can be decreased using the closer’s adjustment tool.
– The closer’s hydraulic backcheck can be adjusted using the closer’s adjustment tool. - Verify that there are no hidden obstructions preventing the door from mechanically operating. • If there are no obstructions and increasing the door speed does not resolve the issue, please attempt a re-calibration.
19c. ISSUE: The door closes too slowly or does not close all the way.
- Verify that the closer is adjusted properly. The spring settings or hydraulic settings may need to be adjusted using the closer’s adjustment tool in order to ensure a full closure.
- Verify that there are no hidden obstructions preventing the door from mechanically operating.
- Consider enabling power boost if it is not already. Power boost helps overcome natural resistance close to the latch and may be utilized to ensure a full closure.
- For any other operational issues, please call customer support.
Release for Service
20a. Verify components are in place and under the cover.
Do not operate the unit without the cover.
20b. Remove all tools, installation equipment and debris from the vicinity of the door.
20c. MANDATORY: Install required Low Energy Operator labels onto the door, as required. Failure to do this will leave the INSTALLER LIABLE for any accidents that occur.
20d. Give verbal instruction on how to properly operate the door to the owner or person in charge.
20e. Give verbal instruction to the owner or person in charge on periodic inspection of the door for the following:
- The 6440 will attempt a learning cycle if it has recently
- Occasional damage
- Developing problems
- Minor preventative maintenance
20f. Provide the owner or person in charge with a contact name and phone number to call for future service and maintenance.
20g. Leave these printed instructions with the owner or
![]() | ![]() |
| Additional Notes: |
| 1. None |
| Revision History | Revision Description: A> Updated artwork | ||||||||
| A | B | C | D | .1 | K | ||||
| xxxxxx | |||||||||
| Material White Paper | Edited By | Approved By | EC Number | Release Date | |||||
| D. Rollison | M. Roberts | xmaxx | 06-23-21 | ||||||
| Notes I. printed two sides | Title LCN COMPACT” Automatic Operator Installation Instructions | ||||||||
| Creation Date 06-23-21 | Number 47373709 | Revision A | |||||||
| Created By N/A | Activity 3899 Hancock Expwy Security. CO 80911 | 0 Allegion 2021 | |||||||
| Software: InDesign C56 | |||||||||
Customer Service
1-877-671-7011 www.allegion.com/us
© Allegion 2021
Printed in the U.S.A.
47373709 Rev. 06/21-a
![]()





Install mounting plate.
For surface wire run, conduit to be supplied by the installer.
TIP: to remove terminal block easier pull one side first.





















