KOBALT KWL 0080-06 80V Sitting Worklight Instruction Manual

PRODUCT SPECIFICATIONS
Input | 80 V / 120 V, 60 Hz, 0.2 A |
| Illumination | 2500 lumens |
Runtime (when used with 80V 2Ah Battery) | Up to 5.5 hours (high) / Up to 11 hours (low) |
| Rotation | 360° |
Weight without battery | 4.4 lbs |
| Weight with 80V 2ah battery | 8.05 lbs |
Battery model | KB 280C-06,KB 2580C-06,KB 380C-06, KB 280-06,KB 2580-06,KB 380-06 |
| Charger model | KRC 30-06/KRC 80-06/KRC 0280-06 |
The recommended ambient temperature range:
Item | Temperature |
Appliance Storage Temperature Range | -4˚ F (-20˚ C) ~ 158˚ F (70˚ C) |
| Appliance Operation Temperature Range | 6.8˚ F (-14˚ C) ~ 104˚ F (40˚ C) |
Battery Charging Temperature Range | 39˚ F (4˚ C) ~ 113˚ F (40˚ C) |
| Charger Operation Temperature Range | 39˚ F (4˚ C) ~ 113˚ F (40˚ C) |
Battery Storage Temperature Range | 32˚ F (0˚ C) ~ 73˚ F (23˚ C) |
| Battery Discharging temperature Range | 6.8˚ F (-14˚ C) ~ 113˚ F (45˚ C) |
PACKAGE CONTENTS

PART | DESCRIPTION | QUANTITY |
A | Knob (tighten / loosen) | 2 |
| B | Lens | 1 |
C | Battery-release button | 1 |
| D | Auxiliary handle | 1 |
E | ON/OFF switch | 1 |
| F | Plug | 1 |
HARDWARE CONTENTS
(not shown actual size)
- Hook (Qty. 1|)

- S Hook (Qty. 1)

SYMBOLS
Some of the following symbols may be used on this product. Please study them and learn their meaning. Proper interpretation of these symbols will allow you to operate the product better and safer.
SYMBOLS | NAME | DESIGNATION/EXPLANATION |
V | Volts | Voltage |
| A | Amperes | Current |
Hz | Hertz | Frequency (cycles per second) |
| Wh | Watt Hour | Energy Storage Capacity |
Ah | Amp Hour | Current Capacity |
| Direct Current | Type or a characteristic of current | |
Lm | Lumen | Brightness of the light |
| Wet Conditions Alert | Do not expose to rain or use in damp locations. |
![]() | Read The Operator’s Manual | To reduce the risk of injury, user must read and understand operator’s manual before using this product. |
![]() | Safety Alert | Precautions that involve your safety. |
The following signal words and meanings are intended to explain the levels of risk associated with this product.
SYMBOL | SIGNAL | MEANING |
![]() | DANGER | Indicates an imminently hazardous situation, which, if not avoided, will result in death or serious injury. |
![]() | WARNING | Indicates a potentially hazardous situation, which, if not avoided, could result in death or serious injury. |
![]() | CAUTION | Indicates a potentially hazardous situation, which, if not avoided, may result in minor or moderate injury. |
![]() | CAUTION | (Without Safety Alert Symbol) Indicates a situation that may result in property damage. |
WARNING
- To avoid serious personal injury, do not attempt to use this product until you have read this Owner’s Manual thoroughly and understand it completely. If you do not understand the warnings and instructions in this Owner’s Manual, do not use this product. Call 1-888-356-2258 for assistance.
SAFETY INFORMATION
WARNING: IMPORTANT SAFETY INSTRUCTIONS
Read and understand all instructions before using this product. Failure to follow all instructions listed below may result in electric shock, fire, and/or serious personal injury.
The term “power tool” in all of the warnings listed below refers to your mains-operated (corded) power tool or battery-operated (cordless) power tool.
- To disconnect, turn all controls to the off (″O″) position, then remove plug from outlet.
- Do not unplug by pulling on cord. To unplug, grasp the plug, not the cord.
- Unplug from outlet when not in use and before servicing or cleaning.
- Do not operate any product with a damaged (cord or) plug, or after the product malfunctions or is dropped or damaged in any manner. Return product to the nearest authorized service facility for examination, repair, or electrical or mechanical adjustment.
- Use only extension cords which have plugs and receptacles which accept the product’s plug. Replace damaged extension cords.
- Make sure your extension cord is in good condition. When using an extension cord, be sure to use one heavy enough to carry the current your product will draw. An undersized extension cord will cause a drop in line voltage resulting in loss of power and overheating. The table on the next page shows the correct size to use depending on cord length and nameplate ampere rating. If in doubt, use the next heavier gauge. The smaller the gauge number, the heavier the cord.
- Don’t Abuse Cord – Never carry product by cord or yank it to disconnect from receptacle. Keep cord from heat, oil, and sharp edges.
- Disconnect the product from the power supply when not in use, before servicing, when changing bulbs (lamp), cleaning, and similar actions.
- Do not insert foreign objects into this product.
- Servicing of a product requires extreme care and knowledge of the system, and should be done only by quali ed service personnel. Replacement parts for a product must be identical to those parts in the product.
- If operating a product in a damp location is unavoidable, then the product should only be connected to a circuit that is protected by a ground-fault circuit-interrupter (GFCI). Use of a GFCI reduces the risk of electric shock.
- Store product indoors when not in use.
- Keep out of reach of children.
- Do not clean this product with a water spray or the like. Follow manufacturers cleaning instructions.
- Avoid direct eye exposure. Do not direct the light beam at persons or animals and do not stare into the light beam yourself (not even from a distance). The work light can cause flash blindness.
- Do not use the work light in road traffic. The cordless work light is not approved for illumination in road traffic.
- Disconnect the battery pack from the work light before making any adjustments. changing accessories, or storing power tools, etc.
- Do not permit children to use the work light; it is not a toy. Children can unintentionally blind themselves or other persons.
- Recharge only with the battery charger specified by the manufacturer. A battery charger that is suitable for one type of battery pack may create a risk of fire when used with another battery pack.
- Use only with specifically designated battery packs. Use of any other battery packs may create a risk of injury and fire.
- When battery pack is not in use, keep it away from other metal objects like paper clips, coins. keys, nails, screws, or other small metal objects, that can make a connection from one terminal to another. Shorting the battery terminals together may cause burns or a fire.
- The battery can be damaged by pointed objects such as nails or screwdrivers or by force applied externally. An internal short circuit can occur and the battery can burn, smoke, explode or overheat.
- Under abusive conditions, liquid may be ejected from the battery; avoid contact. If contact accidentally occurs, flush with water. If liquid contacts eyes, additionally seek medical help. Liquid ejected from the battery may cause irritation or burns.
- The work light is ruggedly constructed. It should, however, be handled with care.
- Store idle power tools out of the reach of children and do not allow persons unfamiliar with the power tool or these instructions to operate the power tool. Power tools are dangerous in the hands of untrained users.
- Have your power tool serviced by a qualified repair person using only identical replacement parts.
This will ensure that the safety of the power tool is maintained. - Battery disposal should be in compliance with the local regulations that address the disposal of hazardous materials, and do not incinerate battery pack.
GENERAL SAFETY RULES
- Verify that the power tool is secure while transporting.
- Store the power tool in a dry area that will prevent unauthorized use or damage. Keep out of thereach of children.
- Keep handles dry, clean, and free of debris. Clean the power tool after each use. Refer to the Maintenance Section in this manual for more information.
- If the labels on the power tool become defaced or start to lift off, contact customer service at 1-888-356-2258.
- Keep these instructions in a safe place for future reference. Refer to them often and use them to instruct other users. Anyone who uses this power tool must read these instructions carefully.
- Maintain the power tool with care. Follow the instructions for lubricating and changing accessories.
ELECTRICAL
When using a power tool at a considerable distance from a power source, be sure to use an extension cord that has the capacity to handle the current the product will draw. An undersized cord will cause a drop in line voltage, resulting in overheating and loss of power. Use the chart to determine the minimum wire size required in an extension cord. Only round jacketed cords listed by Underwriter’s Laboratories (UL) should be used.
When working outdoors with a product , use an extension cord that is designed for outside use. This type of cord is designated with “W-A” or “W” on the cord’s jacket. Before using any extension cord, inspect it for loose or exposed wires and cut or worn insulation.
MINIMUM GAUGE FOR EXTENSION CORDS (AWG) (WHEN USING 120 V ONLY)
| Ampere Rating | Total Length of Cord in Feet (meters) | ||||
| More Than | Not More Than | 25′ (7.6 m) | 50′ (15 m) | 100′ (30.4 m) | 150′ (45.7 m) |
| 0 | 6 | 18 | 16 | 16 | 14 |
| 6 | 10 | 18 | 16 | 14 | 12 |
| 10 | 12 | 16 | 16 | 14 | 12 |
| 12 | 16 | 14 | 12 | Not Recommended | |
Extension Cord – Make sure your extension cord is in good condition. When using an extension cord, be sure to use one heavy enough to carry the current your product will draw. An undersized extension cord will cause a drop in voltage resulting in loss of power and overheating. The table shows the correct size to use depending on cord length and name plate ampere rating. If in doubt, use the next
heavier gauge. The smaller the gauge number, the heavier the cord. To reduce the risk of disconnection of appliance cord from the extension cord during operating:
- Make a knot as shown in Figure A. or
- Use one of the plug-receptacle retaining straps or connectors.
METHOD OF SECURING EXTENSION CORD
- THE CORD AS SHOWN

- CONNECT PLUG AND RECEPTACLE

ASSEMBLY INSTRUCTIONS
WARNING
- Do not allow familiarity with this product to make you careless. Remember that a careless fraction of a second is sufficient to inflict serious injury.
- Do not use any attachments or accessories not recommended by the manufacturer of this product. The use of attachments or accessories not recommended can result in serious personal injury.
- Deviation from the assembly instruction may result in a risk of fire or electric shock.
TO INSTALL BATTERY PACK
- Align the battery pack (not included) with the battery opening.
- Insert the battery into the battery opening until the the battery release button (C) locks into place.
- Push down on the battery until it locks into place.
You should hear a “click” once it is installed.
TO REMOVE BATTERY PACK
- Press the battery-release button to release the battery pack.
- Pull up on the battery pack to remove it from the tool.
WARNING
- Battery tools are always in operating condition.
- Therefore, always turn off the light when the light is not in use or when carrying the tool at your side.
TO INSTALL THE LIGHT HEAD
- Align the bolt the the hole (on the bracket).
- Insert the bolt into the hole until it kocks into place and then tighten them with knobs (A).
- Do the same operation on the other side.

OPERATING INSTRUCTIONS
POWERING ON AND OFF
- To turn the work light ON, install the battery pack or connect the power source, and then press the ON/OFF switch (E). The work light will be turned on at maximum brightness.
- To reduce the brightness, press the ON/OFF switch (E) again.
- To turn it OFF, press the ON/OFF switch (E) a third time.


WARNING
- Do not continue to press the ON/OFF switch (E) after the work light has automatically switched off.
- The battery can be damaged.
Note: Hanging hook (BB) can be used for hanging on 2×4 inch.
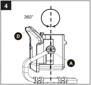
SWIVELING THE LIGHT HEAD
- Hold the auxiliary handle (D) and unlock the right and left knobs (A).
- Turn the light head to the necessary position and then tighten the knobs

CARE AND MAINTENANCE
All maintenance should only be carried out by a qualified repair person.
Cleaning
Before cleaning or performing any maintenance, remove the battery or extension cord from the work light. For safe and proper operation, always keep the tool and its ventilation slots clean.
Always use only a soft, dry cloth to clean the plastic transparent cover, never use detergent or alcohol. Always wear safety goggles when cleaning tools with compressed air.
TROUBLESHOOTING
If you still have questions or an unresolved issue after going through this troubleshooting guide, or just want to speak to a Kobalt product expert, please call our Kobalt customer service department at 1-888-356-2258.
| PROBLEM | POSSIBLE CAUSE | CORRECTIVE ACTION |
| The work light does not work. |
|
|
WARRANTY
5 – YEAR LIMITED WARRANTY
This 80V Sitting Worklight is warranted to the original purchaser from the original purchase date for five (5) years subject to the warranty coverage described herein.
This 80V Sitting Worklight is warranted for the original user to be free from defects in material and workmanship.
If you believe that the 80V Sitting Worklight is defective at any time during the specified warranty period, simply return the Sitting Worklight along with proof of purchase to the place of purchase for a free replacement or refund. or call 1-888-356-2258 for warranty service.
This warranty is void if: defects in materials or workmanship or damages result from repairs or alterations which have been made or attempted by others or the unauthorized use of nonconforming parts: the damage is due to normal wear, damage is due to abuse (including overloading of the tool beyond capacity), improper maintenance, neglect or accident; or the damage is due to the use of the tool after partial failure or use with improper accessories or unauthorized repair or alteration.
This warranty gives you specific legal rights, and you may also have other rights that vary from state to state.
REPLACEMENT PARTS LIST

PART | DESCRIPTION | PART # |
AA | Knobs | R0201158-00 |
| BB | Hook | R0201157-00 |
CC | S Hook | R0201156-00 |
| DD | Bracket | R0201155-00 |
ATTACH YOUR RECEIPT HERE
Serial Number_______________
Purchase Date_______________
Customer Support
Questions, problems, missing parts? Before returning to your retailer, call our customer service department at 1-888-3KOBALT (1-888-356-2258), 8 a.m. – 8 p.m., EST, Monday – Friday.































