
Heron Large Desk Lamp
Item # IKF 3506
Instruction Manual
ASSEMBLY INSTRUCTIONS

NOTICE:
This light fixture should be installed in accordance with all applicable, local installation codes, and by a person familiar with the construction and operation of it, as well as the hazards involved. Inspect item and contents carefully. If any damage or defect is found, do not install.
Retain all packaging material until installation is complete and approved.
- Carefully remove all parts from the box. Place on a clean, soft surface.
- Remove protective cover (D) from plug.
- Plug into electrical outlet and test fixture.
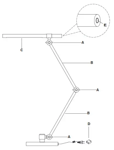
- To adjust shade (C) and arms (B) loosen knobs (A), adjust to desired angle then tighten knobs (A).
Dimmer switch operation: Touch dimmer (E) to adjust between low, medium, high and off settings.
Care Instructions: Clean only with a soft dry cloth or feather duster. Do not use abrasive or chemical agents.

![]()


















