Daintree WWD2-2IW Wireless Wall Dimmer Installation Guide

Product Overview
The Daintree® Wireless Wall Dimmer is a battery-powered wall switch for use in a Daintree Networked or Daintree EZ Connect application. The WWD2-2IW device installs into an existing junction box to replace the existing wall-mounted switch with a wireless solution that enables dimming and on/off commands to be delivered to the luminaires in its commissioned space. The communication with the Daintree system utilizes a secure and reliable wireless connection which helps minimize installation costs and complexity
BEFORE YOU BEGIN
Read these instructions completely and carefully.
Save these instructions for future use.
![]()
RISK OF ELECTRIC SHOCK
- Disconnect power before servicing or installing product.
IMPORTANT
To ensure the product warranty is valid, please ensure all installation instructions and environmental conditions for storage and operation are complied with.
Installation to be performed by factory trained or qualified personnel.
Save These Instructions
Use only in the manner intneded by the manufacturer.
If you have any questions, contact the manufacturer.
Prepare Electrical Wiring
Electrical Requirements
![]()
- When replacing a line voltage switch, the power must be off at the branch circuit breaker. Bypass the line voltage switch to provide uninterrupted power to the fixtures and make sure the connection is properly insulated before installing the wireless switch.

Installation of Back Housing onto Junction Box

DOUBLE CHECK PRODUCT ORIENTATION BEFORE BREAKING OFF TABS.
The wall dimmer will only install into the back housing in one orientation.
Break off tabs only after the correct product orientation has been confirmed.
Installation of Device into Back Housing

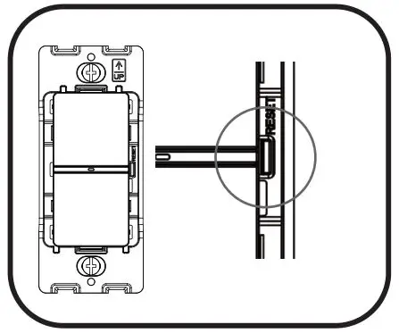
Network Reset

To reset the network of the device, remove the faceplate from the device. Then press and hold the reset button for 5 seconds. Install
the faceplate back onto the device. Press either dimming up or down button to enter the pairing mode to join the device to a network.
Battery Replacement

Product Dimensions

Product Operation

LED Indicator

Technical Data
Product Specifications
Product Availablity

Product Certifications

The alkaline batteries supplied with your wireless switch are prone to leak over their lifetime, particularly when the battery is mostly depleted. In the event that your battery leaks alkaline into the battery compartment, the chemicals can damage the metal terminals. The chances of this happening can be reduced by changing the batteries in the switch promptly when the batteries are nearing their end of their useful life. If a battery leak should occur, however, it should be cleaned up to prevent damage to the wireless switch.
WARNING: THE CHEMICALS LEAKED FROM ALKALINE BATTERIES ARE CORROSIVE. WHEN HANDLING LEAKING BATTERIES, PROPER PERSONAL SAFETY EQUIPMENT SHOULD BE USED, INCLUDING RUBBER GLOVES AND EYE PROTECTION.
If it is discovered that the batteries have leaked, wearing rubber gloves and using eye protection, remove all of the batteries from the battery compartment and seal them in a plastic bag. The bag should be discarded in a manner in accordance with local laws and regulations. Then, using a small cloth lightly moistened with vinegar or other mild acid, carefully wipe all of the leaked battery chemicals from inside the battery compartment and allow it to dry. Once dry, the batteries may be replaced and the switch may be reinstalled.
Supplier’s Declaration of Conformity
47 CFR § 2.1077 Compliance Information
Product Name: Wireless Wall Dimmer
Model No: WWD2-2IW
Supplier’s Name: Current Lighting Solutions, LLC
Supplier’s Website: www.gecurrent.com
Supplier’s Address (USA): Cleveland, Ohio
Supplier’s Phone: 1-866-855-8629
This device complies with part 15 of the FCC Rules. Operation is subject to the following two conditions:
- This device may not cause harmful interference, and
- this device must accept any interference received, including interference that may cause undesired operation.
This device contains license-exempt transmitter(s)/receiver(s) that comply with Innovation, Science and Economic Development Canada’s license-exempt RSS(s). Operation is subject to the following two conditions:
- This device may not cause interference.
- This device must accept any interference including interference that may cause undesired operation of the device.
FCC RF Exposure Statement: Specific Absorption Rate (SAR) is a measure of the rate of RF (radiofrequency) energy absorption by the body from the source being measured. This equipment has been found to be exempt from the RF Exposure SAR Evaluation when the device is installed such that a person’s head will, in normal conditions, be 10mm away from the transmitter and antenna of the device.
Caution: The user is cautioned that changes or modifications not expressly approved by the party responsible for compliance could void the user’s authority to operate the equipment.
Note: This equipment has been tested and found to comply with the limits for a Class B digital device, pursuant to part 15 of the FCC Rules. These limits are designed to provide reasonable protection against harmful interference in a residential installation. This equipment generates uses and can radiate radio frequency energy and, if not installed and used in accordance with the instructions, may cause harmful interference to radio communications. However, there is no guarantee that interference will not occur in a particular installation. If this equipment does cause harmful interference to radio or television reception, which can be determined by turning the equipment off and on, the user is encouraged to try to correct the interference by one or more of the following measures:
—Reorient or relocate the receiving antenna.
—Increase the separation between the equipment and receiver.
—Connect the equipment into an outlet on a circuit different from that to which the receiver is connected.
—Consult the dealer or an experienced radio/ TV technician for help
www.gecurrent.com
© 2021 Current Lighting Solutions, LLC. All rights reserved. GE and the GE monogram are trademarks of the General Electric Company and are used under license. Information provided is subject to change without notice. All values are design or typical values when measured under laboratory conditions. DT041-Daintree-WWD2-2IW-Wall-Dimmer-Installation-Guide





















