Daintree WWD2-4IW Wireless Dimmer

Product Overview
The WWD2-4IW wireless dimmer is a battery powered in-wall mount switch for use in zonal room control or as part of a large wireless networked system. The WWD2-4IW device installs into an existing junction box to replace an existing switch providing a wireless solution that enables dimming and ON/OFF commands to be delivered to luminaires in its commissioned space. The communication with the luminaires or wireless controllers utilizes a secure a reliable wireless connection which helps minimize installation cost and complexity.
BEFORE YOU BEGIN
Read these instructions completely and carefully.
Save these instructions for future use.
WARNING/ AVERTISSEMENT
RISK OF ELECTRIC SHOCK
- Disconnect power before service installation, or maintenance of the product.
RISK OF FIRE
- Follow all relevant IEC or UL instructions and local building codes.
RISK OF INJURY
- Wear safety glasses and gloves during installation and servicing.
Save These Instructions
Use only in the manner intended by the manufacturer. If you have any questions, contact the manufacturer.
Electrical Requirements
When replacing a line voltage switch, the power must be off at the branch circuit breaker. Bypass the line voltage switch to provide uninterrupted power to the fixtures and make sure the connection is properly insulated before installing the wireless switch.
IMPORTANT
To ensure the product warranty is valid, please ensure all installation instructions and environmental conditions for storage and operation are complied with.
Installation to be performed by factory trained or qualified personnel.
Installation of Back Housing onto Junction Box
- Disconnect power to the junction box

- Remove the junction box cover plate

- Uninstall existing wall switches from the junction box.

- Terminate wires (previously connected to wall switch) with appropriate electrical connectors.

- For proper installation into a dual gang junction box, the tabs between adjacent back housings must be removed.
Carefully observe the correct orientation (the UP arrow should be in the upper right corner on each back housing).
After double checking the product orientation, break off the necessary tabs using pliers.
- Install the back housing(s) of the wall dimmer(s) into the wall box.

DOUBLE CHECK PRODUCT ORIENTATION BEFORE BREAKING OFF TABS.
The wall dimmer will only install into the back housing in one orientation.
Break off tabs only after the correct product orientation has been confirmed.
Installation of Device into Back Housing
- Use two standard screwdriver to remove the devices from the back housing

- Separate the battery cover from the device. Pull the plastic insulation strip out of the battery compartment.
Put the battery cover back on the device.
- Insert the back housing piece into the junction box and secure with two screws.

- Install the main body of the device into the back housing.

- Install the faceplate onto the device. Note: Device supports the use of other standard faceplates on the market.

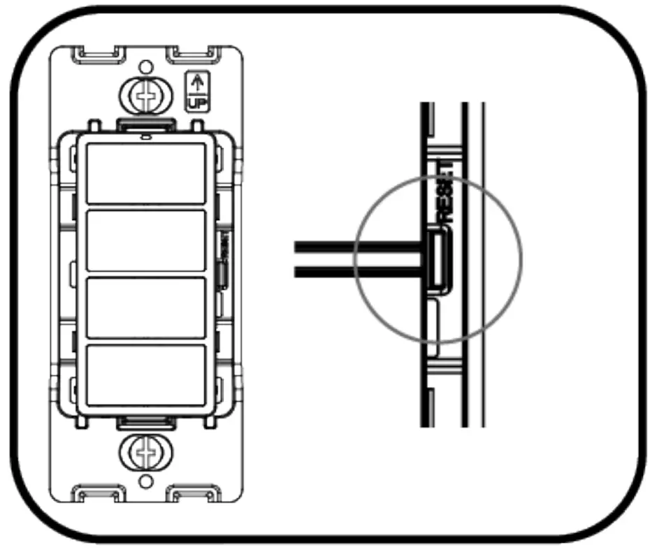
Network Reset
To reset the network of the device, remove the faceplate from the device. Then press and hold the reset button for 5 seconds. Install the faceplate back onto the device.
Press either dimming up or down button to enter the pairing mode to join the device to a network.
Personality Change
- Hold the reset button and 2nd button for 5 seconds to change the personality to dual zone mode.

- Hold the reset button and 4th button for 5 seconds to change the personality to scene mode.

- Squeeze the clips on the side of the button module to remove the button module from the device.

- Press the replacement button module with the desired printing onto the device.

- Please contact if you would like to purchase customized buttons.

Battery Replacement
- The device’s LED flashing on for 2 seconds every 30 seconds indicates that the batteries need to be replaced.

- Remove the device from the back housing.

- Separate the battery cover from the device. Replace the batteries with AAA batteries. All batteries need to be replaced at the same time.

- Install the main body of the device into the back housing.

- Install the faceplate onto the device. The device will rejoin its network automatically.

Product Dimensions

Product Operation
Button Functionality
![]() | First Button Short press Double short press Hold | Dual Zone Personality Zone 1 lights ON at previous level Zone 1 lights ON at 100% output Turn Zone 1 ON and dim up | Four Scene Personality SCENE 1 turns ON |
![]() | Second Button Short press Double short press Hold | Zone 1 lights OFF Zone 1 lights ON at minimum dimming level Turn Zone 1 ON and dim down or dim down if lights are already ON | SCENE 2 turns ON |
![]() | Third Button Short press Double short press Hold | Zone 2 lights ON at previous level Zone 2 lights ON at 100% output Turn Zone 2 ON and dim up | SCENE 3 turns ON |
![]() | Forth Button Short press Double short press Hold | Zone 2 lights OFF Zone 2 lights ON at minimum dimming level Turn Zone 2 ON and dim down or dim down if lights are already ON | SCENE 4 turns ON |
LED Indicator
Rapid flash (12 times per second) for up to 30 seconds Device is trying to join a network
Solid ON for 10 seconds Device successfully joined a network
Flashes once (1 00ms duration) Device has been activated while in the network
Flashes ON 2 seconds every 30 seconds Batteries need to be replaced
Flashes twice (1 00ms duration) Device has entered dual zone personality mode.
Flashes four times (100 ms duration) Device has entered four scene personality mode.
Technical Data
Product Specifications
Dimensions 114mm H x 70mmW x 36mm D
Weight 130g
Power Supply (4) AAA1.5V battery
Battery Life 5 years (normal operation)
Operating Environment 10°c to 40°C (Indoor Use Only)
Status Indicator Network join status, button triggered
Mounting Mounts into junction box
Warranty 5 years
Purpose of Control Operating Control
Construction of Control Independently Mounted
Type 1 Action
Pollution Degree 2
Frequency band of radio operation: 2405-2480 MHz
Maximum radio transmit power: 8dBm
Product Availability
DESCRIPTION Wireless Controls Wall Dimmer, In Wall, 4 Button, Battery
ARTICLE NO WWD2-41W
Product Certifications and Regulatory Marks
The alkaline batteries supplied with your wireless switch are prone to leak over their lifetime, particularly when the battery is mostly depleted. In the event that your battery leaks alkaline into the battery compartment, the chemicals can damage the metal terminals.
The chances of this happening can be reduced by changing the batteries in the switch promptly when the batteries are nearing their end of their useful life. If a battery leak should occur, however, it should be cleaned up to prevent damage to the wireless switch.
WARNING: THE CHEMICALS LEAKED FROM ALKALINE BATTERIES ARE CORROSIVE. WHEN HANDLING LEAKING BATTERIES, PROPER PERSONAL SAFETY EQUIPMENT SHOULD BE USED, INCLUDING RUBBER GLOVES AND EYE PROTECTION.
If it is discovered that the batteries have leaked, wearing rubber gloves and using eye protection, remove all of the batteries from the battery compartment and seal them in a plastic bag. The bag should be discarded in a manner in accordance with local laws and regulations. Then, using a small cloth lightly moistened with vinegar or other mild acid, carefully wipe all of the leaked battery chemicals from inside the battery compartment and allow it to dry. Once dry, the batteries may be replaced and the switch may be reinstalled.
SIMPLIFIED EU DECLARATION OF CONFORMITY:
Hereby, Current Lighting Solutions, LLC declares that the radio equipment type WWD2-4IW is in compliance with Directive 2014/53/EU.
The full text of the EU declaration of conformity is available at the following internet address: www.gecurrent.com
Supplier’s Declaration of Conformity
47 CFR § 2.1077 Compliance Information
Product Name: Wireless Wall Dimmer
Model No: WWD2-4IW
Supplier’s Name: Current Lighting Solutions, LLC
Supplier’s Website: www.gecurrent.com
Supplier’s Address (USA): 25825 Science Park, STE 400, Beachwood, OH 44122
Supplier’s Phone: 1-866-855-8629
This device complies with part 15 of the FCC Rules. Operation is subject to the following two conditions:
(1) This device may not cause harmful interference, and
(2) this device must accept any interference received, including interference that may cause undesired operation.
This device contains license-exempt transmitter(s)/receiver(s) that comply with Innovation, Science and Economic
Development Canada’s license-exempt RSS(s). Operation is subject to the following two conditions:
(1) This device may not cause interference.
(2) This device must accept any interference including interference that may cause undesired operation of the device.
FCC RF Exposure Statement: Specific Absorption Rate (SAR) is a measure of the rate of RF (radiofrequency) energy absorption by the body from the source being measured. This equipment has been found to be exempt from the RF Exposure SAR Evaluation when the device is installed such that a person’s head will, in normal conditions, be 10mm away from the transmitter and antenna of the device.
Caution: The user is cautioned that changes or modifications not expressly approved by the party responsible for compliance could void the user’s authority to operate the equipment.
Note: This equipment has been tested and found to comply with the limits for a Class B digital device, pursuant to part 15 of the FCC Rules. These limits are designed to provide reasonable protection against harmful interference in a residential installation. This equipment generates uses and can radiate radio frequency energy and, if not installed and used in accordance with the instructions, may cause harmful interference to radio communications. However, there is no guarantee that interference will not occur in a particular installation. If this equipment does cause harmful interference to radio or television reception, which can be determined by turning the equipment off and on, the user is encouraged to try to correct the interference by one or more of the following measures:
- Reorient or relocate the receiving antenna.
- Increase the separation between the equipment and receiver.
- Connect the equipment into an outlet on a circuit different from that to which the receiver is connected.
- Consult the dealer or an experienced radio/ 1V technician for help
Customer Support
currentlighting.com
© 2022 HLI Solutions, Inc. All rights reserved. Information and specifications subject to change without notice. All values are design or typical values when measured under laboratory conditions.













































