HARVIA C90 Sauna Heater Control Unit

CONTROL UNITS
C80/1, C90 AND C150
General
Control unit C80/1 is intended for the control of 1-phase sauna heaters (2–6 kW) in family saunas that do not have fixed control devices (1-phase electrical system). Control unit C90 is intended for the control of electric sauna heaters (2–9 kW) in family saunas, which do not have fixed control devices. The control unit C150 can be used to control the electric heaters of both family saunas and communal saunas up to 17 kW.
With the control unit, it is possible to select the maximum length of time the heater is to be kept on (1–12 hours). The factory setting is 4 hours. 3.4. Note! For family saunas, the maximum ontime is 6 h. The maximum ontime of 12 h applies to communal saunas. The control unit regulates the temperature in the sauna room based on the information given by the sensor. The temperature sensor and the overheat protector are located in the temperature sensor box.
If an error occurs, the heater power will cut off and the control unit will show an error message (Er1, Er2 or Er3), which helps troubleshoot the cause for the error. The error message will disappear after the malfunction has been corrected. 3.5.
Technical Data
- the maximum set temperature in the control unit’s display is 110 °C, setting precision+/-1 °C
- the maximum temperature display is 125 °C
- dimensions of the control unit: breadth 250 mm, height 223 mm and depth about 70 mm
- weight approx. 0.9 kg (C80/1); or 1.2 kg (C90); or approx. 1.4 kg (C150)
- the temperature sensor is equipped with a resettable overheat protector and a temperature-sensing NTC thermistor (22 kΩ/T=25 °C)
INSTRUCTIONS FOR USE
WARNING!
Before switching the heater on always check that there isn’t anything on top of the heater or inside the given safety distance.
- Main switch
Start the heater by pressing the main switch to posi-tion 1. The heater begins to warm up immediately. The heater turns off when the on-time runs out or the main switch is pressed to position 0. - Presetting time button
When using the pre-setting time to switch on the heater after a pre-setting period of time, the time setting button is pressed until the required number of hours is displayed.- The pre-setting time can be programmed between 0.5–12 hours at an accuracy of thirty minutes.
- The pre-setting time can be discontinued by programming 0 on the screen, whereupon the heater starts to warm up immediately.
- The pre-set time shortens at intervals of 6 minutes.
- Display
In normal mode, the sauna temperature and the left on-time are displayed alternately. - Temperature adjuster
The desired bathing temperature is set by using the temperature adjuster. When turned clockwise, the temperature will rise, and when turned anti-clockwise, the temperature will fall. When the regulator is turned in either direction, the screen will automati-cally display the set temperature in numbers and indicator light 5 will flash. The maximum temperature that can be set is 110 °C. - Signal light, red
When the signal light is on continuously, the display shows the temperature of the sauna. When the signal light is blinking, the display shows the setting temperature. - Signal light, green
The signal light is on: the display shows the set pre-setting time. - The signal light, is red The signal light is on: the heater is on.
- Sauna lighting switch, max. 300 W
NOTE!
Make sure that the control unit of the heater has cut off power from the heating elements after the set time has elapsed.
INSTRUCTIONS FOR INSTALLATION
The electrical connections of the control unit may only be made by an authorized, professional electrician and in accordance with the current regulations. When the installation of the control unit is complete, the person in charge of the installation must pass on to the user the instructions for installation and use that come with the control unit and must give the user the necessary training for using the heater and the control unit.
Removing the Top Plate
The top plate should be removed before mounting the control unit on the wall. The top plate comes off by pressing down on the locking strip at the upper edge of the plate, using a screwdriver, for example. The hole blanks for the connecting wires in the base plate should be pierced in the places where the cables are to be connected. See figure 2.
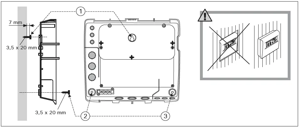
Fastening the Device to the Wall
The control unit is installed outside the sauna room in a dry place (ambient temperature >+0 °C).
Note! The control unit should not be embedded in the wall structure. See figure 2.
There are holes for three screws in the base plate, for fastening the unit to the wall. See figure 2.
Wall-mounting the control unit
Installing the Temperature Sensor
Note!
The supply air vent of the sauna room must not be located near the temperature sensor. The airflow near an air vent cools down the sensor, which gives inaccurate temperature readings to the control unit. As a result, the heater might overheat. The air vent’s minimum distance from the sensor (figure 3):
- omnidirectional air vent: 1000 mm
- air vent directed away from the sensor: 500 mm
The sensor must be installed to the place defined in these instructions. If the minimum distance is not fulfilled, ventilation must be changed.
The cable enclosed with the thermostat is made of silicon and can withstand temperatures of up to +170 °C. The cable can be extended with lower temperature cable having a corresponding cross-section, as long as you ensure that after the connection has been made the temperature to the cable does not rise above +80 °C.
Check the correct location for the temperature sen-sor from the heater’s instructions for installation and use.
Wallmounted heaters (figure 4)
- Fasten the temperature sensor on the wall above the heater, along the vertical centre line running parallel to the sides of the heater, at a distance of 100 mm from the ceiling.
Floormounted heaters (figure 5)
- Option 1: Fasten the temperature sensor on the wall above the heater, along the vertical centre line running parallel to the sides of the heater, at a distance of 100 mm from the ceiling. Note! The table also shows the heater’s maximum distance from the wall on which the sensor has been installed.
- Option 2: Fasten the temperature sensor to the ceiling above the heater, at a distance of 100–200 mm from the vertical centre line of the heater’s side.

Sensor’s minimum distance from an air vent

The place of the sensor in connection with wall-mounted heaters

The place of the sensor of the control unit C150 in connection with floor-mounted heaters
Changing the Settings
Open the settings menu:
- Switch the power off from the main switch (position 0)
- Press and hold the pre-setting time button and switch the power on from the main switch (position 1)
- Hold the pre-setting time button until signal light 6 is lit (ca. 5 seconds)
Turn the temperature adjuster to change the values.
- Sensor reading adjustment

The reading can be adjusted by -15–0 units. This allows you to calibrate the reading with a precision thermometer. The temperature in the sauna room should be 70–80 °C during the adjustment. - Press the presetting time button to access the next setting.

- Changing the maximum ontime

You can select the maximum on-time between 1 and 12 hours. Note! For family saunas, the maximum ontime is 6 h. The maximum ontime of 12 h applies to communal saunas. - Press the presetting time button to exit.

Service Instructions
Note! All service operations must be done by professional maintenance personnel. The operation of the control units is shared between two electronic cards, which are connected by means of a detachable flat cable. See figure 7. Both cards are screwed to parts of the box, so that they are easily replaceable if the equipment develops a fault.
Blown fuses (fig. 7)
- If the indicator lights on the display card and numbers do not glow, it may be that the main fuse (40 mA) in the electric power card has blown.
- If the sauna light connected via the control unit does not come on, it may be that the light fuse has blown.
Faults in the thermostat’s sensor circuit
- The codes Er1, Er2 and Er3 show up on the display if there is a break or faulty connection in the thermostat’s sensor circuit. Table 1.
- If the overheat protector of the thermostat trips, it can easily be reset as soon as the fault has been located and eliminated. Figure 6.
Electrical Connections
See figures 8–10. If the lighting of the sauna room is connected via the control unit, the lighting’s circuit must be equipped with a residual current device (RCD).
Reset the button for overheating protector
Electronic cards

Error messages
| Description | Remedy | |
| Er1 | Temperature sensor’s measuring circuit broken. | Check the red and yellow wires to the temperature sensor and their connections for faulties. |
| Er2 | Temperature sensor’s measuring circuit short-circuited. | Check the red and yellow wires to the temperature sensor and their connections for faulties. |
| Er3 | Overheat protector’s measuring circuit broken. | Press the overheat protector’s reset button (figure 6). Check the blue and white wires to the temperature sensor and their connections for faulties. |
| 0C | Sauna room temperature is outside the measuring range or the temperature sensor’s measuring circuit is broken. | The heater works normally for 15 minutes in order to raise the temperature to a measurable level. If the temperature is still out of range after 15 minutes or the temperature sensor’s measuring circuit is broken, Er1 will be shown on the display. |

| Output | Cables | ||||
| kW | A mm² | Fuse Sicherung A | B (H07RN-F) min. mm² | C (T170 °C) mm² | D (SSJ) mm² |
| 0–2,3 | 3 x 1,5 | 1 x 10 | 3 x 1,5 | 4 x 0,25 | 3 x 1,5 |
| <2,5–3,6 | 3 x 2,5 | 1 x 16 | 3 x 1,5 | 4 x 0,25 | 3 x 1,5 |
| <4,5 | 3 x 4 | 1 x 20 | 3 x 2,5 | 4 x 0,25 | 3 x 1,5 |
| <6,0 | 3 x 6 | 1 x 25 | 3 x 2,5 | 4 x 0,25 | 3 x 1,5 |

| Output | Cables | |||||
|
kW | A
mm² | Fuses Sicherungen A | B (H07RN-F) min. mm² | C (T170 °C) mm² | D (SSJ) mm² | E mm² |
| 3,0 | 4 x 1,5 | 2 x 10 | 4 x 1,5 | 4 x 0,25 | 3 x 1,5 | 3 x 1,5 |
| <4,5–6,9 | 5 x 1,5 | 3 x 10 | 5 x 1,5 | 4 x 0,25 | 3 x 1,5 | 3 x 1,5 |
| <7,0–9,0 | 5 x 2,5 | 3 x 16 | 5 x 1,5 | 4 x 0,25 | 3 x 1,5 | 3 x 2,5 |

| Output | Cables | ||||
|
kW | A
mm² | Fuses Sicherungen A | B (H07RN-F) min. mm² | C (T170 °C) mm² | D (SSJ) mm² |
| 0–6,9 | 5 x 1,5 | 3 x 10 | 5 x 1,5 | 4 x 0,25 | 3 x 1,5 |
| <7,0–11,0 | 5 x 2,5 | 3 x 16 | 5 x 1,5 | 4 x 0,25 | 3 x 1,5 |
| <11,0–17,0 | 5 x 6,0 | 3 x 25 | 5 x 2,5 | 4 x 0,25 | 3 x 1,5 |
P.O.Box 12
Teollisuustie 1-7
40951 Muurame
FINLAND
+358 207 464 000
[email protected].
























