RAMIA SCH-X Workbench Instruction Manual
Assembly Instructions
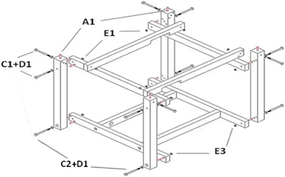
A1-12pcs 12x40mm![]()
A2-32pcs 10x40mm![]()
B1-6pcs 5x90mm![]()
B2-8pcs 4x20mm![]()
C1-12pcs M10x100
C2-4pcs M10x120
C3-8pcs M8x100
D1-80psc M10
D2-4pcs M10
E1-12pcs M10
E2-16pcs M8
E3-4pcs M10
F-4pcs
Vice fitting kit
G1-8pcs 4×40 mm
G2-8pcs M5x25mm
G3-8pcs M5
G4 – 16pcs 8x60mm
Vice attaching wood Wooden protectors
Attention ![]()
![]()

Workbench is made of high quality beech wood guaranteeing maximum resistance and long service life.
NOTICE:
The bench must not be left in damp or humid conditions which will cause movement in the wood. Recommended
humidity level max. 60%.
If you bought workbench without surface treatment, we recommend you to finish the bench by colourless varnish or oil including the bottom of workbench. Varnish (oil) prevents absorption of surrounding moisture. Don´t forget to repeat surface treatment each year including holes for bench dogs. To increase the stability of your workbench we recommend you to bolt the bench to the floor. Each 6 months tighten all screws and bolts.

Don´t glue dowels. Dowels have only guiding function.
Attaching the Vices















