PRODUCT GUIDE & ASSEMBLY INSTRUCTIONS

Always Comfortable.™
Desk
So comfortable, you’ll feel the difference the moment you sit down.
Should you prefer to speak with a customer service representative, you may call toll free:
1-855-372-2315
Guidelines
FAILURE TO FOLLOW THESE WARNINGS WHEN IN USE COULD RESULT IN INJURY
- Do not stand on the item or use as a step ladder
- Do not use this item unless all bolts and screws are firmly secured and fastened.
- Check all bolts and screws every 90 days. As necessary tighten if any are loose.
- Lift up then move. Pushing over or dragging this product can result in an injury or cause damage to the floor and piece.
WARNING:
DO NOT LET CHILDREN PLAY IN OR AROUND THE UNIT DUE TO THE POSSIBLE RISK OF INJURY.
Pre-Assembly Preparation:
Please read through this instruction booklet before beginning assembly of this item.
Two adults are recommended for assembly.
- Clear out the space for assembly and lay out all parts on Parts List, extra room will allow you to easily determine if all the pieces are present.
- Save all packing materials until assembly is complete to avoid accidentally discarding smaller parts or hardware.
- Keep small parts and pieces away from children and pets until fully assembled.
- Please check for any loose screws and tighten them before you use.
Parts List


Step 1
- Ensure all parts have been removed from the carton and place on a protected surface or carpet.
- Check all parts and hardware are the same as the “Parts List”.

Step 2
Step 3
Step 4
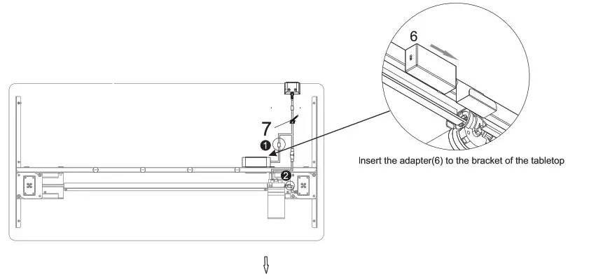
- Insert the Adapter (6) to the bracket under top as below image.
- Connect the cable to the table as below image & with cable manger (7) to keep desk clean.


Technical Data

| Column Number | 2 |
| Maximum Load | 110Ib. |
| Max Speed | 25m m/s |
| Input Voltage | 100-240V |
| Lowest Position | 28-3/4″ |
| Highest Position | 48-3/8″ |
| Desktop Size | 47-1/4″ (length) 23-5/8″(width) |
| Duty Cyde | Continuous operation for 2 mins at most after pause for 18 mins |
| Applicable Temperature | 32 – 104 °F |
How to use handswitch
| Adjust the desk upwards | ||
| Adjust the desk downwards |
Instruction
Press the UP button or DOWN button to lift or lower the height of desk surface.
Common fault treatment
The following tips will help you detected and eliminate the common fault and error. If the fault you met is not listed below, please contact your supplier. Only the manufacturer and professionals are capable of investigating and correcting those fault and errors.
Fault phenomenon | Method |
| No response while long pressing down arrow after connected with a power supply | 1 Check if all the cables are connected well 2.Contact your supplier or dealer |
| The desktop could not be lifted | 1.Check if overloaded, max loading: 110 lbs |
| 2.Contact your supplier or dealer | |
| Overwork (Duty cycle:Max 2min on/30rnin OFF) | 1.Restart it after suspended for 30mins because the working time is too long |
| 2.Contact your supplier or dealer |
Waste disposal

![]()
- Power supply: AC100V-240V,50/60HZ
- Service Environment: 32 ~ 104°F
- Unplug the power plug before cleaning, wipe the dust on surface with slight wet dishcloth when cleaning, be careful not to let the drops into the internal parts, not loose the connector.
- The electric box contains electronic components, metals, plastics, wires etc., so dispose of it in accordance with each country’s environmental legislation, not the general household waste.
- Check carefully to ensure correct and complete assembly before using.
- Be familiar with all functions and program settings of the product before first use.
- Children are forbidden to play on the product because of unforeseen action when playing, so any dangerous consequences caused by this improper action will not be on
- Slight noise caused by the V-ribbed belt or brake system due to structure will not have any effect on the use of the equipment.
- Corrosive or abrasive materials are forbidden to clean the equipment. Must ensure that the cleaner used will not pollute the environment.
- Please make sure there is no hazard sources in your operating environment. e.g., do not litter the tools around. Always be careful to treat the packaging materials in order to avoid any possible danger, e.g. plastic bag may lead to choking hazard to children.
- Keep the original package of the equipment if necessary in case of the future use in transportation.
- The following tips will help you detected and eliminate the common fault and error. If the fault you met is not listed below, please contact with your supplier. Only the manufacturer and professionals are capable for investigating and correcting those fault and error.
![]()
This marking indicates that this product should not be disposed with other household wastes. To prevent possible harm to the environment or human health from uncontrolled waste disposal, recycle it responsibly to promote the sustainable reuse of material resources. To return your used device, please use the return and collection systems or contact the retailer where the product was purchased. They can take this product for environmental safe
recycling.
Operation Instruction of handset
- Product Outline

- Product Specification
• DC input:19-33VDC, 150W
• Output M1:19-33VDC, 4A
• Number of controlled motors:1 PC
• Standby power:<0.5W
• Overload protection
• Overtime protection
• Sensor anti-collision protection(Only one level of sensitivity to be turned on or off)
• Working frequency: Work 2 minutes, rest 18 minutes
• Hand-switch and controller are combined into one, easy to operate and install
• Two buttons, including
,
(1)
Up button, control the standing desk to move upward
(2)
Down button, control the standing desk to run down
• Related certification: CE-EMC,FCC
• Suitable for single motor lifting column - Operating Instructions
• Lifting function
1. The height of the desk can be adjusted up or down by pressing
or
2. Long press the
or
button for more than 1.2 seconds to enter the automatic lifting mode, and then press any button to stop the lifting.
(This function is optional, the default software does not choose this function)• Reset
1.At the lowest position, long press the down button for more than 5 seconds to enter the reset state, until the lifting system bottoms out and the rebound stops, the reset is successful.
2.When the lifting system fails, release the button and long press the down button until the lifting system bottoms out and rebounds and stops, and the reset is successful.
• Anti-collision function:
1.Built-in sensor, when encountering any objects, the device instantly stops and reverses to avoid damage.
2.Long press the
and
buttons together for more than 5 seconds to tum off or turn on the anti-collision function.• Troubleshooting:
1. If there is no response to pressing the up or down button after a period of continuous work, please rest for more than 18 minutes before using it.
2. During the lifting process, if there is a retreat phenomenon, please check whether the desk load is too heavy and whether the desk shakes greatly.
Waste disposal
![]()
This marking indicates that this product should not be disposed with other household wastes. To prevent possible harm to the environment or human health from uncontrolled waste disposal, recycle it responsibly to promote the sustainable reuse of material resources. To return your used device, please use the return and collection systems or contact the retailer where the product was purchased. They can take this product for environmental safe recycling.
Product Dimension

Limited Warranty
The manufacturer’s products are warrantied against defects in material and workmanship while owned by the “Original Purchaser”. The term “Original Purchaser” is defined as the party or entity which purchases this manufacturer’s furniture from an authorized retailer as shown by the original sales receipt. This warranty does not apply to “as is” or previously owned products.
The manufacturer warrants its products to be free from defects in materials and workmanship (normal wear and tear, fading and stretching excepted), for one year from the date of purchase, except as provided below under the limited warranty.
The exceptions or exclusions to this warranty are as follows:
- Any warranty claim that is submitted after the limited warranty period, or without proper proof of purchase will not include the cost of parts, labor, or delivery.
- This warranty shall not apply to the manufacturer’s products which have been subjected to misuse, neglect, alteration, modification, or attachments, either caused by the Original Purchaser, shipping, storage, accident, fire, flood, or acts of God.
In the event of a defect in material or workmanship covered by this warranty, the manufacturer will repair or replace, at their discretion, without charge the warrantied parts within a reasonable amount of time. We reserve the right to require damaged parts be returned to us upon request. Natural markings such as scars, brands, grain variations, wrinkles, color variations, etc. will be considered normal characteristics and not construed as defects.
For claims or questions concerning this warranty, please contact customer service department on the web at www.trueinnovations.com. Be prepared to provide your name, address, daytime phone number, the model and purchase order number of the product, date of purchase, and the website where it was purchased. The manufacturer requires that the original sales receipt be submitted with all requests to confirm that you are the Original Purchaser according to our written warranty.
This warranty gives you specific rights, and you may also have other rights, which vary from state to state (or country to country). All warranties are limited to the Original Purchaser for normal use. Should you prefer to speak with a service representative, you may call toll free: 1-855-372-2315 (U.S.) or 0-800-051-6775 (U.K.).

Always Comfortable.™




















