Always Comfortable. TM
PRODUCT GUIDE & ASSEMBLY INSTRUCTIONS
Roll Arm Sofa
So comfortable, you’ll feel the difference the moment you sit down. Should you prefer to speak with a customer service representative, you may call toll free: 1-855-372-2315
Guidelines
FAILURE TO FOLLOW THESE WARNINGS WHEN IN USE COULD RESULT IN INJURY
- Do not stand on the item or use as a step ladder
- Do not use this item unless all bolts and screws are firmly secured and fastened.
- Check all bolts and screws every 90 days. As necessary tighten if any are loose.
- Lift up then move. Pushing over or dragging this product can result in an injury or cause damage to the floor and piece.
WARNING:
DO NOT LET CHILDREN PLAY IN OR AROUND THE UNIT DUE TO THE POSSIBLE RISK OF INJURY.
Pre-Assembly Preparation:
Please read through this instruction booklet before beginning the assembly of this item.
Two adults are recommended for assembly.
- Clear out the space for assembly and layout all parts on Parts List, extra room will allow you to easily determine if all the pieces are present.
- Save all packing materials until assembly is complete to avoid accidentally discarding smaller parts or hardware.
- Keep small parts and pieces away from children and pets until fully assembled.
- Please check for any loose screws and tighten them before you use.
Parts List
![]()
|
Stepl
- Ensure all parts have been removed from the carton and place on a protected surface or carpet.
- Check all parts and hardware are the same as the “Parts List”.
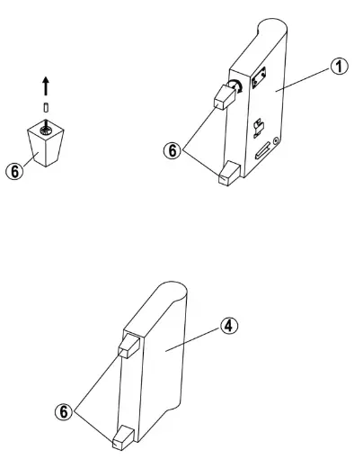
- Remove the plastic caps on the threaded bolt of each Leg (6) as an image. Attach the Legs (6) to the Right Arm (4) & Left Arm (l ).

Step2
1. Attach Front Rail (2) to Left Arm ( l) by clicking the bracket into the mechanism posts located on sides of Arm ( D), press down Front Rail (2) then move Front Rail (2) to attach to the Right Arm (4), press down on both sides of the Front Rail (2) to firmly secure.


Step3
Slide the bracket on Back Panel (5) into the mechanism posts located on sides of Left Arm ( l) & Right Arm (4) until fully engaged.

Step 4
on the center of Base Panel (3) into th° gde the bracket located on the center of Back Panel (0) posts mechanism on side of base Panel (3) into 10° sj@de the bracket located on sides of Left Arm (D) & Right ‘ posts mechanism (4) until fully engaged.

Step 5
- Open back cover and Insert Thumb Bolts (A) x 2 into the holes on the Back Frame (5) that connect to the Arms (1) & (4) and tighten the bolts.
- Secure the back cover to the hook & loop strip.

Step6
- Open the vacuum-packed Seat Cushions (7) x 2 by carefully cutting the bags with a pair of scissors. Insert the Seat Cushions
(7) into the appropriate Seat Covers (8) as an image (l). Ensure the cushion cover completely covers the filler as an image (2). When closing the zipper ensure as an image (3) the cushion is compressed, this will allow the zipper to close with ease. - Insert the Back Cushions (9) x 2 into the appropriate Back Covers (10) & (ll ).
- Fluff all cushions to allow them to expand.
- Lastly, position all Cushions on the sofa. Seat and back cushions may take 24-48 hours to fully expand, which will allow wrinkles and indentations caused by packing to fade.

ATTENTION: To close the zipper, please follow image 3.
Failure to follow this could result in damage to the zipper.
Product Dimension

Limited Warranty
The manufacturer’s products are warrantied against defects in material and workmanship while owned by the “Original purchaser”. The term “Original Purchaser” is defined as the party or entity which purchases this manufacturer’s furniture from an authorized retailer as shown by the original sales receipt. This warranty does not apply to “as is” or previously owned products.
The manufacturer warrants its products to be free from defects in materials and workmanship (normal wear and tear, fading and stretching excepted), for one year from the date of purchase, except as provided below under the limited warranty.
The exceptions or exclusions to this warranty are as follows:
- Any warranty claim that is submitted after the limited warranty period, or without proper proof of purchase will not include the cost of parts, labor, or delivery.
- This warranty shall not apply to the manufacturer’s products that have been subjected to misuse, neglect, alteration, modification, or attachments, either caused by the Original Purchaser, shipping, storage, accident, fire, flood, or acts of God.In the event of a defect in material or workmanship covered by this warranty, the manufacturer will repair or replace, at their discretion, without charge of the warrantied parts within a reasonable amount of time. We reserve the right to require damaged parts be returned to us upon request. Natural markings such as scars, brands, grain variations, wrinkles, color variations, etc. will be considered normal characteristics and not construed as defects.For claims or questions concerning this warranty, please contact the customer service department on the web at www.trueinnovations.com. Be prepared to provide your name, address, daytime phone number, the model and purchase order number of the product, date of purchase, and the website where it was purchased. The manufacturer requires that the original sales receipt be submitted with all requests to confirm that you are the Original Purchaser according to our written warranty.
This warranty gives you specific rights, and you may also have other rights, which vary from state to state (or country to country). All warranties are limited to the Original Purchaser for normal use. Should you prefer to speak with a service representative, you may call toll-free: 1-855-372-2315 (U.S.) 0r 0-800-051-6775 (U.K.).






















