Product Information
- A1 – 30 pieces
- A2 – 8 pieces
- B1 – 4 pieces
- B3 – 2 pieces
- B4 – 3 pieces
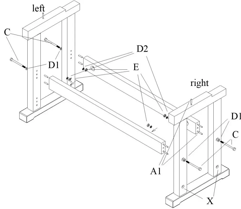
- C – 4 pieces
- D1 – 4 pieces
- D2 – 4 pieces
- E – 4 pieces
- F – 1 piece
- G – 1 piece
- H – 2 pieces
- Wedge for tool well: 10×40 mm, 8x40mm, 5x110mm, 4x40mm, 6x40mm, M12x100
- Wedge for cupboard stretchers (X): Holes for stretchers if cupboard is used.
Product Usage Instructions
- Ensure all parts are present based on the quantities mentioned above.
- Do not fill up holes for dowels with glue.
- Apply glue to the dowels and insert them into the holes.
- For the tool well, wedges (part H) are supplied separately.
- After approximately 4 weeks, add the wedges to the tool well.
- If needed, adjust the size of the wedges according to the size of the tool well.
- If using a cupboard, make sure to use the holes marked with X for stretchers.
- Allow the workbench to adapt to the surrounding conditions.
REQUIRED TOOLS
Attention
Workbench is made of high quality beech wood guaranteeing maximum resistance and long service life.
NOTICE:
The bench must not be left in damp or humid conditions which will cause movement in the wood. Recommended humidity level max. 60%.
If you bought workbench without surface treatment, we recommend you to finish the bench by colorless varnish or oil including the bottom of workbench. Varnish (oil) prevents absorption of surrounding moisture. Don´t forget to repeat surface treatment each year including holes for bench dogs.
To increase the stability of your workbench we recommend you to bolt the bench to the floor. Every 6 months tighten all screws and bolts.
PACKAGE CONTENTS
| Parts | Packing 1 | Packing 2 | Date |

HINT: don´t fill up holes for dowels with glue. Smear dowels by glue and insert them into holes.
X = holes for stretchers if the cupboard is used
HINT: Do not fill up holes for dowels by glue. Smear dowels by glue and instert them into holes.
Important: Wedges for tool well are supplied separately (part H). Producer recommends adding wedges after approx. 4 weeks. Workbench needs to adapt to the surrounding conditions. In case of need adjust the size of wedges by size of tool well.
Ramia s.r.o., Zátaví 58, CZ-397 01 Písek, Czech Republic, , Tel: +420 382 264 450, fax: +420 382 264 450, www.ramia.cz




















