GAZELLE G9309 Multifunction Installation Tester

Overview
G9309 is a multifunction digital safety testing instrument, designed with a combination of large -scale integrated analog & digital circuits and a microprocessor chip. It mainly measures RCD, line/loop impedance, continuity, insulation resistance, DC and AC voltage, and phase sequence, featuring versatile functionality, higher accuracy, stable performance and ease of use. The instrument is widely used to measure RCD, insulation, and earth connections for various types of equipment, and an ideal tool for testing, inspection, and maintenance badly needed for various electric devices and RCDs.
Safety Information
The Tester is designed, manufactured and tested according to IEC61010 safety standard. The manual include safety information related to safe use of the Tester. Please strictly follow the safety items and read the follo’Mng instructions before use.
Warning
- Please read and understand the manual before using the Tester.
- Use the Tester as specified in the manual and keep it for future reference.
- Please note that mis Jose during tests might ca1. use personal inj1.Jry or damage to the Tester.
- on the Tester alerts users to use the Tester properly, please refer to the manual for details
Danger
- Do not measure around any inflammable, sparkle may cause a potential explosion.
- Do not operate the Tester if its surface is wet or the operator’s hands are wet.
- Do not touch a conductive part of test leads during measurement.
- Do not measure with the battery cover opened.
- Do not touch the circuits under test when measuring insulation resistance and RCD.
Warning
- Stop using the Tester if any anomaly happens. E.g. the Tester is damaged or shows exposed metal.
- Take extreme caution when working v.ith voltages higher than 33Vrms, 46.? arms or 70Vdc, for it may pose electric shock.
- The electric storage present in tested circuits must be released after finishing the high resistance measurement.
- Do not replace the battery if the Tester is under wet status.
- Make s1.Jre all test leads are firmly secured to input terminals of the Tester.
- Turn off the Tester before opening the battery cover.
Caution
- If it is necessary to replace test leads or power adaptors, use only the same model with the same electrical specifications.
- When low battery indicator (D ) shows, do not use the Tester. Take the battery if not used for a long time.
- Do not store or use the Tester around high-temperature, high humidity, flammable, explosives, and electromagnetic environments.
- Clean the Tester’s casing with a soft cloth dampened with water or mild detergent No abrasives or solvents are allowed.
- Dry the Tester before storing it if it is wet
Electrical Symbols
| Danger of possible electric shock |
| Double.insulation or reinforced insulation |
| DC |
| AC |
| Grounding |
Technical Specifications
- Accuracy: ±(a% of reading+ b digits), calibration per year.
- Ambient temperature: 23 ± 5,::
- Ambient humidity: 45-75% RH
RCDTest
| Operational Voltage | Voltage: 230V(-15%~+10%) Frequency: 45Hz~65Hz |
| Test Current Accuracy | 1.6.n, 2’1.6.n and 5·1.6.n: (0%-t10%) |
| 112•16n:-10o/o-0% | |
|
Trip Time | 112•1.6.n scope: OmS~2000mS 1•1.6.n scope: OmS~500mS(SelectTimer Function) 1•1.6.n scope: OmS~300mS 2•1.6.n scope: OmS~200mS(SelectTimer Function) 2•1.6.n scope: OmS~150mS 5•1.6.n scope: OmS~40mS |
| Trip Time Accuracy | ±(5%-t5) |
| Trip Current Range | 112·1.6.n-1.1·1.6.n (total 7 test points) |
| Trip Current Accuracy | ±10% |
Loop Impedance Measurement
| OperatingVoltage(L-EJ | Voltage: 230V(-15%~+10%), Frequency: 45Hz~65Hz |
| Test Current& Time | 20Al20ms |
| Measuring Scope | 0.050-20000 ~ |
| Measuring Ranges | 0.05 1.99 ~ |
| 2.0 19.9 | |
| 20 – 2000 | |
| Accuracy | ±(5%+5) □ |
| Resolution | Minimum0.Q1 |
| Prospective Fault Current | 0KA~26KA |
Line Impedance Measurement
| OperatingVoltage(L-N) | Voltage: 230V(-15%~+10%), Frequency: 45Hz~65Hz |
| Test Current& Time | 20A.120rns 0.05□~2000□ |
| Measuring Scope | □ □ |
| Measuring Ranges | 0.05 -1.99 |
| 2.00-19.90 20□-20000 | |
| Accuracy | ±(5%4-5) |
| Resolution | Minimurn0.010 |
| Prospective Short Current | 0KA-26KA |
Non-Trip Loop Impedance Measurement
| OperatingVoltage(L·E) | Voltage: 230V(-15%~+10%), Frequency: 45Hz~65Hz |
| Test Current | 20A □ |
| Display Range | 0.0, ~20000 □ |
| Measuring Scope | 1.00 -20000 |
| Measuring Ranges | 1.000-1.990 2.o□-1g_go |
| 200~20000 | |
| Accuracy | ±5%±12d+ Noise Margin(1.00-1.99)±5%±5d(2.0-19.9) |
| Resolution | Minimurn0.010 |
| Prospective Fault Current | 0KA~26KA |
Continuity Test
| Rated \.bltage | About5.0V |
| Measuring Scope | 0.01□- 200□ |
| Test Current | 0.00-2.00 : >200mA 0.01□~200□:±(2%+5) |
| Accuracy |
Insulation Resistance Measurement
| Rated Voltage | 250V | 500V | 1000V |
| Measuring Ranges | 250V Range: 0.05 M0-250MO 500V Range: 0.05 M0-500MO 1000V Range: 0.05 M0-1000MO | ||
| Open Circuit\.tlltage | DC 250V ±10% | DC 500V±10% | DC 1000V±10% |
| Rated Test Current | At 250 KO, 1mA-1.1mA | At 500 KO, 1mA~1.1mA | Al 1 MO, 1mA~1.1mA |
| Short-Circuit Current | <1.8mA | ||
| Accuracy | 0.05M0-1000MO: ± (5%+5) | ||
Voltage Measurement
| DC voltage | AC voltage | |
| Measuring Range | ± O V – ± 400V | OV~400V(45Hz~65Hz) < 1OV: for reference only. |
| Special Function | Automatic identification for AC voltage and DC voltage | |
| Resolution | 1V | |
| Accuracy | ±(2%-t3) | |
Frequency Measurement
| Measuring Range | 20Hz~100Hz |
| Resolution | 1Hz |
| Accuracy | Only for reference |
Phase Rotation Test
| Operating Voltage | Three-phase AC voltage 100V~440V, frequency: 45Hz-65Hz; |
| Test Result | Phase sequence: L1-+ L2-+ L3 forward rotation; L1-+ L3-+ L2 reversed rotation |
| Detect Open Phase | Ariy open phase among L1, L2, L3 will be displayed on LCD |
- Display: LCD, display count: 9999
- Low Battery Indication: displays
- over-Load Indication: “>over-limited value”(e.g.: >500M)
- Auto Ranging
- Unit Display: Simultaneously display function and electrical units symbols
- Release Voltage Automatically
- Working Conditions: Ot:-40 t:/Humidity: .;;;; 85%
- Storage Conditions: -20C-60t:/Humidity:..;; 90%
- Current Consumption: around 50mA (at Max, 1000Voutput voltage) (normally status atom A)
- Safety: CATIII 300V, Pollution Degree 2 as per IEC61010
- Dimensions: 210mm(L)x175mm{W)>!9Qmm(D)
- Weight: 1 kg (including battery)
- Power: Alkaline battery 1.5V (AA) caps
- Accessoriss: Test leads, alkaline battery 1.5V (M) x8pcs, operating manual, carrying bag
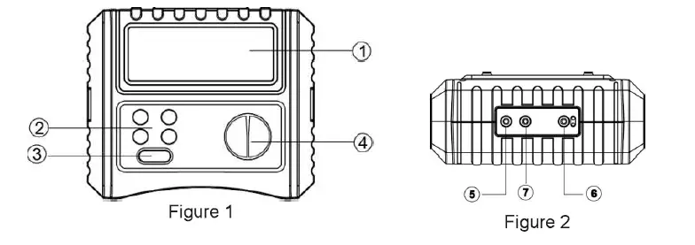
Tester Description
- LCD Display
- Function Buttons F1, F2, F3, F4
- TEST Button
- Rotary Switch
- Input Terminal to Test Lead (Black)
- Input Terminal to Test Lead (Red) Or to specified test lead
- Input Terminal to Test Lead (Green)
Rotary Switch
- Phase Rotation: Detest Phase sequence
- Volts: Measure Voltage/Frequency
- 250V: Measure Insulation Resistance
- 500V: Measure Insulation Resistance
- 1000V: Measure Insulation Resistance
- Continuity with Test Current up to 200mA;
- OFF;
- Loop/PSCIZs/Ze: Measure Loop/Line Impedance, Prospective Fault current, and Prospective Short Current.
- Auto: Automatically Test RCD;
- × 1/2: Measure RCD Trip Time at × 1/2 Rated Current
- ×1: Measure CD Trip Time at ×1 Rated Current
- ×2: Measure RCD Trip Time at ×2 Rated Current
- ×5: Measure RCD Trip Time at ×5 Rated Current
- Ramp: Measure RCD Trip Current
Preparations before Measurement
If the low battery indicator shows on the upper left part of the LCD after turning on the Tester, it indicates the battery falls low, please replace the battery time.
| Low Battery Indicator | Battery Voltage |
| <7V |
Testing for Continuity (See Figure 3)
To test for continuity:
- Discharge totally the tested circuits and keep them completely separated from the power supply before the test
- Insert red lead or specific TEST-marked test lead into the red input terminal and black test lead to the black terminal.
- Connect red and black al~gators or test probes to the circuit under test
- Turn the rotary switch to position, then press the TEST button to begin. Refer to Figure 3 for details
Understanding F1-F4 Buttons
| F1 | F2 | F3 | F4 |
| Buzzer and backlight | Test lock | ZERO | Invalid |
- F1: Long press F1 for about 2 seconds to turn or off the backlight; short press to turn or off 20 compare function and LCD ‘MIi show buzzer indicator, the buzzer will alarm if the measured resistance is <20.
- F2: Press to turn on/off the TEST LOCKED function. When it is necessary to take a long-time measurement, press F2 to enable the function, and lock the indicator sham on LCD, you then just need to press TEST down once, release it and the Tester ‘MIi takes measurements continuously.
Press TEST again to stop the measurements. To disable the function, press F2 again or turn the rotary s¼’itch to other functions. - F3: Press to zero the test leads. First, short-circuit hYo test leads, and then long pressF3 to reset the display to 0.00, ‘ZERO’ will show on LCD, indicating the operation completes .
Caution:
- To ensure an accurate test, please perform the zeroing before test
- Do not test on live objects
- Before the test starts, the Tester will automatically display the voltage between two input terminals if this voltage is >30V, the TEST button will be inhibited.
Measuring Insulation Resistance (See Figure 4)
To measure insulation resistance:
- Discharge totally the tested circuits and keep them completely separated from the power supply before the test
- Insert red lead or specific TEST-marked test lead into the red input terminal and black test lead to the black terminal.
- Connect red and black alligators or test probes to the circuit under test
- Turn the rotary switch to the ‘ Insulation” position and select the proper test voltage, then press the TEST button to start
Understanding F1-F4 Buttons
| F1 | F2 | F3 | F4 |
| Buzzer and backlight | Test lock | Invalid | Invalid |
- F1: Long press F1 for about 2 seconds to turn or off the backligh~ short press to turn on/off 2 M compare function. The buzzer will alarm the fifth measured resistance is <2M.
- F2: Press to turn on/off the TEST LOCKED function. When it is necessary to take a longtime measurement, press F2 to enable the function, and lock: the indicator shows on LCD, you then just need to press TEST down once, release it and the Tester v.ill take measurements continuously.
Press TEST again to stop the measurements. To disable the function, press F2 again or turn the rotary s¼’itch to other functions
Caution
- Make sure the test circuits are de-energized before measurement. Do not measure any live electrical devices or lines.
- Before the test starts, the Tester’s MIi automatically displays the voltage between two input terminals if this voltage is >30V, and TEST b1.Jtton will be inhibited.
- Do not measure with the battery cover opened.
- Do not short-circuit the two least leads under high-voltage output status or measure insulation resistance after the high-voltage has already been output.
Measuring Voltage/Frequency (See Figure 5)
To measure voltage/frequency:
- Set the rotary switch to Volts Connect as shown in Figure 5:
- Insert the red test lead into the “Red” input terminal and the black test lead into the “Black” terminal.
- Connect red & black alligator clips or probes firmly to tested circuits. The Tester will automatically identify AC/DC voltage and show measured voltage and frequency readings on the LCD.
connect as shown in Figure 7:
- Insert three connectors of specified one-plug test leads to three input terminals of the Tester (red to red, green to green, black to black).
- Insert the plug of the test leads into the socket of the test circuits, and the Tester will automatically identify AC/DC voltage and show measured voltage and frequency readings on the LCD.
Understanding F1-F4 Buttons:
- Do not input voltage higher than 440V or 440Vrms. It may be possible to display the voltage value, but it may pose hazard to the Tester.
- To avoid electric shock, please take extreme caution when working with high voltage.
- Remove the test leads away from tested circuits and disconnect them from the input terminals of the Tester after completing the measurements.
- Do not measure with the battery cover opened.
Detecting Phase Sequence(See Figure 6)
To Detect Phase Sequence:
- Turn the rotary switch to Phase Rotation position.
- Insert three connectors of three test leads into input terminals of the Tester(red to red, green to green, black to black).
- Then connect three test leads into three-phase AC system(black to L1, green to L2, red to L3, refer to Figure 6 for details), after that, the Tester will indicate the phase sequence and open phase result on LCD.
Understanding F1-F4 Buttons:
| F1 | F2 | F3 | F4 |
| Buzzer and backlight | Invalid | Invalid | Invalid |
- F1: Long press for 2 seconds to turn on/off the backlight.
- F2, F3, F4: all are invalid; TEST button is invalid too.
Caution
- Do not input voltage higher than 440V or 440Vrms. It may be possible to display the voltage value, but it may pose hazard to the Tester.
- To avoid electric shock, please take extreme caution when working with high voltage
- Remove the test leads away from tested circuits and disconnect them from the input terminals of the Tester after completing the measurements.
- Do not measure with the battery cover opened.
F1 F2 F3 F4 Backlight Invalid Invalid Invalid
Measuring Loop Impedance/Prospective Fault Current (See Figure 7, 8)
To measure Loop Impedance/ Prospective Fault Current:
- Turn the rotary switch to LOOP.
- Insert three connectors of one-plug test leads or three separate test leads into three input terminals of the Tester (red to red, green to green, black to black).
- Plug the plug into the domestic 220 socket or connect the test probes to the tested lines.
- Press the TEST button to start.
Understanding F1-F4 Buttons:
F1: Long press F1 for 2 seconds to turn on/off the backlight. F2, F3, F4: all are invalid.
Caution
- Please make sure domestic 220V in the power socket is normally supplied. If the socket is unable to be powered normally or de-energized, L-PE and L-N icons on the lower left part of the LCD will flash simultaneously.
- Ensure the socket is properly grounded. If the socket has bad grounding or isn’t grounded, L-PE and N-PE icons on the lower left part of the LCD will flash simultaneously.
- Ensure the neutral terminal of the socket is firmly connected If the neutral terminal is badly or not connected, L-N and N-PE icons on the lower left part of the LCD will flash simultaneously.
- Ensure live and neutral terminals of the power socket are not reversely connected when measuring loop impedance/prospective fault current, otherwise, L-PE, L-N, and N-PE icons on the lower left part of the LCD will flash simultaneously.
- Please take extreme caution when making the measurement, fort is performed under high-voltage status.
Measuring Line Impedance/Prospective Short Current (See Figure 7, 8)
To measure Line Impedance/Prospective Short Current:
- Turn the rotary switch to NO-TRIP position:
- Insert three connectors of one-plug test leads or three separate test leads into three input terminals of the Tester (red to red, green to green, black to black). (Refer to Figure 6, 7, 8)
- Plug the plug into domestic 220V socket or connect the test probes to the tested lines.
- Press TEST button to start.
Understanding F1-F4 Buttons:
| F1 | F2 | F3 | F4 |
| Backlight/L-N/L-PE | Not used | Not used | Not used |
F1: Long press F1 for 2 seconds to turn on/off the backlight; short press to switch between L-N and L-PE measurements. F2, F3, F4: all are invalid.
Caution
- Please make sure domestic 220V in the power socket is normally supplied. If the socket is unable to be powered normally or de-energized, L-PE and L-N icons on lower left part of LCD will flash simultaneously.
- Ensure the socket is properly grounded. If the socket has bad grounding or isn’t grounded, L-PE and N-PE icons on lower left part of LCD will flash simultaneously.
- Ensure the neutral terminal of the socket is firmly connected If the neutral terminal is badly or not connected, L-N and N-PE icons on lower left part of LCD will flash simultaneously.
- Ensure live and neutral terminals of the power socket are not reversely connected when measuring line impedance/prospective short current, otherwise, L-PE, L-N and N-PE icons on the lower left part of LCD will flash simultaneously.
- Please take extreme caution when making the measurement, fort is performed under high-voltage status.
Taking Auto RCD Tests (See Figure 7)
To Test RCD Automatically:
- Turn the rotary switch to the AUTO position;
- Insert three connectors of one-plug test leads into three input terminals of the Tester (red to red, green to green, black to black). (Refer to Figure 7)
- Plug the plug into the domestic 220V socket.
- Press the TEST button to start.
Tips:
Auto RCD Test is designed to measure trip times in one time just by pressing one button down. The Tester will complete all CD measurements before proceeding into the next test. All these test data will be saved in the Tester; pressing F3 can review all the data. RCD measurements are taken in the following order:
Understanding F1-F4 Buttons:
- F1: Long press for 2 seconds to turn on/off the backlight.
- F2: Press to toggle between CD types and Timer mode.
RCD Types: AC and DC(full-and half-wave) Timer: under this mode, press down TEST button and the Tester will count down from the 30s to Os before enabling the RCD test; - F3: Press to recall all saved data from the whole test;
- F4: Press to select RCD test current.
Caution
- Please make sure domestic 220V in the power socket is normally supplied. If the socket is unable to be powered normally or de-energized, L-PE and L-N icons on the lower left part of LCD will flash simultaneously.
- Ensure the socket is properly grounded. If the socket has bad grounding or isn’t grounded, L-PE and N-PE icons on the lower left part of LCD will flash simultaneously.
- Ensure the neutral terminal of the socket is firmly connected If the neutral terminal is badly or not connected, L-N and N-PE icons on the lower left part of the LCD will flash simultaneously.
- Ensure live and neutral terminals of the power socket are not reversely connected when testing RCD, otherwise, L-PE, L-N, and N-PE icons on the lower left part of the LCD will flash simultaneously.
- Please take extreme caution when taking auto CD tests, fort is performed under the high-voltage status
Taking Regular RCD Tests (See Figure 7)
To take regular RCD test:
- Turn the rotary switch to 1/2*|An, 1*An, 2*An or 5*An position;
- Insert three connectors of one-plug test leads into three input terminals of the Tester (red to red, green to green, black to black). (Refer to Figure 7)
- Plug the plug into domestic 220V socket.
- Press the TEST button to start.
Understanding F1-F4 Buttons:
- F1: Long press for 2 seconds to turn on/off the backlight; short press to toggle between 0°/180°
- F2: Press to toggle between RCD types and Timer mode. RCD Types: AC and DC (full-and half-wave)
Timer: under this mode, press down TEST button and the Tester will count down from 30s to Os before enabling RCD test; - F3: invalid
- F4: Press to select CD-rated test current, and refer to rated options in the following order:

Tips:
The leakage current will be different depending on the selected current multiplier. Refer to the following table for a detailed relationship.
Caution
- Please make sure domestic 220V in the power socket is normally supplied. If the socket is unable to be powered normally or de-energized, L-PE and L-N icons on the lower left part of the LCD will flash simultaneously.
- Ensure the socket is properly grounded. If the socket has bad grounding or isn’t grounded, L-PE and N-PE icons on the lower left part of the LCD will flash simultaneously.
- Ensure the neutral terminal of the socket is firmly connected If the neutral terminal is badly or not connected, L-N and N-PE icons on the lower left part of the LCD will flash simultaneously.
- Ensure live and neutral terminals of the power socket are not reversely connected when testing RCD, otherwise, L-PE, L-N, and N-PE icons on the lower left part of the LCD will flash simultaneously.
- Please take extreme caution when taking regular CD tests, for it is performed under the high-voltage status
Measuring RCD Trip Current (See Figure 7)
To measure trip current:
- Turn the rotary switch to the A Ramp position.
- Insert three connectors of one-plug test leads into three input terminals of the Tester (red to red, green to green, black to black). (Refer to Figure 7)
- Plug the plug into the domestic 220V socket.
- Press the TEST button to start.
Understanding F1-F4 Buttons:
- F1: Long press for 2 seconds to turn on/off the backlight; short press to toggle between 0°/180°
- F2: Press to toggle between CD types and Timer mode.
RCD Types: AC and DC (full-and half-wave)
Timer: under this mode, press down TEST button and the Tester will count down from the 30s to Os before enabling the RCD test; - F3: invalid
- F4: Press to select CD-rated leakage test current, and refer to rated options in the following order.

Tips:
The leakage current will be different depending on the selected waveform. Refer to the following table for a detailed relationship.
Caution
- Please make sure domestic 220V in the power socket is normally supplied. If the socket is unable to be powered normally or de-energized, L-PE and L-N icons on the lower left part of the LCD will flash simultaneously.
- Ensure the socket is properly grounded. If the socket has bad grounding or isn’t grounded, L-PE and N-PE icons on the lower left part of the LCD will flash simultaneously.
- Ensure the neutral terminal of the socket is firmly connected If the neutral terminal is badly or not connected, L-N and N-PE icons on the lower left part of the LCD will flash simultaneously.
- Ensure live and neutral terminals of the power socket are not reversely connected when testing the RCD trip current, otherwise, L-PE, L-N, and N-PE icons on the lower left part of the LCD will flash simultaneously.
- Please take extreme caution when testing CD trip current, for it is performed under high-voltage status.
Replacing the Battery
Danger
- To avoid electric shock, remove away all test leads from the ester before replacing the battery.
- Do not measure with the battery cover opened.
Danger
- Do not mix old and new batteries for use.
- When a low battery indicator
shows on LCD, please replace the battery timely.
To replace the battery, follow the steps below:
- Power off the Tester (set the rotary switch to OFF) and remove away the test leads.
- Unscrew the battery cover, remove the battery cover, and replace the batteries with 8pcs new batteries.
- Screw up the battery and tighten up the screws.
Maintenance & Repair
Cleaning the Casing:
- Clean the Tester surface with a soft cloth or sponge dampened with little water.
- To avoid damage to the Tester, do not submerge it in the water.
- Dry the Tester before storing it if it is wet.
Repair:
- When it becomes necessary to calibrate or repair the Tester, please have it serviced by qualified professional personnel or a designated service center.
- The manual information is subject to changes without prior notice.
Gazelle Industrial Co.
[email protected]
[email protected]
www.gazelleindustrial.com
Manufactured by an ISO Certified Company





















