LASER TVB-LUP38-6T Tilt TV Wall Mount

Thank you for your purchase!
Laser Corporation is 100% Australian-owned & operated. To get the most out of your product please read the user manual carefully and keep for future use. For specific information relating to your product such as Spare Parts, FAQs, Warranty claims, and more, please scan the following QR code:
WHAT’S IN THE BOX

TOOLS REQUIRED



Read the entire instruction manual before you start installation and assembly. If you have any questions regarding any of the instructions or warnings, please contact your
local distributor for assistance.
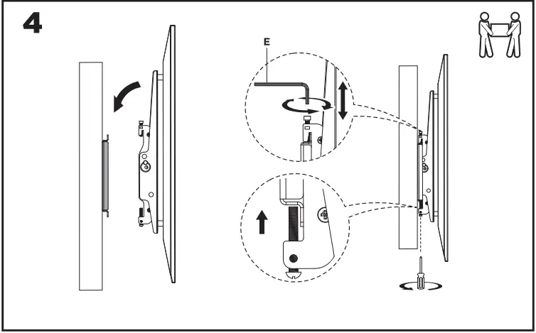
CAUTION: Use with products heavier than the rated weights indicated may result in instability causing possible injury.
- Please closely follow the assembly instructions. Improper installation may result in damage or serious personal injury. Safety gear and proper tools must be used. This product should only be installed by professionals.
- This product is designed to be installed on solid concrete walls, masonry walls or wood stud walls. Make sure that the supporting surface will safely support the combined weight of the equipment and all attached hardware and components.
- Use the mounting screws provided and DO NOT OVER-TIGHTEN mounting screws.
- This product contains small items that could be a choking hazard if swallowed. Keep these items away from children.
- This product is intended for indoor use only. Using this product outdoors could lead to product failure and personal injury.
IMPORTANT: Ensure that you have received all parts according to the component checklist prior to installation. If any parts are missing or faulty, contact your place of purchase for a replacement.
MAINTENANCE: Check that the product is secure and safe to use at regular intervals (at least every three months).
Visit our website

Check us out at www.youtube.com/lasercoau

SCAN ME
















