outdoor lifestyles ODVILLAG-36T Villa 42 Inch Outdoor Gas Fireplace Instruction Manual
INSTALLER: Leave this manual with party responsible for use and operation.
OWNER: Retain this manual for future reference.
WARNING: For Outdoor Use Only.
WARNING: Improper installation, adjustment, alteration, service or maintenance can cause injury or property damage. Read the installation, operating and maintenance instructions thoroughly before installing or servicing this equipment.
WARNING: Do not store or use gasoline or other flammable vapors and liquids in the vicinity of this or any other appliance. An LP-Cylinder not connected for use shall not be stored in the vicinity of this or any other appliance.
DANGER
- What to do if you smell gas:
- Shut off gas to the appliance.
- Extinguish any open flames.
- If odor continues, keep away from the appliance and immediately call your gas supplier or the fire department.
- Installation and service must be performed by a qualified installer, service agency, or the gas supplier.
WARNING
HOT! DO NOT TOUCH. SEVERE BURNS MAY RESULT. CLOTHING IGNITION MAY RESULT
Glass and other surfaces are hot during operation and cool down.
- Keep children away.
- CAREFULLY SUPERVISE children in same room as appliance.
- Alert children and adults to hazards of high temperatures.
- Keep clothing, furniture, draperies and other combustibles away.
CARBON MONOXIDE HAZARD
This appliance can produce carbon monoxide which has no odor. Using it in an enclosed space can kill you. Never use this appliance in an enclosed space such as a camper, tent,car or home.
Read this manual before installing or operating this appliance. Please retain this owner’s manual for future reference.
Congratulations
Congratulations on selecting a Outdoor Lifestyles Hearth Kit—an elegant and clean alternative to burning wood. The Outdoor Lifestyles Hearth Kit you have selected is designed to provide the utmost in safety, reliability, and efficiency. As the owner of this new Hearth Kit, you’ll want to read and carefully follow all of the instructions contained in this owner’s manual. Pay special attention to all cautions and warnings.
This owner’s manual should be retained for future reference. We suggest you keep it with your other important documents and product manuals. The information contained in this owner’s manual, unless noted otherwise, applies to all models and gas control systems. Your new Hearth Kit will give you years of durable use and trouble-free enjoyment. Welcome to the Outdoor Lifestyles family of appliance products!
Homeowner Reference Information
We recommend that you record the following pertinent information about your gas log set:
Model Name:………………………..
Date purchased/installed:……………………………………
Serial Number:………………………………………..
Location on appliance:………………………………………
Dealership purchased from:…………………………………….
Dealer phone:…………………………………..
Notes:………………………………..
Listing and Code Approvals
A. Appliance Certification
The Outdoor Lifestyles Hearth Kits have been tested for outdoor use in the U.S. In accordance with ANSI Z21.97 2017. CSA2.41-2017 When an appliance is for connection to a fixed piping system, the installation must conform with local codes or, in the absence of local codes, comply with the ANSI Z223.1-NFPA 54; National Fuel Gas Code; NaturalGas and Propane Installation Code, in the U.S.; in Canada, the CAN/CGA B149 or Propane Storage and Handling Code, CSA B149.2, as applicable. If any assistance is required during installation, please contact your local dealer.
FOR USE WITH VILLA-GAS OUTDOOR SERIES ONLY
MODELS:ODVILLAG-36T, ODVILLAG-36H ODVILLAG-42T, ODVILLAG-42H
LABORATORY: PFS
TYPE: OUTDOOR
STANDARD: ANSI Z21.97-2017 CSA2.41-2017
| B. Table 1 | |||
| Product | 4072-180 | 4072-182 | |
| Inlet BTU | Nat | 39,000 | 40,500 |
| Manifold Pressure IN. WC/KPa | Nat | 3.5/.018 | 3.5/.018 |
| Max. Inlet Pressure IN. WC/KPa | Nat | 10./.052 | 10./.052 |
| Min. Inlet Pressure WC/KPa | Nat | 10./.052 | 10./.052 |
| Orifice Size | Nat | #31 | #32 |
| Weight | Nat | 48 lbs | 54 lbs |
Solid fuels shall not be burned in this appliance.
Keep appliance area clear and free of combustible materials, gasoline, and other flammable vapors and liquids. The burner must be replaced prior to the appliance being put into operation if it is evident that the burner is damaged.
CHILDREN AND ADULTS SHOULD BE ALERTED TO THE HAZARDS OF HIGH SURFACE TEMPERATURES AND SHOULD STAY AWAY TO AVOID BURNS OR CLOTHING IGNITION. YOUNG CHILDREN SHOULD BE CAREFULLY SUPERVISED WHEN THEY ARE IN THE AREA OF THE APPLIANCE. CLOTHING OR OTHER FLAMMABLE MATERIALS SHOULD NOT BE HUNG FROM THE APPLIANCE, OR PLACED ON OR NEAR THE APPLIANCE. ANY GUARD OR OTHER DEVICE REMOVED FOR SERVICING THE APPLIANCE SHALL BE REPLACED PRIOR TO OPERATING THE APPLIANCE. INSTALLATION AND REPAIR SHOULD BE DONE BY A QUALIFIED SERVICE PERSON. THE APPLIANCE SHOULD BE INSPECTED BEFORE USE AND AT LEAST ANNUALLY BY A QUALIFIED SERVICE PERSON. MORE FREQUENT CLEANING MAY BE REQUIRED AS NECESSARY. IT IS IMPERATIVE THAT THE CONTROL COMPARTMENTS, BURNERS , AIR CIRCULATION AND AIR PASSAGEWAYS OF THE APPLIANCE ARE KEPT CLEAN.
WARNING
Outdoor Lifestylesdisclaims any responsibility for, and the warranty will be voided by, thefollowing actions:
- Installation and use of any damaged appliance or vent system component.
- Modification of the appliance or vent system.
- Installation other than as instructed by Outdoor Lifestyles.
- Improper positioning of the gas logs or the glass door.
- Installation and/or use of any component part not approved by Outdoor Lifestyles.
Any such action may cause a fire hazard.
WARNING
Fire Risk
Explosion Risk
Personal Injury Risk
Failure to position the parts in accordance with the diagrams provided with the log packages or failure to use only parts approved with this appliance may result in property damage or personal injury.
Appliance Preparation
Note: Have the gas supply line installed in accordance with local building codes, if any. If not, follow ANSI 223.1. Installation should be done by a qualified installer approved and/or licensed as required by the locality. (In the Commonwealth of Massachusetts installation must be performed by a licensed plumber or gas fitter.)
A. Gas Supply Connection
A 3/8 in. flared fitting has been installed on the gas valve inlet at the factory. Ensure fittings are of the appropriate size and type on the gas line connection. If the tubing has to be cut to length be sure to use the proper cutting and flaring tool. Also, be careful not to crimp the tubing while bending. If the tubing becomes crimped, do not use for installation.
WARNING
Gas Leak Risk
Support control when attaching pipe to prevent bending gas line.
WARNING
Fire Risk Explosion Risk Personal Injury Risk
An explosion could occur if a connection is made directly to an unregulated propane (LP) tank.
Note: An individual manual shutoff valve (not supplied) is required when installing this appliance. The manual shutoff valve must be located in an easily accessible area, no more than 6 feet from the appliance.
WARNING
Fire Risk Explosion Risk Verify inlet pressures.
- High pressure may cause overfire condition.
- Low pressure may cause explosion. Install regulator upstream of valve if line pressure is greater than 1/2 psig.
C. Gas Pressure
Proper input pressures are required for optimum appliance performance. Gas line sizing requirements need to be made following NFPA51.
Gas Leak Test: Make sure the gas connections are tight. Turn on the gas and coat each joint with a non-corrosive gas leak check solution. Air bubbles will form indicating any leaks. DO NOT USE A FLAME OR ANY TYPE OF IGNITION SOURCE TO CHECK FOR LEAKS. All leaks must be corrected before proceeding with installation.
WARNING
CHECK FOR GAS LEAKS Fire Risk Explosion Risk Asphyxiation Risk
- Check all fittings and connections.
- Do not use open flame.
- After the gas line installation is complete, all connections must be tightened and checked for leaks with a commercially available, non-corrosive leak check solution. Be sure to rinse off all leak check solution following testing. Fittings and connections may have loosened during shipping and handling.
Installation Instructions
A. Install the Stainless Burner Assembly
The burner assembly is shipped ready for right-hand gas connection. The air shutter is set at the factory at 1/8” for NG gas.
- Remove the existing cap or gas jet assembly from the gas stub in your fireplace. Clean the threads using a wire brush or steel wool. Apply Teflon tape or joint compound to the steel fitting and attach the provided brass adapter to the stub.
- Place the burner assembly in the fireplace. The burner should be centered both front to back and side to side.
- Bend the provided gas connector to facilitate its installation between the burner and the gas stub.
- Attach one end of the gas connector to the brass elbow or safety pilot fitting. Attach the other end to the brass
B. Place Lava Rock
- Place the desired amount of lava rock on the floor of the fireplace.
C. Install the Logs
- Install the logs using the installation instructions beginning on page 8-13.
- Light the burner as outlined in the operating section.
- Spread additional lava rock around the outside of the burner on the floor of the fireplace. DO NOT cover any part of the burner assembly
D. Adjust the Pilot Flame
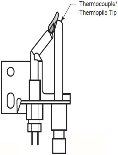
The pilot flame should be a soft blue color and should surround the last 1/2 in. of the thermocouple tip. The pilot adjustment screw is located on pilot valve beside control knob. Refer to Figure 4.3. If pilot flame must be adjusted, use a standard slotted screwdriver to turn screw clockwise to reduce flame or counterclockwise to increase flame.
Pilot Adjustment Screw

E. Important Safeguards
- Other Fuels
- Although your Hearth Kit is very realistic in appearance, it is not a real woodburning fire and must not be used for burning any fuel other than natural or propane gas.
- To avoid irreparable damage to the appliance and/or personal injury, wood, matches, paper, garbage or any other material must not be placed or thrown on top of the logs.
- Appliance Safety
- To avoid personal injury, do not touch hot surfaces when the appliance is operating.
- Always ensure that the fireplace screen is closed when the appliance is operating.
- Close supervision is necessary when the appliance is being used near children.
- Do not remove any of the attached metal plates, which contain important safety and operating information.
- Keep the appliance area clear and free of all combustible materials, gasoline and other flammable vapors and liquids.
- A qualified service technician must perform installation and repair. The appliance should be inspected and cleaned annually by a qualified service technician. More frequent cleaning may be required due to excessive lint, dust, pet hair, etc. It is imperative that the control compartments, burners and air passageways are unobstructed during operation.
- Review proper placement of logs and lava rock.
- Check the wiring.
- Ensure there are no gas leaks.
- Ensure the flow of combustion and ventilation air is not obstructed (front grilles and vent caps).
- Do not use a blower insert, heat exchanger insert or other accessories not approved for use with this appliance. Solid fuels shall not be burned in a fireplace where a decorative appliance is installed.
- If glass doors are present, the glass doors must be fully opened while appliance is in operation.
Pilot flame appearance
The pilot flame must always be present when appliance is operating. It should just touch the top of the thermocouple.

Operating Instructions
A. Lighting Instructions
FOR YOUR SAFETY READ BEFORE LIGHTING
WARNING: IF THESE INSTRUCTIONS ARE NOT FOLLOWED EXACTLY, A FIRE OR EXPLOSION MAY RESULT CAUSING PROPERTY DAMAGE, PERSONAL INJURY OR LOSS OF LIFE.
A. This appliance has a pilot that must be lighted by hand. When lighting the pilot, follow these instructions exactly.
B. BEFORE LIGHTING smell all around the appliance area for gas. Be sure to smell next to the floor because some gas is heavier than air and will settle on the floor. WHAT TO DO IF YOU SMELL GAS Do not try to light any appliance. Do not touch any electrical switch: do not use any phone in your building. Immediately call your gas supplier from a neighbor’s phone. Follow gas supplier’s instructions. If you cannot reach your gas supplier, call the fire department.
C. Use only your hand to push in or turn the gas control handle. Never use tools. If the handle will not push in or turn by hand, do not try to repair it. Call a qualified service technician. Force or attempted repair may result in fire or explosion.
D. Do no use this appliance if any part has been under water. Immediately call a qualified service technician to inspect the appliance and to replace any part of the control system and any part of the gas control that has been under water.
LIGHTING INSTRUCTIONS
- STOP! Read the safety information listed above.
- Turn gas control handle clockwise to the “OFF” position.
- Wait 5 minutes to clear out any gas. Then smell for gas, including near the floor. If you smell gas, STOP!. Follow “B” in the safety information above. If you do not smell gas go on to next step.
- Locate pilot (mounted on the right side of the top burner pan).
- Turn control handle counterclockwise to the “PILOT” position.
- Place a lit match at the pilot burner and simultaneously push in on the control handle. This should ignite the pilot.
- Once the pilot lights, continue to depress the control handle for 1 minute.
- After 1 minute slowly release control handle and it will pop back out. Pilot should remain lit. If it goes out, repeat steps 1 through 7. If the handle does not pop out when released, stop immediately and call your service technician or gas supplier. If the pilot will not stay lit after serveral tries, turn the gas control handle to the “OFF” position and call your service technician or gas supplier.
- Turn gas control handle counterclockwise to the “ON” position.
TO TURN GAS OFF TO APPLIANCE

Maintaining and Servicing the Appliance
A. Cleaning and Servicing Your Appliance
Periodic examination and cleaning of the appliance should be done before initial use and at least annually by a qualified agency.
CAUTION
Logs can get very hot. Handle only when they are cool.
Your Hearth Kit requires little care. Keep the burner assembly, logs and burner area surrounding the logs clean by vacuuming or brushing with a dry paint brush at leasttwice a year.
- The logs become fragile after burning. Take care in handling.
- Always turn off the gas to the pilot before cleaning. For relighting, refer to lighting instructions located Section 5 of these instructions.
- Always keep the appliance clear and free from combustible materials, gasoline, and other flammable vapors and liquids.
- Never obstruct the flow of combustion and ventilation air. Keep the front of the appliance clear of all obstacles and materials.
- Leave clearance of at least 36 in. from the front of the fireplace.
- The air mixer should not be blocked.
- Repair and replacement work should be done by a qualified service technician.
- Always shut off the gas supply and make sure the appliance is cool before beginning any service operation.
- Always check for gas leaks after servicing.
- Always check for proper venting.
WARNING
Risk of injury or property damage Before servicing:
- Turn off gas.
- Turn off electricity to appliance.
- Disable remote control, if one is present.
- Ensure appliance is completely cooled.
After Servicing:
- Replace any screen or barrier that was removed.
- Reseal and reinstall any venting removed for servicing.
WARNING
Improper installation, adjustment, alteration, service or maintenance can cause injury or property damage. Refer to the owner’s information manual provided with this appliance. For assistance or additional information consult a qualified installer, service agency or the gas supplier.
B. Annual Inspection
WARNING
Annual inspection by qualified technician recommended.
Check:
- Condition of doors, surrounds and fronts.
- Obstructions of combustion and ventilation air.
- Condition of logs.
- Condition of firebox.
- Gas connections and fittings.
- Obstructions of termination cap.
Clean:
- Glass.
- Logs.
- Burner, burner ports.
Risk of:
- Fire
- Delayed ignition or explosion
- Exposure to combustion fumes
- Odors
Note: A listed (and Commonwealth of Massachusetts approved) 1/2 in. (13 mm) T-handle manual shut-off valve and flexible gas connector are connected to the 1/2 in. (13 mm) control valve inlet.
WARNING: Failure to position the parts in accordance with these diagrams or failure to use only parts specifically approved with this appliance will result in property damage or personal injury




4072-24” INDIVIDUAL LOGS


4072-30” LOG PLACEMENT




INDIVIDUAL LOGS


| Symptoms | Possible Causes | Corrective Action | |||
| 1. | A match will not light the pilot. | A. | Main gas shutoff valve isclosed | 1. | Make sure that the shutoff valve located on theincoming gas line is open. |
| B. | There is air in the gas line. | 1. | Light a match. Turn the valve knob to the “PILOT” position and depress. Keep the match near the pilot burner until it lights. | ||
| C. | The valve knob is in the “OFF” position. | 1. | Turn the valve knob to the “PILOT” position and depress. Keep the match near the pilot burner until it lights. | ||
| D. | The pilot orifice is plugged, not allowing gas to flow. | 1. | This repair requires tools and some degree ofexperience. Call a qualified service technician. | ||
| E. | There is no gas supply tothe fireplace. | 1. | Check the plumbing to ensure the fireplace has beenhooked up the gas supply line. | ||
| 2. | The propane tank is empty. | ||||
| 2. | The pilot lights, but will not stay lit aftercarefully following lighting instructions. | A. | The thermocouple is too tight or too loose. | 1. | The thermocouple must be attached to the valvefinger-tight plus a 1/8 turn with a wrench. |
| B. | There is a weak pilotflame. | 1. | The pilot flame must engulf the thermocouple. Clean and/or adjust the pilot for maximum flame impingement on the thermocouple. | ||
| C. | Defective thermocouple | 1. | Check the thermocouple with a millivolt meter as follows: Disconnect the thermocouple from the valve and connect the red lead of the meter to the silver end of the thermocouple. Connect the black lead of the meter to the copper tubing of the thermocouple. Light the pilot and keep the knob depressed while taking readings. The meter readings should be greater than 14 mV. If not, replace the thermocouple. | ||
| 3. | The pilot is on, but there is no gas to the main burner; the valve knob is on. | A. | A blockage is preventinggas flow. | 1. | Inspect the burner orifice for obstruction. Call a qualified service technician. |
| B. | Defective valve. | 1. | Replace the gas valve. Call a qualified servicetechnician. | ||
Service Parts (Copreci Valve)

| # | Description of Part | 24” | 30” | QTY |
| 1a | 4072 Grate Assembly | 11-1270SS | 11-1275SS | 1 |
| 1b | 4072 Burner Assembly | 11-1182SS | 11-1183SS | 1 |
| 2 | Pilot Bracket | MT-1200-PB | MT-1200-PB | 1 |
| 3 | Strap Plate | MT-1200- | MT-1200- | 1 |
| 4 | Valve (Copreci) (no longer available) | SRV07-1025 | SRV07-1025 | 1 |
| 5 | Orifice | 4072-24N | 4072-30N | 1 |
| 6 | Pilot Natural | SRV07-1008 | SRV07-1008 | 1 |
| 7 | Control Knob | 07-1030 | 07-1030 | 1 |
| NOT SHOWN | ||||
| Union, 3/8” MFL x 3/8” MIP | 01-1004 | 01-1004 | 1 | |
| Elbow, 3/8” FL x 3/8” MIP Forged | 11-1300 | 11-1300 | 1 | |
| Elbow, 3/8” Flare x 3/8” FIP | 10-1037 | 10-1037 | 1 | |
| Aluminum Gas Line 24” | FT-1-24 | FT-1-24 | 1 | |
| Lava Rock | SRVACC10 | SRVACC10 | 1 | |
| Hearth Kit Install | 4072-179 | 4072-179 | 1 |

| # | Description of Part | 24” | 30” | QTY |
| 1a | 4072 Grate Assembly | 11-1270SS | 11-1275SS | 1 |
| 1b | 4072 Burner Assembly | 11-1182SS | 11-1183SS | 1 |
| 2 | Pilot bracket | MT-1200-PB | MT-1200-PB | 1 |
| 3 | Valve (Dexen) | SRV07-1044 | SRV07-1044 | 1 |
| 4 | Orifice | 4072-24N | 4072-30N | 1 |
| 5 | Pilot Natural | SRV07-1008 | SRV07-1008 | 1 |
| 6 | Control Knob | 07-1030 | 07-1030 | 1 |
| 7 | Union, 3/8” MFL x 3/8” MIP | 01-1004 | 01-1004 | 2 |
| NOT SHOWN | ||||
| Aluminum Gas Line 24” | FT-1-24 | FT-1-24 | 1 | |
| Lava Rock | SRVACC10 | SRVACC10 | 1 | |
| Hearth Kit Install | 4072-179 | 4072-179 | 1 |
Warranty
Hearth & Home Technologies (“HHT”) extends the following warranty for all Outdoor Lifestyles by HHT™ brand products (“Products”) that are purchased from an HHT authorized dealer.
WARRANTY COVERAGE:
HHT warrants to the original owner of the Product at the site of installation, and to any transferee taking ownership of the Product at the site of installation within one year following the date of original purchase, that the Product will be free from defects in materials and workmanship at the time of manufacture. After installation, if covered components manufactured by HHT are found to be defective in materials or workmanship during the applicable warranty period, HHT will, at its option, repair or replace the covered components. This warranty is subject to conditions, exclusions and limitations as described below.
WARRANTY PERIOD:
The warranty period runs for one year, beginning on the earlier of: (i) the date of invoice for the Product; (ii) in the case of new home construction, the date of first occupancy of the residence or six months after the date of sale of the Product by an HHT authorized dealer, whichever occurs first; or (iii) the date 24 months following the date of Product shipment from HHT, regardless of the invoice or occupancy date.
WARRANTY CONDITIONS:
- This warranty only covers Products that are purchased through an HHT authorized dealer or distributor. A list of HHT authorized dealers is available on the HHT branded websites.
- This warranty is only valid while the Product remains at the site of original installation.
- Contact your installing dealer for warranty service. If the installing dealer is unable to provide necessary parts, contact the nearest HHT authorized dealer or supplier. Additional service fees may apply if you are seeking warranty service from a dealer other than the dealer from whom you originally purchased the Product.
- Check with your dealer in advance for any costs to you when arranging a warranty call. Travel and shipping charges for parts are not covered by this warranty
WARRANTY EXCLUSIONS:
This warranty does not cover the following:
- Changes in surface finishes as a result of normal use. As a heating appliance, some changes in color of interior and exterior surface finishes may occur; this is not a flaw and not covered under warranty.
- Damage to printed, plated, or enameled surfaces caused by fingerprints, accidents, misuse, scratches, melted items, or other external sources and residues left on surfaces from the use of abrasive cleaners or polishes.
- Repair or replacement of parts that are subject to normal wear and tear during the warranty period. These parts include: paint, firebricks, grates, flame guides and the discoloration of glass.
- Minor expansion, contraction, or movement of certain parts causing noise. These conditions are normal and complaints related to this noise are not covered by this warranty
- Damages resulting from: (1) failure to install, operate, or maintain the Product in accordance with the installation instructions, operating instructions, and listing agent identification label furnished with the Product; (2) failure to install the Product in accordance with local building codes; (3) shipping or improper handling; (4) improper operation, abuse, misuse, continued operation with damaged, corroded or failed components, accident, or incorrectly performed repairs; (5) inadequate ventilation, negative pressure or environmental conditions, including, without limitation: hail, snow, ice, fallen branches, flooding, water damage and fading of color; (6) use of fuels other than those specified in the operating instructions; (7) installation or use of components not supplied with the Product or any other components not expressly authorized and approved by HHT; (8) modification of the Product not expressly authorized and approved by HHT in writing; and/or (9) interruptions or fluctuations of electrical power supply to the Product.
- Non-HHT venting components, hearth components or other accessories used in conjunction with the Product.
- Any part of a pre-existing fireplace system in which an insert or a decorative gas appliance is installed.
- The Product’s capability to heat the desired space. Information is provided to assist the consumer and the dealer in selecting the proper appliance for the application. Consideration must be given to the Product’s location and configuration and environmental conditions.
This warranty is void if:
- The Product has been over-fired or operated in atmospheres contaminated by chlorine, fluorine, or other damaging chemicals. Over-firing can be identified by, but not limited to, warped plates or tubes, rust colored cast iron, bubbling, cracking and discoloration of steel or enamel finishes and cracking or spalling of refractory or cementitious materials.
- The Product is subjected to prolonged periods of dampness, condensation, ice or snow.
- There is any damage to the Product or other components due to water or weather damage which is the result of, but not limited to, improper chimney or venting installation.
LIMITATIONS OF LIABILITY:
Repair or replacement in accordance with the provisions of this warranty will be the owner’s exclusive remedy for and will constitute HHT’s sole obligation under this warranty, under any other warranty (express or implied), or in contract, tort or otherwise; provided, however, that if HHT is unable to provide repair or replacement in an expedient and cost effective manner, HHT may discharge all such obligations by refunding the purchase price of the Product. No employee, agent, dealer, or other person is authorized to give any warranty on behalf of HHT. TO THE EXTENT ALLOWED BY LAW, HHT MAKES NO OTHER WARRANTY, EXPRESS OR IMPLIED, INCLUDING ANY WARRANTY OF MERCHANTABILITY OR FITNESS FOR A PARTICULAR PURPOSE. HHT WILL NOT BE LIABLE FOR ANY CONSEQUENTIAL OR INCIDENTAL DAMAGES ARISING OUT OF DEFECTS IN OR USE OF THE PRODUCTS. Some states do not allow exclusions or limitation of incidental or consequential damages, so these limitations may not apply to you. This warranty gives you specific rights; you also may have other rights, which vary from state to state. The duration of any implied warranty is limited to the duration of the warranty period specified herein.













