SIMES 8114505 Hybrid Wall

Hybrid Wall
CODE 8114505
Hybrid Wall can be implemented to create a heating system that uses a EDEA HM, PLANET HM PLUS, VERA HE, PRAKTICA HE or MURELLE HT / HM PLUS / HT READY boiler and a heat pump. The automatic management of the convenience between generators requires the presence of an outdoor sensor (recommended accessory) connected to the boiler. If there is no outdoor sensor, for the heat pump to work it is necessary to set the convenience parameter on the boiler correctly, as explained below in the section “Calculation of convenience/selection between generators”.
CAUTION
For the system to work properly, verify that the board code is:
- VERA HE, PRAKTICA HE: code 6324950I or higher
- EDEA HM, PLANET HM PLUS: code 6324982D or higher
- MURELLE HT, HM PLUS, HT READY: boiler board code 632890F or higher, interface board code 6328903A or higher.
Alternatively, consult the section “MENU” –> “INFORMATION” and verify that the functioning versions are:
- Version SCP 1.05 or higher.
- Version MB: 1.06 or higher.
If not, contact the reference Assistance Centre.
SUPPLY
The product is supplied in a single item inside a cardboard box.
The packaging contains:
- Hybrid Wall 1
- Accessory box containing:
- Pipe with O-RING
(EDEA HM-PLANET HM PLUS-VERA HE-PRAKTICA HE) 1 - Pipe with O-RING
(MURELLE HT-HM PLUS-HT READY) 1 - Automatic relief valve 1/4″ 1
- Pipe with O-RING
- Bag containing:
- Relay board with flat cable 1
- ”HI-LO” pan-head screw 3×8 P galvanised 3
- Bag containing:
- M8x35 galvanised hex-head screw 2
- M8 galvanised flanged nut 2
- Spring for head exchanger coupling 1
- Klinger seal 4324 17x24x2 1
- Air relief valve 1/4″ 1
- Assembly template 1
Mi Instructions 1
Packaging box

Fig. 1
SPECIFICATIONS
| DESCRIPTION | Hybrid Wall |
| Dispersion surface m2 | 0.315 |
| Insulation thickness mm | 10 |
| Thermal conductivity coefficient (λ) at 0°C W/mK | 0.0344 |
| Thermal conductivity coefficient (λ) at 0°C kcal/mh°C | 0.0296 |
| Thermal conductivity coefficient (λ) at 40°C W/mK | 0.0372 |
| Thermal conductivity coefficient (λ) at 40°C kcal/mh°C | 0.0320 |
| Storage tank volume l | 15 |
| No-load weight kg | 20 |
| Full-load weight kg | 35 |
DIMENSIONS AND WATER CONNECTIONS

RI System return (3/4″)
RC Boiler return (quick 3/4″) – return from boiler
MPC Heat pump delivery (1″) – out from heat pump
RPC Heat pump return (1″) – return from heat pump
SB Drain outlet (1/4″)
SVI Automatic safety relief valve (1/4″)
MAIN HYDRAULIC AND ELECTRICAL DIAGRAM
- DIRECT ZONE (models EDEA HM – PLANET HM PLUS – VERA HE – PRAKTICA HE)

RI System return
RC Boiler return
MPC Heat pump delivery
RPC Heat pump return
M Delivery
R Return
SRE Relay board with flat cable
CR Remote control (optional)
SE External sensor (optional)
F Y-shaped filter (not supplied, to be arranged by the installer)
Assemble the relay board with the three fixing screws supplied in the kit and connect it to the boiler board with the flat cable.
- DIRECT ZONES (models MURELLE HT – HM PLUS – HT READY)
PAR. NO. MURELLE HT MURELLE HT T 02 16 18 
RI System return
RC Boiler return
MPC Heat pump delivery
RPC Heat pump return
M Delivery
R Return
SRE Relay board (already installed with MURELLE HT)
KA Relè
CR Remote control (optional, alternative to TZ1)
SE External sensor (optional)
PC1 Zone 1 circulator pump/valve
PC2 Zone 2 circulator pump/valve
TZ1 Zone 1 thermostat
TZ2 Zone 2 thermostat
F Y-shaped filter (not supplied, to be arranged by the installer)
(*) The cooling circuit must be made externally to Hybrid Wall, as the latter does not include one.
We therefore suggest mounting a diverter valve on the connecting
pipe between the heat pump and Hybrid Wall.
(**) ONLY for SHP ECO EV heat pump
1 MIX ZONE + 1 DIRECT ZONE (MURELLE HT – HM PLUS – HT READY)
| PAR. NO. | MURELLE HT | MURELLE HT T |
| 02 | 17 | 19 |

RI System return
RC Boiler return
MPC Heat pump delivery
RPC Heat pump return
M Delivery
R Return
SRE Relay board (already installed with MURELLE HT)
KA Relè
CR Remote control (optional, alternative to TZ1)
SE External sensor (optional)
F Y-shaped filter (not supplied, to be arranged by the installer)
VMIX1 Zone 1 mixing valve
PC1 Zone 1 circulator pump/valve
PC2 Zone 2 circulator pump/valve
Sm1 Zone 1 delivery sensor
TZ1 Zone 1 thermostat
TZ2 Zone 2 thermostat
Ts1 Zone 1 safety thermostat
(*) to connect the PC2 pump, energise R4, which is a dry contact.
ASSEMBLY
ASSEMBLING THE KIT
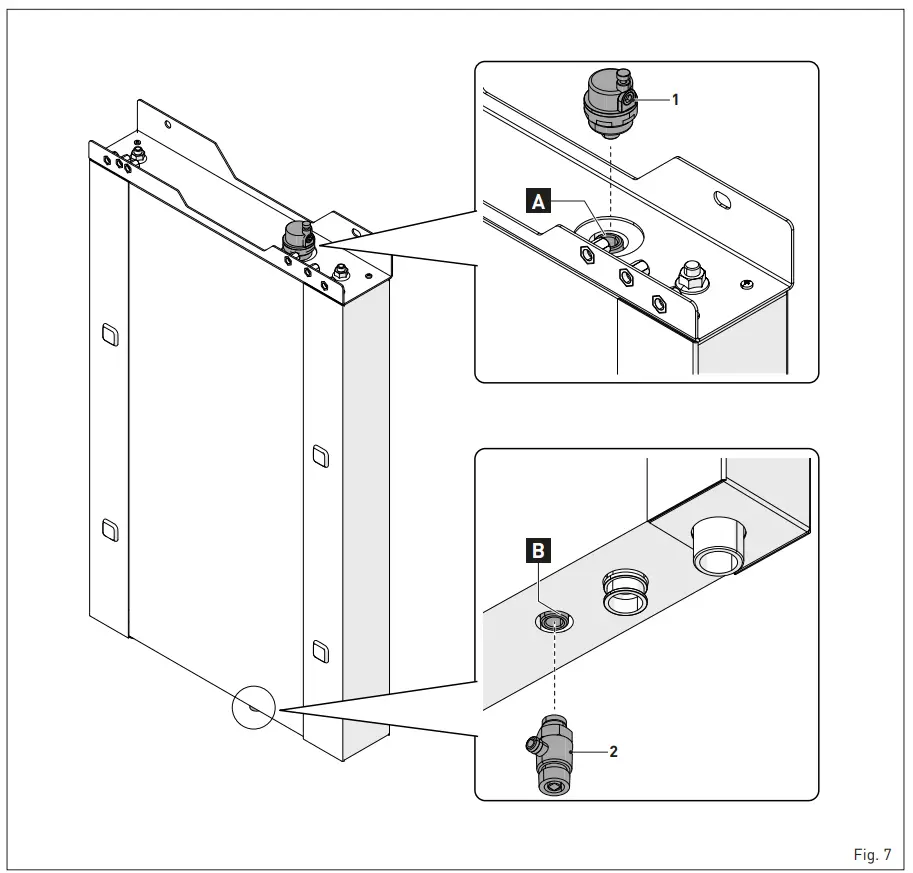
Prior to installing the kit on the various boiler models, screw the automatic air relief valve (1) onto the Hybrid Wall into the 1/4″ fitting (A) and the relieflve (2) into the 1/4″ fitting (B).
NOTE: the automatic air relief valve and the relief valve are supplied with the product.
MOUNTING
Hybrid Wall MUST be mounted between the boiler and the wall: refer to the assembly diagram relative to the boiler used.
Make sure that the wall is able to withstand the overall and full-load weight of Hybrid Wall and of the boiler.
Proceed as follows.
– drill the wall to insert the 2 wall plugs (not supplied) using the jig provided. Refer to the 2 holes (A) (Ø=11 mm) on the upper bracket of Hybrid Wall.
– Mount Hybrid Wall on the wall and then install the boiler using the screws (1) and nuts (2) provided. Refer to the 2 holes (B) on the upper bracket of Hybrid Wall.
– Complete the hydraulic connections.
EDEA HM – PLANET HM PLUS

EDEA HM (for the UK market)

VERA HE – PRAKTICA HE

MURELLE HT – HM PLUS – HT READY

FILLING
To fill the systems:
– Power the boiler and the heat pump by setting the respective general switches “IG” and main switches “IP” of the appliances to “ON”.
– Close the boiler’s gas valve.
– Open all the automatic relief valves located on the boiler, the heat pump and on the Hybrid Wall (consult the instruction manuals of the appliances).
– Where possible, select the maximum speed for the pumps.
– Open the filling valve located on the lower part of the boiler and fill the circuits until the pressure reading on the display or on the boiler’s pressure gauge is around 1.6 bar then close it.
– Activate the automatic degassing procedure for the heat pump: refer to the relative manual provided.
– Once the degassing procedure has been completed, set all devices (TA, etc.) on the system to heating demand mode, so that all the pumps can work for at least 10 minutes, making water circulate and facilitating bleeding of air.
– Put the thermostats back to the “non-demand” position.
– Repeat the operations of the previous point 2 or 3 times and verify, on the display or on the pressure gauge, whether the pressure of the system when cold falls between 1.2 and 1.5 bar. If not, open the filling valve until the correct value is reached.
EDEA HM – PLANET HM PLUS – VERA HE – RAKTICA HE OPERATION
CAUTION
For the system to work properly, verify that the board code is:
– VERA HE, PRAKTICA HE code 6324950I or higher
– EDEA HM, PLANET HM PLUS code 6324982D or higher.
If not, contact the reference Assistance Centre.
CAUTION
Refer to the boiler manual for setting the parameters, anomaly visualisation, etc.
NECESSARY SETTINGS
The settings required for the optimal operation of the generators and systems, and for guaranteeing the utmost comfort for the user, include:
A – Setting of the boiler PARAMETERS
The “mandatory” parameters include:
| PAR. NO. | Parameter values |
| 02 | 9 |
| 14 | Set the maximum temperature value on the basis of the type of system |
Consult the boiler manual for the procedure to be observed.
B – Setting of the heat pump PARAMETERS
SHP ECO EV
SET HEAT = 55°C Max
SHP M PRO
– modify PAR 6.1 “Room thermostat” = 1 ZONE
– modify PAR 1.1 “Domestic Hot Water mode” (DHW) = OFF
CAUTION
The password for the Assistance Service is “234”.
CAUTION
If the “SHP M PRO” heat pump is installed with the
finned battery facing SOUTH, pay attention to PARAMETER 3.3 (T4HMX = Maximum outdoor operating temperature for the “HOT” mode) which must be increased to the maximum value of 35°C (the value set by default is 25°C).
C – Setting of the “SUMMER” or “WINTER” mode
These modes are set manually on both the boiler and the heat pump, and MUST BE “IDENTICAL”: in other words, “WINTER” (heating) on both appliances or “SUMMER” (cooling) on both appliances.
D – Temperature settings
| SET-POINT | BOILER | HEAT PUMP |
| Heating system delivery temperature | without external sensor: fixed value (e.g. 50°C) | consistent with the boiler setting (e.g. 50°C; max. 55°C) |
| with external sensor: selection of the climatic curve | value equal to the maximum temperature of the selected climatic curve (max. 55°C) | |
| Cooling system delivery temperature | none | fixed value (desired temperature) |
OPERATION IN “HEATING” MODE
The “Winter” operating mode must be set and the closing of the room thermostat (TA) is interpreted as a request for heat.
A remote control (CR) can be made for operation in heating mode alone.
The temperature set-point, for the heat pump, must be set by the user on the heat pump.
The boiler or heat pump, or both, both activate to reach the delivery temperature set on the boiler’s control panel (fixed value or climatic curve depending on whether an external sensor is present).
The choice of the generator is defined by the convenience calculation described further below.
OPERATION IN “COOLING” MODE
The closing of the room thermostat (TA), with the boiler and the heat pump in “SUMMER” mode, is interpreted as a cooling request.
CAUTION
The cooling circuit must be made externally to Hybrid Wall, as the latter does not include one. We therefore suggest mounting a diverter valve on the connecting pipe between the heat pump and Hybrid Wall.

CAUTION
– It is NOT possible to use a remote control for operation in cooling mode
– It is NOT possible to use Hybrid Wall in the refrigerant water circuit.
“DOMESTIC HOT WATER” PRODUCTION
Domestic hot water (DHW) is always produced by the boiler only, which has a rapid heat exchanger or manages a remote calorifier.
In heating mode with a domestic hot water request active, the heat pump is temporarily disabled for 10 minutes so as to avoid continuous on and off cycles of the latter.
CALCULATION OF CONVENIENCE/SELECTION BETWEEN GENERATORS
The electronics mounted on the boiler, only in “Heating” mode, automatically selects which of the two appliances – boiler or heat pump – should conveniently work at any given time. With external sensor installed (recommended accessory) The calculation of the convenience regarding which generator should be used is made on the basis of the temperature measured by the external sensor compared with the value set at PAR 42 of the boiler (default = 5°C).
NOTE
In case of a “boiler anomaly”, the convenience/selection is forced on the heat pump.
Without external sensor
If there is no external sensor installed, only for calculating the convenience between generators, the electronics takes the value of the virtual outdoor temperature = 0°C as the reference.
The user can decide whether to force the convenience of the heat pump by suitably setting the value of PAR 42.
CAUTION
Set PAR 42 to a value below 0°C to force convenience of the heat pump and allow it to operate.
ACTIVATION OF THE CONVENIENT GENERATOR
The convenient generator (boiler or heat pump) is switched on and off depending on the boiler’s delivery temperature.
NOTE
If the heat pump is unable to satisfy the system’s heat requirements, after the stand-by time settable through PAR 43 (default = 20 min – Range = 1–180 min), the boiler activates to integrate the power required.
The heat pump is deactivated when it reaches a system return temperature equal to the value set through PAR44 (default = 55°C)
NOTE (only for EDEA HM)
The symbol “+” appearing on the board’s display symbolises the activation of the heat pump.
+ On = heat pump on
+ Off = heat pump off
POSSIBLE BOILER FAULTS
In the event of any boiler faults, the boiler will remain off and the heat pump will activate.
Domestic hot water will NOT be produced.
The product end of life should not be treated as municipal waste; it should be deposited at a collection point.
Fonderie Sime S.p.A – Via Garbo, 27 – 37045 Legnago (Vr)
Tel. +39 0442 631111 – Fax +39 0442 631292 – www.sime.it
Fonderie SIME S.p.A. reserves the right to make improvements to its products at any time without prior notice, without compromising their essential characteristics. The graphic illustrations and/or images in this document may show optional accessories that vary according to the country in which the appliance is used.

















