KS-JP50000 Dirt Water Pump Basement Drainage Pump
U3
U3 K Spezial
U3 KS Spezial
Instruction Manual
www.tuv.com
ID 1111219532
KS-JP50000 Dirt Water Pump Basement Drainage Pump

Montage GR 32 / Installation GR 32

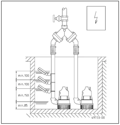
Installation example
40 x 40 mm / Ø 50 cm
50 x 50 mm / Ø 50 cm
You have purchased a product made by Pentair Jung Pumpen and with it, therefore, also excellent quality and service. Secure this service by carrying out the installation works in accordance with the instructions, so that our product can perform its task to your complete satisfaction. Please remember that damage caused by incorrect installation or handling will adversely affect the guarantee. Therefore please adhere to the instructions in this manual!
This appliance can be used by children aged 8 years or over and by persons with limited physical, sensory or intellectual capabilities, or with limited experience and knowledge, provided that they are supervised or have been instructed in the safe use of the appliance and are aware of the dangers involved. Children must not be allowed to play with the appliance. Cleaning and user maintenance must not be carried out by children unless they are supervised.
Damage prevention in case of failure
Like any other electrical device, this product may fail due to a lack of mains voltage or a technical defect.
If damage (including consequential damage) can occur as a result of product failure, the following precautions can be taken at your discretion:
- Installation of a water level dependent (under circumstances, mains-independent) alarm system, so that the alarm can be heard before damage occurs.
- Inspection of the collecting tank/chamber for tightness up to the top edge before – or at the latest, during – installation or operation of the product.
- Installation of backflow protection for drainage units that can be damaged by wastewater leakage upon product failure.
- Installation of a further product that can compensate in case of failure of the other product (e.g. duplex unit).
- Installation of an emergency power generator.
As these precautions serve to prevent or minimise consequential damage upon product failure, they are to be strictly observed as the manufacturer’s guideline – in line with the standard DIN EN specifications as state of the art – when using the product (Higher Regional Court Frankfurt/Main, Ref.: 2 U 205/11, 06/15/2012).
SAFETY INSTRUCTIONS
This instruction manual contains essential information that must be observed during installation, operation and servic- ing. It is therefore important that the installer and the responsible technician/operator read this instruction manual before the equipment is installed and put into operation. The manual must always be available at the location where the pump or the plant is installed.
Failure to observe the safety instructions can lead to the loss of all indemnity.
In this instruction manual, safety information is distinctly labelled with particular symbols. Disregarding this information can be dangerous.
General danger to people
Warning of electrical voltage
NOTICE! Danger to equipment and operation
Qualification and training of personnel
All personnel involved with the operation, servicing, inspection and installation of the equipment must be suitably qualified for this work and must have studied the instruction manual in depth to ensure that they are sufficiently conversant with its contents. The supervision, competence and areas of responsibility of the personnel must be precisely regulated by the operator. If the personnel do not have the necessary skills, they must be instructed and trained accordingly.
Safety-conscious working
The safety instructions in this instruction manual, the existing national regulations regarding accident prevention, and any internal working, operating and safety regulations must be adhered to.
Safety instructions for the operator/user
All legal regulations, local directives and safety regulations must be adhered to. The possibility of danger due to electrical energy must be prevented.
Leakages of dangerous (e.g. explosive, toxic, hot) substances must be discharged such that no danger to people or the environment occurs. Legal regulations must be observed.
Safety instructions for installation, inspection and maintenance works
As a basic principle, works may only be carried out to the equipment when it is shut down. Pumps or plant that convey harmful substances must be decontaminated.
All safety and protection components must be re-fitted and/or made operational immediately after the works have been completed. Their effectiveness must be checked before restarting, taking into account the current regulations and stipulations.
Unauthorised modifications, manufacture of spare parts
The equipment may only be modified or altered in agreement with the manufacturer. The use of original spare parts and accessories approved by the manufacturer is important for safety reasons. The use of other parts can result in liability for consequential damage being rescinded.
Unauthorised operating methods
The operational safety of the supplied equipment is only guaranteed if the equipment is used for its intended purpose. The limiting values given in the “Technical Data” section may not be exceeded under any circumstances.
Instructions regarding accident prevention
Before commencing servicing or maintenance works, cordon off the working area and check that the lifting gear is in perfect condition.
Never work alone. Always wear a hard hat, safety glasses and safety shoes and, if necessary, a suitable safety belt.
Before carrying out welding works or using electrical devices, check to ensure there is no danger of explosion.
People working in wastewater systems must be vaccinated against the pathogens that may be found there. For the sake of your health, be sure to pay meticulous attention to cleanliness wherever you are working.
Make sure that there are no toxic gases in the working area.
Observe the health and safety at work regulations and make sure that a first-aid kit is to hand.
In some cases, the pump and the pumping medium may be hot and could cause burns.
For installations in areas subject to explosion hazards, special regulations apply!
APPLICATION
WARNING!
The pump must only be connected to sockets that have been installed properly in accordance with the regulations and are protected with at least 10 A (slow) and RCD-safety switches (30mA).
DANGER!
The pump must never be used when a person is in the water.
Submersible pumps from the U3 and U3 spezial series are suitable for pumping domestic waste water without stones. This includes also water from household dishwashers and household washing machines.
The U3 spezial can also pump aqueous solutions with up to 15% salt content and condensate from gas condensing boilers.
NOTICE! In outdoor applications, only pumps with at least a 10-metre mains cable must be used.
When using the pumps, the relevant national laws, regulations and stipulations must be adhered to, for example:
- Domestic contaminated and waste water (e.g. EN 12056 in Europe)
- Installation of low voltage systems (e.g., VDE 0100 in Germany)
For non-standard utilization conditions, further regulations must be observed (e.g. VDE 0100 in Germany, part 701: bathrooms and shower rooms; part 702: swimming pools and fountains and part 737: outdoor use).
Temperatures
The pumped medium must have a temperature of max 35 °C. For a short time 60 °C are permissible (S2: 10 min, S3: 30%).
CAUTION!
Scalding by hot water – risk of injury!
The submersible pump is frost-resistant down to -20 °C when stored in dry conditions. When installed, however, it must not be allowed to freeze in the water.
Transport
The pump must always be lifted by the handle and never by the power supply cable! The pump should only be lowered into deeper chambers or pits using a rope or chain.
ELECTRICAL CONNECTION
NOTICE! Only qualified electricians may carry out electrical works to the pump or the controls.
WARNING!
Before carrying out any works: disconnect the pump and the controls from the mains and take steps to ensure that no one else can reconnect them to the power supply.
The relevant standards (such as EN standards), country-specific regulations (such as VDE in Germany), and the regulations of the local power supply companies must be observed.
NOTICE! Never put the mains plug or a free lead end in water!
If water gets into the plug, this can cause malfunctions and damage.
Observe the operating voltage (see the type plate)!
The pump is provided with a winding thermostat. In case of unacceptably high temperatures it switches off the pump to protect it against possible damage. Unacceptably high temperatures may result e.g. from dry running or mechanical or electrical overload.
CAUTION!
The pump is switched on again automatically after cooling down – risk of injury!
For this reason, always disconnect the device from the mains before remedying the fault! In order to do this, unplug from the mains supply or remove the pre-fuses of the pump controls!
INSTALLATION
The pump must be installed as shown in the examples. For installations in accordance with EN 12056-4, the pressure pipe must be laid in a loop above the local backflow level and protected with a backflow prevention valve in accordance with EN 12050-4.
A correspondingly larger diameter pipe should be used for longer pressure pipelines to avoid pipe friction losses.
With any pump that has no automatic switching, the switch-on and switch-off heights can be set variably with a separate level control. Our ready to connect level controls can be installed without specific electrotechnical skills.
The pump housing is automatically vented via the enclosed 90° elbow. If this is not desired, the ventilation opening can be closed, e.g. for mobile operation.
Flushing device
The pump can keep the intake section at the bottom of the chamber clear of deposits to a large extent if you carry out a small modification: Lever off the foot strainer with a screwdriver, unscrew the three red caps and snap the foot strainer back on. This reduces the performance of the pump only insignificantly.
Low level pumping
Flooded surfaces can be drained down to a residual water level of a few mm without using any special accessories. To do so, the foot strainer must be levered off with a screwdriver. In the case of pumps with an attached control, the float switch must be locked in the ON position. It is not possible therefore in low level pumping to operate the pump in switching mode.
To make the pump operate, the drainage hose must be emptied before each pumping run and there must be a 40mm minimum water level available.
NOTICE! If the pump is malfunctioning, part of the contents of the oil reservoir could escape into the pumping medium.
NOTICE! The floats of the level controller and alarm system (accessory) are installed so that they are freely movable but not under the inlet. Please observe the minimum distances, see installation example. The controls may only be installed in a dry and well ventilated room!
CAUTION!
For safety reasons, mobile operation is only allowed vertically and with a foot strainer!
If a hose is used as a pressure line, care must be taken to ensure that for every pumping operation the hose is completely empty before the pump is submersed. Any residual liquid would obstruct the ventilation of the pump housing and therefore also hinder the pumping operation. For the same reason, the pump would not operate if it was switched on before being submersed.
CLEANING
WARNING!
Before carrying out any works: disconnect the pump and the controls from the mains and take steps to ensure that no one else can reconnect them to the power supply.
WARNING!
Check the mains cable for signs of mechanical and chemical damage. Damaged or kinked cables must be replaced by the manufacturer.
NOTICE! If the water contains high levels of iron or lime, insufficient cleaning can result in irreparable damage to the seal and thus also to the pump motor in the long term. Consequently, the pump must be cleaned at regular intervals according to the hardness of the water.
Tightening torque MA for A2 screw materials
| for M 5 | MA = 5 Nm |
| for Amtec 3 | MA = 0,7 Nm |
| for Amtec 5 | MA = 2 Nm |
QUICK TIPS FOR REMEDYING FAULTS
Pump does not work
- Check mains current (do not use a pin gauge)
- Fuse faulty = may be too weak (please refer to Electrical Connection)
- Mains supply cable damaged = repair to be carried out by manufacturer only
Pump runs but does not pump
- Empty the pressure pipe or hose to allow the non-return valve to open and the air to escape from the pump housing, it may be necessary to carry out a ventilation drilling
Impeller blocked
- Solids and fibrous matter have become lodged in the pump housing = clean
Decreased pumping performance
- Foot strainer obstructed = clean
- Pressure pipe obstructed = clean
- Rotor worn out = repair to be carried out by the manufacturer
| |
JUNG PUMPEN GmbH – Industriestr. 4-6 | |
| EN 12050-2:2001; 2015 Lifting plant for faecal-free wastewater DN 32 | |
| U3 K (JP50002) U3 KS (JP50000) U3 KS (JP50001) | U3 K spez. (JP50007) U3 KS spez. (JP50005) U3 KS spez. (JP50006) |
| Collecting and automatically lifting faecal-free waste water above the backflow level in buildings and sites | |
| REACTION TO FIRE | NPD |
| WATERTIGHTNESS | Pass |
| EFFECTIVENESS (LIFTING EFFECT – Pumping of solids – Pipe connections – Ventilation – Minimum flow velocity – Minimum free passage of the plant – Minimum useful volume | Pass Pass NPD Pass Pass NPD |
| MECHANICAL RESISTANCE – Load bearing capacity and structural stability of collection tank for use – Structural stability of collection tank for use inside buildings | NPD NPD |
| NOISE LEVEL | 70 dB(A) |
| DURABILITY – of structural stability – of lifting effectiveness – of mechanical resistance | NPD Pass NPD |
| DANGEROUS SUBSTANCES | NPD |
TECHNICAL DATA
| U3 KS, 4m U3 KS spezial, 4m | U3 KS, 10m U3 KS spezial, 10m | U3 K. 10m U3 K spezial, 10m | ||
| [kg] | 3,5 | 4,4 | 3,8 | |
| DN | 32 | 32 | 32 | |
| [mm] | 10 | 10 | 10 | |
| S1 | 35°C | |||
| S2 | 60 °C | 10 min | 10 min | 10 min |
| S3 | 60 °C | 30% | 30% | 30% |
| P1 | [W] | 320 | 320 | 320 |
| P2 | [W] | 220 | 220 | 220 |
| U | [V] | 1/N/PE -230 | 1/N/PE -230 | 1/N/PE -230 |
| f | [Hz] | 50 | 50 | 50 |
| I | [A] | 1,4 | 1,4 | 1,4 |
Performance

Declaration of Conformity
Directives – Harmonised standards
| • 2006/42/EG • 2011/65/EU • 2014/30/EU | (MD) (RoHS) (EMC) | EN 809:1998/AC:2010, EN ISO 12100:2010, EN 60335- :2012/A13:2017 EN55014-1:2017/A11:2020, EN 55014-2:1997/A2:2008, 60034- 1AC:2010 EN 61000-3-2:2014, EN 61000-3-3:2013 |
JUNG PUMPEN GmbH – Industriestr.
4-6 – 33803 Steinhagen – Germany
www.jung-pumpen.de
We hereby declare, under our sole responsibility, that the product is in accordance with the specified Directives.
| U 3 K (JP50002/3) U 3 KS (JP50000/3) U 3 KS (JP50001/3) U 3 K SPEZ. (JP50007/3) U 3 KS SPEZ. (JP50005/3) U 3 KS SPEZ. (JP50006/3) UV3 (JP50248) | UV3 S (JP50249) UV3 S (JP50312) UV3 SF (JP50313) U 5 K (JP09386) U 5 KS (JP09387) U 5 KS (JP09417) U 6 K E (JP00226/2) | U 6 K D (JP00228/3) U 6 K ES (JP00227/2) U 6 K ES (JP09260/2) U 6 K DS (JP00229/3) U 6 K DS (JP09261/3) UB 62 ES (JP09818/3) | UB 62 DS (JP09819/2) UB 102 ES (JP09283/0) UB 102 DS (JP00534/8) UB 152 ES (JP09439/0) UB 152 DS (JP09440/0) UB 251 DS (JP09298/1) J 67 ET (JP09153/1) |
Other normative documents
| EN 60335-2-41:2003/A2:2010 VDE GS 40054271 (U3/3, UV3) EMC-VDE 40052857 (U3/3, UV3) VDE GS 40020521 (U3/2, U5) EMC-VDE 40020827 (U5) VDE GS 40020499 (U6K D/3) VDE GS 40020502 (U6K E/2) | EN 62233:2008/AC:2008 EMC-VDE 92272 (U6 E/D/1) VDE GS 40018339 (US UB 62 105 D) EMC-VDE 138689 (US UB 62_105 D) VDE 40035932 (US UB 62_105 E) EMC-VDE 129830 (US UB 62 105 E) |
Authorized person for technical documentation
JUNG PUMPEN – Stefan Sirges – Industriestr. 4-6 – 33803 Steinhagen
Steinhagen, 01-02-2022 | ![]() |
![]() | |
Stefan Sirges, General Manager | Pascal Kölkebeck, Sales Manager |
Jung Pumpen GmbH
Industriestr. 4-6
33803 Steinhagen
Deutschland
Tel. +49 5204 170
[email protected]
Pentair Water Italy Srl
Via Masaccio, 13
56010 Lugnano – Pisa
Italia
Tel. +39 050 716 111
[email protected]
Pentair Water Polska Sp. z o.o.ul.
Plonów 21
41-200 Sosnowiec
Polska
Tel. +48 32 295 1200
[email protected]
All indicated Pentair trademarks and logos are property of Pentair. Third party registered and unregistered trademarks and logos are the property of their respective owners.
© 2020 Pentair Jung Pumpen
0197



















