MAAX 103901 Freestanding Bathtub Installation Guide
INSTALLATION INSTRUCTIONS
View F² Drain Video.
Scan QR code with a mobile device
MODEL
103901 • 103903 • 105516 • 105797 • 105798 • 106150 • 106151 • 106192 • 106193 • 106426 106619 • 106839 • 106840 • 106841 • 106842 • 106843 • 106902 • 106903 • 106942 • 106992 106993 • 106994 • 106995 • 106996 • 106997 • 107519 • 107520



Read all instructions carefully before proceeding
A two person installation is recommended.
SAVE THIS GUIDE FOR FUTURE REFERENCE.
IMPORTANT • Record the serial number
Serial number
If the optional F² Drain kit was purchased, please refer to 10032746 installation guide before installing the bathtub
BEFORE YOU BEGIN
- Carefully read the all the instructions in the manual before beginning the installation.
- Consult local building codes to make sure the installation complies with standards.
- Remove the unit from its packaging. Before disposing of it, inspect the unit to make sure it is in good shape. Should inspection reveal any damage or defect in the finish, contact your distributor. The warranty does not cover damages or defects in the finish once the unit has been installed. MAAX’s responsibility for shipping damages ceases upon delivery of the product in good order to the carrier. All complaints regarding damage due to transport must be made directly to the carrier.
- Place the unit in the bathroom before you start working. Sectional units should be disassembled if necessary. Conserve all nuts and bolts.
- To protect the unit during installation, we recommend that you lay a piece of cardboard on the bottom.
- If the unit is covered with polyethylene protective film, do not remove until installation is complete to grant maximum protection. However, remove film where two surfaces will be in permanent contact.
- Install all plumbing and drainage before securing the unit. It is always recommended to have a professional plumber do the plumbing installations. See rough-in information for your model on our website.
TOOLS REQUIRED



SUPPLIES SOLD SEPARATELY

Follow all instructions and check them off as you go.
Unpacking the unit
Do not remove the Technical Identification number, doing so may void the warranty. This number may be found at the back of the tub or above the drain, It is recommended to take note of the number so that it is easier to access.
Cut the cardboard box so as to keep one side to protect the bathtub while is upside down. Turn the bathtub
upside down. Unscrew the skirt from the wooden blocks
Not all bathtubs have screws and wooden blocks holding the skirt and the bathtub together.
Remove the skirt.
Insert a flat-head screwdriver between the wooden blocks and the wood plank to remove the blocks.

Leveling legs adjustment
Place back the skirt in the inverted bathtub. Adjust the legs so that they exceed the top of the edge of theskirt by 1/8″. You can use a 2×4 to take the measure as shown.
Bolt leg installation only applicable to certain models.


Bathtub skirt and drain positioning
With the help of the bathtub apron or the optional template, mark the center of the drainage line in relation with the desired position of the bathtub. See also the rough-in information for your model on our website

Make sure the floor is level
Before drilling a hole in the floor for the drainpipe, make sure there are no hidden elements underneath (pipes, floor joists, heating ducts, electrical wires).
Place the bathtub in the previously marked position. Verify that the bathtub is completely leveled. Use the leveling legs if needed. Remove the bathtub.
Drill the cutout on the floor for the drain and overflow in the previously marked position.
If the user needs faucet on the same side than the overflow, he must validate that there is no interference between them
Installing faucets (NOT INCLUDED)
Faucet elements must be installed in the intended area. See also the rough-in information for your model on our website. Before drilling, position the faucet base to make sure they line up with the predrilled holes. Mark the location of the faucets on the unit and drill 3/16″ (5 mm) pilot holes. Make sure the holes line up with the plumbing
If the user needs faucet on the same side than the overflow, he must validate that there is no interference between them.
Drill directly on the finished side, following the faucet installation instructions.
Bathtub preparation and installation
Install the waste and overflow and faucets according to the manufacturer’s instruction manuals.
If customer has a F2 drain, it will require a piece of PVC pipe of 1 1/2” diameter x about 1” long between the pre-installed drain tee on tub and the F2 drain pipe.
For models 105797 (Sax), 105798 (Lounge), 106150 (Orchestra 60″),106151 (Orchestra 66″) 106192 (Delsia 60”) and 106193 (Delsia 66”) ONLY:
Standard drainpipe and overflow compatible with end-drain freestanding bathtub models: 105797-105823 (Sax), 105798 (Lounge).
Standard drainpipe and overflow compatible with center drain freestanding bathtub model: 106150 (Orchestra 60”), 106151 (Orchestra 66”), 106193 (Delsia 66”) , 106192 (Delsia 60”).
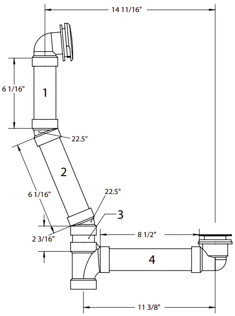
For model Serenade (105516) ONLY:
We recommend using a flexible drainpipe #10025755-XXX for an optimum installation. Consult local plumbing and building codes to assure this waste and overflow meets your local regulations. Do not use straight piping for the overflow. This bathtub model requires flexible piping. It is possible to use elbow drainpipe and overflow, as shown. Use standard 1 1/2” piping, cut to the indicated lengths. Make sure to use a material that respects the local plumbing and building codes. Make sure to use the same material as that of the drainpipe and the overflow.

Using the bathtub apron, trace the required lines and make the required openings in the floor, without exceeding the apron;
AEROSENS system bathtub: make an opening in the floor to receive drain pipe and supply tubing. Make sure apron opening corresponds with floor opening in order to free blower tubing and electrical connections. Make an opening in the floor to install the blower and the electrical box.
Install the overflow taking into account adjustment dimensions, supply tubing, blower and electrical box (if applicable).
Apply a bead of silicone under the apron, at about 1” from the exterior edge. (Optional)
Position apron on floor according to marks drawn on the floor (as shown on template).
Fasten apron to floor with 12 round head screws #8 x 1”.
Install blower and electrical box through the access under the floor. NOTE: make sure that the blower and the electrical box are not under the drain pipe. To PREVENT DAMAGE to the blower, remove any dirt and debris from blower location.
Do a water test verify for leaks.
Apply a silicone seal under the apron (optional). According to bathroom flooring, use proper screws (not included) to secure the skirt to the floor.
Add two spacers (example 2×4) on the skirt ends and position the bathtub inside the skirt. Attach the hot and cold water riser to the plumbing hoses.
Faucet must be connected to 1/2″ flexible hoses of sufficient length to allow the bathtub to be lifted if needed (25″ or 635mm).
Remove the spacers. Make sure all the legs are in contact with the ground, so that the bathtub is not supported by the skirt (see cut view below).
The bathtub must be tested before installation is complete. Fill the bathtub to the overflow and inspect for leaks. Tighten and loose connections between the hoses and motor by hand.

For models 105797 (Sax), 105798 (Lounge), 106150 (Orchestra 60″), 106151 (Orchestra 66″) 106192 (Delsia 60”) and 106193 (Delsia 66”) ONLY:
To complete the installation and solidify the bathtub, apply a bead of silicone along the seam where the bathtub rests against the skirt.
THIS STEP IS FOR THE SOUVENIR BATHTUB 106619 ONLY
Fasten bathtub to apron with 10 round head screws #8 X 1″ (supplied)
TOUBLESHOOTING
Water accumulates around the drain and the bathtub does not completely empty.
- Check that the installation is leveled and that the bathtub is well supported by the legs. With the help of level, place at the bottom of the bathtub, make sure to have a slight slope towards the drain. If necessary, adjust the legs under the bathtub. Bottom of bathtub moves during use.
- Bathtub is not sitting firmly on its base; adjust leveling legs. Polyethylene film will not come off.
- Use hair dryer to blow hot air on the surface.
MAINTENANCE
Regular disinfections provide an effective defense against various types of bacteria susceptible of developing in the deposits that build up over time in all bathtubs and showers.
For daily maintenance cleaning, use a moist cloth and gentle liquid detergent.
For acrylic surfaces, occasional use of a special acrylic surface cleaner such as LUMASHINE® or LUMACREAM® will add luster and protect the finish.
Do not use abrasive cleaners, scrapers, metal brushes, or any items or products that could scratch or dull the surface.
Paint stains: Use either turpentine or a paint thinner.
Joint compound: Use a plastic or wood spatula covered with a damp cloth. Do not use a metal blade or a metal brush.
If a rubber mat is used, it must be removed immediately after each use. Ignoring this recommendation will cause damage not covered by the warranty.
Certain types of therapeutic products when added to bath water, or if applied non-diluted directly in the bath, may damage the unit finish. Test the product on a small inconspicuous surface prior to use.
LIMITED WARRANTY — UNITED STATES
MAAX Bath Inc. offers express limited warranty on each of its products. This warranty extends only to the original owner/end-user for personal household use. For commercial uses, additional limitations apply.
For accessing product Limited warranty please visit: www.maax.com/us-warranty
LIMITED WARRANTY — CANADA
MAAX Bath Inc. offers express limited warranty on each of its products. This warranty extends only to the original owner/end-user for personal\ household use. For commercial uses, additional limitations apply.
For accessing product Limited warranty please visit: www.maax.com/ca-warranty
Technical Services / Service technique / Servicio técnico
T. 1 877 GET-MAAX (1 877 438-6229)
F. 1 888 361-2045
© 2023 MAAX Bath Inc. PRINTED IN CANADA / IMPRIMÉ AU CANADA / IMPRESO EN CANADA 2023-03-16 10025754





















