Build for Luxury Life


INSTALLATION AND CARE GUIDE
FREESTANDING BATHTUB
READ ALL INSTRUCTIONS BEFORE UNPACKING THE PRODUCT
INSTRUCTIONS THAT, IF IGNORED COULD RESULT IN DEATH OR SERIOUS INJURY CAUSED BY INCORRECT HANDLING OR INSTALLATION OF THE PRODUCT. THESE INSTRUCTIONS MUST BE OBSERVED FOR SAFE INSTALLATION.
2 PEOPLE ARE REQUIRED TO LIFT AND DURING ENTIRE INSTALLATION OF THIS PRODUCT
This products must be installed by a fully insured and licensed plumber only. Installation of any our product by anyone other than fully insured and licensed plumber shall void limited warranty. We recommends that such licensed plumber have experience in the installation of products.
Limited warranty is void on any commercial installation
We are not responsible for local code compliance for this product. Building and plumbing codes may vary from state-to-state in accordance to your location. We are not resonsible for providing any compliance certifications. Under no circumstances we are shall not be liable for any and all incidental damages sustained in connection with this product Neither manufacture, nor distributor, nor retailer is responsible for water damage or flood caused due to use of this product. Under no circumstances We shall not be liable for any and all fees, cost of installation/reinstallation/removal, subsequent damage or transportation in case of the product defect



TOOLS REQUIRED FOR INSTALLATION (NOT INCLUDED)
OTHER TOOLS MAY BE REQUIRED


Soft Cloth or Blanket Silicone Tape Measure

Pencil/Marker Hammer Safety Glass



Knife Level Caulk Gun

Adjustable Wrench Channel Lock Pliers
Inspect the bathtub for any damages. If any damage is found please contact your retailer.

Carefully, remove the tub from it’s crate/box. Important Note: Bathtub must be carried by a minimum of 2 adult people in upside down position only. Do not carry the bathtub by its panel.
To avoid scratches or damages to the bathtub be sure to set it on cardboard with sod blanket on top of the cardboard.

Set your bathtub on two 4×4 pieces of lumber so you can have access from the bottom of the bathtub. Put a tray beneath the bathtub.
Very Important! Before proceeding with installation, please check that push scupper plug , drain, and integrated overflow are properly sealed and tightened.
Push the scupper plug into a close position and fill the bathtub with cold water above the overflow level to test for overflow leakage and drain leakage.
Check for any leaks around the drain and pipe. (NOTE: Due to surface tension, it is normal for a small amount of water to pool around the drain)
If a leakage occurs please disassemble the drain line or overflow assemblies and you can apply a plumbing puffy/silicone caulk to fix the leakage.
Once the leakage test was performed you may proceed to the installation.
INSTALLATION WITH UNDERFLOOR ACCESS

Step 1
Clean, level and prepare the floor for installa-tion, Place the tub in the exact installed locati on on the floor and trace the outline of the bathtub with pencil and mark the drain hole location on the floor. Move the tub away so that the plumbing can be installed.

Step 2
Turn bathtub upside down and set it on a non-abrasive mat, blanket, or cardboard to prevent any scratches on tub rim.

Step 3
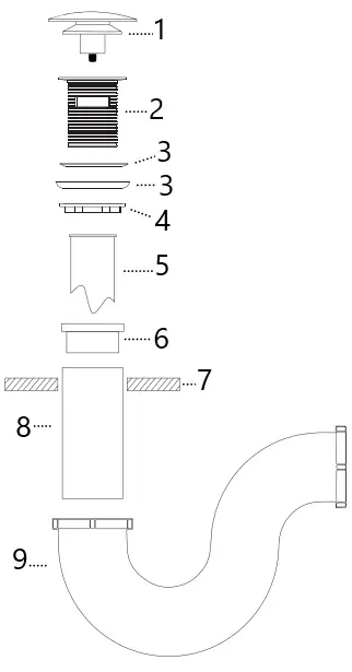
Place a level across the bottom of the tub and adjust the tub feet leveler to touch the level. Then raise the leveler additional 1/8″ or 3/16″ so that the weight of the tub, water and user are fully supported by the feet adjuster and not the tub walls.pop up cover drain body rubber drain gasket tail piece (provided by installer) floor drain pipe (provided by installer) trap (provided by installer) rubber drain gasket P-trap.
Step 4
Install an 1-1/2″ tail piece along with the corresponing flanged washer and 1-1/2″ nut to the drain body.
Step 5
Measure and cut the tail piece to the appropriate length to reach the trap adapter When seting the tub drain, insert tail piece with 1-1/2″ slip joint and rubber washer into the trap adapter and tighten properly.

- scupper plug
- drain body
- rubber drain gasket
- brass nut
- tail piece (provided by installer)
- trap adapter
- floor
- drain pipe (provided by installer)
- trap (provided by installer)

Step 6
Apply a generous bead of adhesive or waterproof silicone to the bottom of the tub and a bead of tub and tile caulk around the edge of the tub

Step 7
Flip the tub over and carefully set the tub into position with tail piece assembly to P-trap and connect to the drain.

Step 8
Fill the tub with water to the overflow and then drain the tub while inspecting the waste and overflow connection below the floor for any leaks. Access from below will be necessary for this step.
Step 9
With the tub now set in place, wipe off any excess tub or tile caulking, adhesive where the tub meets the floor with wet cloth.

Step 10
DO NOT SHOWER or MOVE the tub after installation because it will take about 24 hours to get the silicone sealant to dry.
Note:
If installing on a concrete slab where no underfloor access or cannot move drain. You may consider following option.
• Optional flexible drain hose from plumbing hardware or home improvement store may be used GETPRO will not supply this flexible hose). Connect one end ataches to the bathtub drain and the other end needs to be atached to the floor drain by using a transition piece. Optional Island tub drain may also be used. Create a bridge from bathtub drain to floor drain by certified plumber only because any wrong connection or loosen on connection will cause leaks.
INSTALLATION ON SLAB FLOOR (NO UNDERFLOOR ACCESS)

Step 1
Clean, level and prepare the floor for installa-tion, Place the tub in the exact installed locA on on the floor and trace the outline of the bathtub with pencil and mark the drain hole loca4on on the floor. Move the tub away so that the plumbing can be installed.

Step 2
Turn bathtub upside down and set it on a non-abrasive mat, blanket, or cardboard to prevent any scratches on tub rim.

Step 3
Place a level across the bottom of the tub and adjust the tub feet leveler to touch the level. Then raise the leveler additional 1/8″ or 3/16″ so that the weight of the tub, water and user are fully supported by the feet adjuster and not the tub walls.

Step 4
Measure the actual distance from drain into drain pipe on floor and the drain pipe should extend approximately 1″ above the finish floor. Use a drain adapter (not provided) if necessary.
Step 5
Clean the surrounding of the drain pipe with cloth in preparation of seting the drain, the area should be dry and free of any debris. Apply a bead of clear silicon or plumber putty around the drain body and pass it through the drain hole, also apply plumber putty to the washer and slide it over the bottom of the drain body.

Step 6
Apply putty to fix the rubber silp gasket over the drain vent

Step 7
Apply a generous bead of adhesive or waterproof silicone to the Step botiom of the tub and caulk around the edge of the tub.

Step 8
Flip the tub over and carefully set the tub into position with tail Step piece assembly to waste vent and connect to the drain.

Step 9
With the tub now set in place, wipe off any excess tub or tile caulking, Step 9 adhesive where the tub meets the floor with wet cloth.
Step 10
DO NOT SHOWER or MOVE
the tub after installation because it will take about 24 hours to get the silicone to dry.
IMPORTANT SAFETY RULES
ATTENTION! ALWAYS FOLLOW THESE PRECAUTIONS WHEN USING A BATHTUB
Warning The bathtub must be installed and used as described in this manual
Warning Use caution when entering or exiting the bathtub
Warning Do not permit children or persons with infirmities to use the bathtub without supervision of an adult
Warning People using any medications or having adverse medical history must consult a physician prior to use of the bathtub to avoid potential hyperthermia and possible drowning
Warning Water temperature over 1002F may cause hyperthermia and/or other health problems. Check water temperature and adjust it for your personal comfort
Warning Never use bathtub while intoxicated, ader taking meals or any alcoholic beverages. Consuming alcoholic beverages before or during bathing will cause drowsiness and may result in hyperthermia, loss of consciousness, or even drowning
Warning If you are pregnant or you feel that you are may be pregnant, consult your doctor before using the bathtub
Warning Never use any electrical devices such as hair dryer, lamp, telephone, tv, radio, or others within 5 feet of the bathtub
Warning Do not overfill the bathtub before enetering. Entering the bathtub when filled will cause overflow and slippery condtions. Use extreme caution when entering and exiting
Care and Cleaning
- Most dirt will wash off with mild soap and warm water.
- For tough spots, use liquid dish washing soap or non-chlorine bleach.
- Do not use abrasive material such steel wool or scouring pads to clean the acrylic surface.
- Always test the cleaning solution on a small area before using it on the Are surface.
- Do not allow cleaning to soak on the acrylic surface.
- Rinse thoroughly with water immediately and wipe dry with soft cloth.
Repair and Maintenance
- Use liquid polish compound such as Gel-Gloss Kitchen and Bath Polish(TM) to keep the original shine of acrylic surface.
- Light scratches can be removed with polishing compound for automobiles.
- For deeper scratches use wet sandpaper (1500 grit or higher). Always add water when sanding and lightly sand the area larger than the scratch in a circular mouton to remove the scratches. Repeat until the scratch is removed. Use soft cloth and small amount of polishing compound to restore shine. Repeat as needed until surface shine is restored.
IMPORTANT!
DO NOT USE: Abrasive cleaners such as: acid, ammonia, bleach, and simmilar solutions. Use of such solutions may cause corrosion, finish peeling, and/or dull the surface.
DO NOT USE: Abrasive sponges or cloth. Never use steel, wool, or wired brushes that will permanently scratch the surface.
Retain these installation instructions for future reference!
If you have any questions or concerns, please do not hesitate to contact us
Email: [email protected] Hotline: +1 5714125962

More Wholesale Price Home Furniture Products
at
www.getprohome.com
GET 30% off
on any of your next purchase special offers & other discounts information send us email to
[email protected]
www.getprohome.com Email: [email protected] Hotline: +1 5714125962

















