AVATAR NFCBA02 Wireless Remote Controller
![]()
Banshee & Accessories
Banshee Classic
![]()
Banshee Deluxe
![]()
Remote Control
![]()
Flight Preparation
A. Remote Control
- Use the screwdriver to remove remote control battery compartment cover. Insert two 1.5V AAA batteries (not included) into remote control with the correct polarity (figure-1), then replace the cover and tighten the screw.

- After installing AAA batteries, the green signal light will turn on automatically. If not, press the on/off button on the remote to turn it on for playing. The height-limit mode is on by default.
- Hold the on/off button until the signal light turns off to turn remote control off.
- The remote control will turn off automatically if there is no input for 24 mins.
- The signal light of the remote will start to flash when AAA batteries are running out of power. If your Banshee is currently flying, land it before replacing AAA batteries. The signal light will flash for 30 seconds before remote control goes out automatically. Exhausted AAA batteries are to be removed from remote control battery compartment cover immediately.
![]()
B. Pairing Your Banshee with Remote Control
Your Banshee should already be paired with the remote control. Turn on your Banshee and remote control, then press the top trigger button on remote control to check to see if the wings begin to flap. If they do, you may skip following information. If they do not, you are experiencing connectivity issues.
Please refer to the following steps to pair your Banshee with the remote control.
- Press the on/off button to turn your Banshee on and check to see that the green signal light is on (figure 2).
- Place the remote control close to your Banshee.
- Start with remote control off. While holding the top trigger button and the figure-eight flight button at the same time, press the on/off button to turn the remote control on (figure 3). Its signal light will be green.
- Your Banshee’s signal light should be flashing, indicating that the pairing was successful.
- If it fails to pair, please repeat the previous steps.

Flight Operation
Methods to begin flight
Method 1: Somatosensory Switch
- Turn on your Banshee’s on/off switch. Hold your Banshee horizontally (figure 4) and quickly drop your arm about 12″ until the wings start to flap. Repeat if your Banshee doesn’t start flapping. Gently toss your Banshee forward to begin flight then turn on the remote control to control the flight manually, otherwise your Banshee may get lost.
- Turn your Banshee off by turning it upside down. The wings will stop flapping immediately (figure 5).

Method 2: With Remote Control- Turn on your Banshee’s and the remote’s on/off switch.

- Hold your Banshee horizontally (figure 6) and press the trigger button on the remote control to make the wings begin to flap. Gently toss your Banshee forward to begin flight.

- Press the top trigger button again to make wings slow down. One additional press will make your Banshee stop immediately.
- Turn on your Banshee’s and the remote’s on/off switch.
Flight Introduction
A. Banshee Flight Modes
- Height limit mode is on by default when you turn your Banshee on. The signal light on remote control will be green. When in Height
limit mode, your Banshee will fly at a maximum altitude of around 10 feet (6 meters). For beginners and children, it is suggested that they play using Height limit mode, otherwise your Banshee may get stuck on roofs, ledges, and trees. - When you get familiar with flight operation, you can switch to
free-play mode. Just press the flight mode switch button (remote control should be on). The signal light on remote control will become blue. - You can slightly press the top trigger button on remote control to make your Banshee slow down and stop flapping within 3 seconds; or quickly double tap to make it stop immediately.

B. Banshee Flight Speed
Your Banshee’s flight speed can be set by manually adjusting the tail angle: high-speed suitable for outdoors, low-speed for indoors.
![]()
C. Banshee Signal Light
- When your Banshee’s signal light turns red, the lithium battery is running low. Land it and replace with a fully charged lithium battery.
- You can assign your Banshee’s signal light a unique color when flying with other Banshees to help distinguish them from each other. With the remote control on, press the indicator light color switching button on the remote to change the signal light color. Press it again until you arrive the color you want.
![]()
D. Real-time Flight Height Notification
Press on the real-time height notification button during flight and the current hieght of your Banshee will be broadcast on the speaker.
![]()
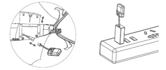
Lithium Battery
- The lithium battery for your Banshee is pluggable and rechargeable.
There is one inside the Banshee body battery compartment. Press the on/off button to turn your Banshee on directly to play. - When your Banshee’s signal light starts to flash, the lithium battery is running low. Replace the exhausted lithium battery as soon as possible.
Open Banshee battery compartment cover and disconnect the black & red wire from the main wire terminal then remove the exhausted lithium battery. - Connect the exhausted lithium battery to the USB charger, connect the charger to an adaptor, computer, or any DC5.OV USB charging port.
- The green light indicates that the power is working and the red light indicates that the battery is charging. When charging is complete, the red light will turn off.
- Unplug the USB charger from power source and remove the fully charged lithium battery promptly. (Charging time is around 20 mins, flight duration is around 8 mins)
- Connect the fully charged lithium battery wire terminal with the main terminal, then close the battery compartment.
![]()
Troubleshooting
- No response when turning on remote control
Double check whether AAA batteries are installed with the correct polarity or replace them with new AAA batteries. - No response or weak performance when turning on your Banshee
Make sure your Banshee is fully charged.
Warnings
- When removing your Banshee from the box, try not to grab the wings and tail. Keep your Banshee away from sources of heat and sharp objects. When playing with multiple Banshees, pair each one individually. Do not turn on the switch for two or more Banshees and try to pair with the remote controls at the same time.
- Please keep your Banshee in sight when flying. Avoid water, trees, power lines, etc. Recommended flight altitude should be within 30 meters. Recommended remote control distance range should be within 200 feet (60 meters).
- Press the trigger button in an emergency to make your Banshee stop flying and land immediately. Check the wires, battery, shell, and other parts regularly. If there is damage, do not use it until it is repaired.
- This product is not suitable for children under 3 years old. Please keep the user manual and package box at all times since they contain important information.
- Please use only the customized 3.7V rechargeable lithium batteries that come with your Banshee. Do not match with other lithium batteries. Rechargeable batteries are only to be charged under adult supervision. Rechargeable batteries are to be removed from the toy before
being charged. - Please use two 1.5V AAA batteries for the remote control. AAA batteries are to be inserted into the remote control with the correct polarity. Non-chargeable batteries are not to be charged. Different types of batteries or new and used batteries are not to be mixed. Exhausted batteries are to be removed from the toy. The supply terminals are not to be short-circuited. Do not mix old and new batteries. Do not mix alkaline, standard (carbon-zinc), or rechargeable batteries.
- For the lithium battery, follow these instructions:
- Keep small cells and batteries which are considered swallowable out of reach of children.
- Swallowing may lead to burns, perforation of soft tissue, and death.
Severe burns can occur up to 2 hours after ingestion. - In case of ingestion of a cell or battery, seek medical assistance promptly.
- Do not disassemble. Do not short circuit.
- Do not dispose of in fire.
- Do not expose to high temperature (60°C/140°F).
- Do not open . Do not crush.
Others
This device contains licence-exempt transmitter(s)/receiver(s) that comply with Innovation, Science and Economic Development Canada’s
licence-exempt RSS(s). Operation is subject to the following two conditions:
1. This device may not cause interference.
2. This device must accept any interference, including interference that may cause undesired operation of the device.
FCC Regulatory Compliance
- This device complies with Part 15 of the FCC Rules. Operation is subject to the following two conditions: 1. this device may not cause harmful interference, and 2. this device must accept any interference received, including interference that may cause undesired operation.
- Caution: changes or modifications not expressly approved by the party responsible for compliance could void the user’s authority to operate the equipment.
- Note: This equipment has been tested and found to comply with the limits for a Class B digital device, pursuant to Part 15 of the FCC Rules.
These limits are designed to provide reasonable protection against harmful interference in a residential installation. This equipment generates, uses and can radiate radio frequency energy and, if not installed and used in accordance with the instructions, may cause harmful interference to radio communications. However, there is no guarantee that interference Will not occur in a particular installation. - If this equipment does cause harmful interference to radio or television reception, which can be determined by turning the equipment off and on, the user is encouraged to try to correct the interference by one or more of the following measures:
- Reorient or relocate the receiving antenna.
- Increase the separation between the equipment and receiver.
- Connect the equipment into an outlet on a circuit different from that to which the receiver is connected.
- Consult the dealer or an experienced radio/TV technician for help.
This device contains licence-exempt transmitter(s)/receiver(s) that comply with Innovation, Science and Economic Development Canada’s licence-exempt RSS(s). Operation is subject to the following two conditions:
- This device may not cause interference.
- This device must accept any interference, including interference that may cause undesired operation of the device.
This equipment complies with IC RSS-102 radiation exposure limits set forth for an uncontrolled environment.
Please use with caution since skill is required to control the flight and avoid collisions with the user, objects or third parties.
Keep loose clothing or hair that could be caught in the wings away. Do not fly near someone’s face.
Adults should help instruct children on how to safely fy the Banshee.
It is best to flythe Banshee is large, open areas where there is good visibility and are as few obstacles as possible. Don’t let the Banshee leave your line of sight when flying.
ICES-003, CAN / NMB-003(B)
Product: RC Classic Banshee
Model: BAIOOG, BAIOOG-FF, BAI(m; Remote Model:NFCBA02
Operation Frequency: 2424 MHz
Max. Transmission power (Only for Europe): For Remote: 6.87dBm, for
Banshee: 6.12dBm
Hereby, ZING GLOBAL LIMITED declares that the radio equipment type [RC Classic Banshee] is in compliance with Directive 2014/53/EU. The full text of the EU declaration of conformity is available at the following internet address: http://www.zing.store
Responsible Party – U.S. Contact Information
US Company Name: Ozwest Inc.
Address: 4614 SW Kelly Ave #200, Portland, OR 97239, USA
Telephone +1 (503) 324 8018


















