AVATAR NFCBA01 Wireless Remote Controller
![]()
Banshee & Accessories
Banshee Classic
![]()
Remote Control
![]()
Accessories
![]()
Flight Operation
A. Lithium Battery
- The lithium battery foryour Banshee is pluggable and rechargeable.
There is one inside the Banshee body battery compartment. Press the on/off button to turn your Banshee on directly to play. - When your Banshee’s signal light starts to flash, the lithium battery is running low. Replace the exhausted lithium battery as soon as possible.
Open Banshee battery compartment cover and disconnect the black & red wire from the main wire terminal then remove the exhausted lithium battery. - Connect the exhausted lithium battery to the USB charger, connect the charger to an adaptor, computer, or any DC5.OV USB charging port.
- The green light indicates that the power is working and the red light indicates that the battery is charging. When charging is complete, the red light will turn off.
- Unplug the USB charger from power source and remove the fully charged lithium battery promptly. (Charging time is around 20 mins, flight duration is around 8 mins)
- Connect the fully charged lithium battery wire terminal with the main terminal, then close the battery compartment.
![]()
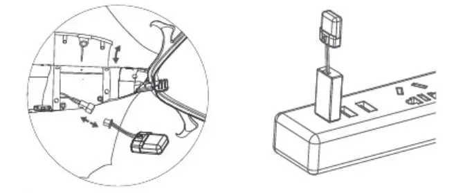
B. Remote Control
Open the battery compartment cover and install two 1.5V AAA batteries. (NOT INCLUDED) The red light indicates the remote is working. Hold the power button for 2 seconds until the signal light turns off to turn remote off. The remote will turn off automatically if there is no input for 24 minutes.![]()
C. Paring your Banshee with the Remote Control
Your Banshee should already be paired with the remote control, but ifyou are experiencing connectivity issues, please refer to the steps below.
- Turn your Banshee and the remote control on at the same time, also check to see that both indicator lights are on.
- Place the remote control next to your Banshee and hold the remote control trigger button until you see that the remote control red indicator light first turn off, then start to flash, then release the trigger button.
- When the indicator lights of your Banshee and the remote control begin to flash at the same time, it means that the pairing is in progress.
- When both indicator lights remain on, the pairing is successful.
- If it fails to pair, repeat the steps above.

- Long press the trigger button until the indicator lights to flash
D. Flight Operation
Turn on your Banshee and the remote. Hold your Banshee horizontally and press the power button/ trigger button on the remote to make the wings begin to flap. Gently toss your Banshee forward to begin flight. You can slightly tap the top trigger button on the remote control to make your Banshee slow down and stop flapping within 3 seconds; or quickly double-tap to make it stop immediately.
![]()
Use the remote control joystick to control your Banshee. Move joystick upwards to speed up, move the joystick downwards to slow down, move the joystick left to make your Banshee turn left, move the joystick right to make your Banshee turn right.![]()
E. Banshee Flight Speed
Your Banshee’s fight speed can be set by manually adjusting the tail angle: high-speed suitable for outdoors, low-speed for indoors.![]()
Additional Information
- When removing your Banshee from the box, try not to grab the wings and tail. Keep your Banshee away from sources of heat and sharp objects.
- Be careful when flying at high altitudes. Your Banshee may get stuck on roofs, ledges, and trees. Avoid water, forests, VX)wer lines, etc.
- Please keep your Banshee within eyesight when flying. Recommend flight altitude is within 30 meters. Recommended remote control distance range is within 60 meters.
- Press the power button/trigger button in an emergency to make your Banshee stop flying and land immediately.
- Check the wires, battery, shell, and other parts regularly. If there is damage, do not use it until it is repaired.
- Please use only the customized rechargeable lithium battery that comes with your Banshee. Do not match with other lithium batteries.
Rechargeable lithium battery is only to be charged under adult supervision. - Please use two 1.5V AAA batteries for the remote control. AAA batteries are to be inserted into remote control with the correct polarity.
Non-chargeable batteries are not to be charged. Different types Of batteries or new and used batteries are not to be mixed. Exhausted batteries are to be removed from the product. The supply terminals are not to be short-circuited. Do not mix old and new batteries. Do not mix alkaline, standard (carbon-zinc), or rechargeable batteries. Rechargeable batteries are to be removed from the remote before being charged. - This product is not suitable for children under 3 years old. please keep the package box and user manual as they contain important information.
- For the lithium battery, please follow the instructions below:
- Keep small cells and batteries which are considered swallowable out of reach of children.
- Swallowing may lead to burns, perforation ofsoft tissue, and death.
Severe burns can occur up to 2 hours of ingestion. - In case of ingestion ofa cell or battery, seek medical assistance promptly.
- Do not disassemble. Do not short circuit. Do not dispose of in fire.
- Do not expose to high temperature (600C 11400 F)
- Do not open. Do not crush.
Troubleshooting
- No response when turning on remote control
Double check whether AAA batteries are installed with the correct polarity or replace them with new AAA batteries. - No response or weak performance when turning on your Banshee
Make sure your Banshee is fully charged.
Others
FCC Regulatory Compliance
- This device complies with Part 15 of the FCC Rules. Operation is subject to the following two conditions: 1. this device may not cause harmful interference, and 2. this device must accept any interference received, including interference that may cause undesired operation.
- Caution: changes or modifications not expressly approved by the party responsible for compliance could void the user’s authority to operate the equipment.
- Note: This equipment has been tested and found to comply with the limits for a Class B digital device, pursuant to Part 15 of the FCC Rules.
These limits are designed to provide reasonable protection against harmful interference in a residential installation. This equipment generates, uses and can radiate radio frequency energy and, if not installed and used in accordance with the instructions, may cause harmful interference to radio communications. However, there is no guarantee that interference Will not occur in a particular installation. - If this equipment does cause harmful interference to radio or television reception, which can be determined by turning the equipment off and on, the user is encouraged to try to correct the interference by one or more of the following measures:
- Reorient or relocate the receiving antenna.
- Increase the separation between the equipment and receiver.
- Connect the equipment into an outlet on a circuit different from that to which the receiver is connected.
- Consult the dealer or an experienced radio/TV technician for help.
This device contains licence-exempt transmitter(s)/receiver(s) that comply with Innovation, Science and Economic Development Canada’s licence-exempt RSS(s). Operation is subject to the following two conditions:
- This device may not cause interference.
- This device must accept any interference, including interference that may cause undesired operation of the device.
This equipment complies with IC RSS-102 radiation exposure limits set forth for an uncontrolled environment.
Please use with caution since skill is required to control the flight and avoid collisions with the user, objects or third parties.
Keep loose clothing or hair that could be caught in the wings away. Do not fly near someone’s face.
Adults should help instruct children on how to safely fy the Banshee.
It is best to flythe Banshee is large, open areas where there is good visibility and are as few obstacles as possible. Don’t let the Banshee leave your line of sight when flying.
ICES-003, CAN / NMB-003(B)
Product: RC Classic Banshee
Model: BAIOOG, BAIOOG-FF, BAI(m; Remote Model:NFCBA01
Operation Frequency: 2424 MHz
Max. Transmission power (Only for Europe): For Remote: 6.87dBm, for
Banshee: 6.12dBm
Hereby, ZING GLOBAL LIMITED declares that the radio equipment type [RC Classic Banshee] is in compliance with Directive 2014/53/EU. The full text of the EU declaration of conformity is available at the following internet address: http://www.zing.store
Responsible Party – U.S. Contact Information
US Company Name: Ozwest Inc.
Address: 4614 SW Kelly Ave #200, Portland, OR 97239, USA
Telephone +1 (503) 324 8018


















