EVERBILT 1007-775-352 1-Tier Wood Closet Organization Shelving Unit Drawer Kit

Product Information
- Item Numbers: 1007-775-352 / 1007-775-625, 1007-775-795 / 1007-775-807, 1007-775-821 / 1007-775-837
- Model Numbers: 90670 / 90671, 90672 / 90673, 90674 / 90675
- Product Name: 24 in. x 16 in. White / Gray / Birch Drawer Kit-Add-On
- Manufacturer: Everbilt
Product Usage Instructions
Pre-installation
- If installing 2 or more drawer kits, install the bottom drawer kit first.
- The drawer kit is heavy and it is recommended to install it on the brackets with two people.
- Remove all packaging paperboards from inside the drawer kit before installation.
Planning Installation
Refer to the component package contents to ensure you have all necessary parts before starting installation.
Component Package Contents
- A: Drawer Kit
- B: 16 in. Heavy Duty Multi Bracket
- C: Vertical Rails (not included)
- D: Handles (not included)
- E: Bracket Covers (not included)
Installation
Install Handles
If handles are included in your package:
- Locate the pre-drilled holes on the front of the drawer kit.
- Attach the handles to the pre-drilled holes using the included hardware.
Install Brackets
- Install the vertical rails according to the manufacturer’s instructions.
- Attach the 16 in. Heavy Duty Multi Bracket to the vertical rails using screws and a drill.
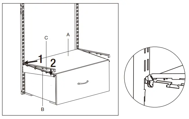
Install Drawer Kits on The Bracket
- Place the drawer kit onto the bracket, ensuring it is level.
- Attach the drawer kit to the bracket using screws and a drill.
Install Bracket Covers
If bracket covers are included in your package:
- Attach the bracket covers to the bracket using screws and a drill.
Care and Cleaning
Use a soft, damp cloth to clean the drawer kit. Do not use abrasive cleaners or solvents as they may damage the finish.
Safety Information
- The metal may have sharp edges or corners. The use of protective gloves is strongly recommended.
- Do not overload the units. This may cause collapse of the system and cause personal injury or property damage.
- Please read and strictly follow the assembly instructions for proper installation.
Warranty
- This product is guaranteed to be free of defects in materials and workmanship for 1 year from the date of purchase. If this product is defective, call 1-800-305-1726 or return the product to the store from which it was purchased for a replacement. Guarantee does not include normal wear and tear.
- This product can expose you to chemicals, including lead, which is known to the State of California to cause cancer and birth defects or other reproductive harm. For more information go to www.P65Wamings.ca.gov
Questions, problems, missing parts? Before returning to the store, call Everbilt Customer Service
- 8 a.m. – 7 p.m., EST, Monday-Friday, 9 a.m. – 6 p.
- 1-800-305-1726
- HOMEDEPOT.COM
Safety Information
- Please read and strictly follow the assembly instructions for proper installation. Failure to do so may cause objects to accidentally fall, which may result in personal injury or property damage.
- Make sure to distribute the weight evenly on each unit.
- Do not overload, which may cause collapse of the system and cause personal injury or property damage.
- Do not climb, stand or step on the product, which may cause collapse of the system and cause personal injury or property damage.
- Be sure to wear appropriate safety equipment when using power tools and hand tools.
- The metal may have sharp edges or corners. The use of protective gloves is strongly recommended.
- Recommend to protect the work surface during assembly.
- This product is not a toy and contains small parts which may cause choking hazard for small children. Close supervision is necessary near children.
- DANGER: The metal may have sharp edges or corners. The use of protective gloves is strongly recommended.
- WARNING: Do not overload the units. This may cause collapse of the system and cause personal injury or property damage.
- IMPORTANT: Please read and strictly follow the assembly instructions for proper installation.
Product Specifications
- Drywall installation requires mounting into at least 1 stud.
- Drywall requirement for claimed load : ASTM C1396 Compliant, Minimum thickness 1/2 in.
- Spacing between two vertical rails: 24 in. center-to-center.
- Installed per manufacturer’s requirements.
Warranty
This product is guaranteed to be free of defects in materials and workmanship for 1 year from the date of purchase. If this product is defective, call 1-800-305-1726 or return the product to the store from which it was purchased for a replacement. Guarantee does not include normal wear and tear.
WARNING: This product can expose you to chemicals, including lead, which is known to the State of California to cause cancer and birth defects or other reproductive harm. For more information go to www.P65Wamings.ca.gov
Pre-installation
PLANNING INSTALLATION
- If installing 2 or more drawer kits, install bottom drawer kit first.
- Drawer kit is heavy. It is recommended to install the drawer kit on the brackets with two people.
- Please remove all packaging paperboards from inside the drawer kit before installation.
COMPONENT PACKAGE CONTENTS

| Part | Description | Quantity |
| A | Drawer Kit | 1 |
| B | 16 in. Heavy Duty Multi Bracket | 2 |
| C | 16 in. Heavy Duty Multi Bracket Cover | 2 |
| D | Handle Screw | 2 |
| E | Handle | 1 |
Installation
- Install Handles

- Install Brackets

- Install drawer kits on the bracket

NOTE: Please remove all packaging paperboards from inside the drawer kit before installation. - Install bracket covers

Care and Cleaning
Everbilt closet organizer is powder coated and drawer kit is made of particle board. Clean following these steps:
- To remove dust, stains, and other deposits: Use a soft cloth (or soft brush) with a diluted solution mix of warm water and a mild detergent (such as liquid dishwashing detergent). DO NOT use solvents.
- Make sure you thoroughly rinse the surface(s) with clean fresh water after cleaning to remove all residue.
- Thoroughly dry the surface(s) before reuse.
ABOUT COMPANY
- 8 a.m. – 7 p.m., EST, Monday-Friday, 9 a.m. – 6 p.
- 1-800-305-1726
- HOMEDEPOT.COM




















