Schneider Electric BCS 2200 Backup Control Switch

Important Safety Information
Read and Save These Instructions. Do NOT discard.
This Guide is intended for any qualified personnel who need to install, operate, configure, and troubleshoot the Backup Control Switch. Certain configuration tasks should only be performed by qualified personnel in consultation with your local utility and/or an authorized dealer. Electrical equipment should be installed, operated, serviced, and maintained only by qualified personnel. Qualified personnel have training, knowledge, and experience in:
- Installing electrical equipment
- Applying applicable installation codes
- Installing and configuring batteries
- Connecting communication devices into a network
- Selecting and using Personal Protective Equipment (PPE)
- Analyzing and reducing the hazards involved in performing electrical work
The following special messages may appear throughout this document or on the equipment to warn of potential hazards or to call attention to information that clarifies or simplifies a procedure. - The addition of either symbol to a “Danger” or “Warning” safety label indicates that an electrical hazard exists which will result in personal injury if the instructions are not followed.
- This is the safety alert symbol. It is used to alert you to potential personal injury hazards.
- Obey all safety messages that follow this symbol to avoid possible injury or death. This symbol alerts you to read the related documents, as indicated.
DANGER
DANGER indicates a hazardous situation which, if not avoided, will result in death or serious injury.
WARNING
WARNING indicates a hazardous situation which, if not avoided, could result in death or serious injury.
DANGER
HAZARD OF ELECTRIC SHOCK, EXPLOSION, ARC FLASH, AND FIRE
- Apply appropriate personal protective equipment (PPE) and follow safe electrical work practices. See NFPA 70E or CSA Z462.
- This equipment contains no servicable parts and must only be installed and serviced by qualified electrical personnel.
- Never operate energized with covers removed.
- Energized from multiple sources. Before removing covers identify all sources, de-energize, lock-out, and tag-out and wait 5 minutes for circuits to discharge.
- Always use a properly rated voltage sensing device to confirm all circuits are de-energized.
- Do not operate the equipment if it or its wiring has been damaged in any way.
- Do not disassemble the Backup Control Switch except where noted for connecting wiring and cabling.
- Do not use accessories not recommended or sold by the manufacturer. Failure to follow these instructions will result in death or serious injury.
DANGER
HAZARD OF ELECTRIC SHOCK, EXPLOSION, ARC FLASH, AND FIRE
- Do not operate the Manual Grid Connection Switch in the BCS while any backup power systems are on.
- Turn off all connected backup power sources, including but not limited to inverters, energy storage systems, and generators before using the Manual Grid Connection Switch to connect to the grid.
- Close and secure the switch cover once manual grid connection is complete. Failure to follow these instructions will result in death or serious injury.
Introduction
The Backup Control Switch (BCS) provides a way to island a Schneider Electric solar or storage solution from the grid. The BCS can be used with Schneider Electric XW Pro inverters. For more information about installing and configuring the XW Pro Inverter with the BCS, see the XW Pro Owner’s Guide (document number 990-91227) and XW Pro Multi-unit Design Guide (document number 990-91373) (go to https://solar.schneider-electric.com/product/xwpro- na-solar-hybrid-inverter/ > Downloads > Technical Publications).
What’s in the Box
IMPORTANT: Inspect the package for damage. If damage is found, contact Schneider Electric customer service.

Required Tools and Materials
The following materials and tools are not supplied but are required to complete the installation.
- Appropriate PPE
- Calibrated professional digital multimeter
- AC power cables
- Grounding wires
- RS-485 cable
- Auxiliary wires
- Cable conduits and fittings
- 1/4″ (M6) mounting hardware
- Appropriate socket for the mounting hardware
- Adjustable torque wrench
- Power drill set
- Screw driver set (including a #3 Phillips screwdriver)
- 5/16″ (8 mm) nut driver
- 3/8″ hex key
- Stripper and crimping tool
- Bubble level or spirit level
- High-tension cable tie gun
Optional Components
For more information, see Wiring the BCS.
- Main AC circuit breaker, as specified
- Non-backup circuit breaker, as specified
- Extension wires for CTs (see WattNode® manual)
- Square D Series B conduit hub for top entry wire routing.
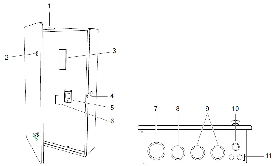
Features
| 1 | Grid input wiring entry – Option 1 | 7 | Grid input wiring entry – Option 2 (for 2.5 or 2″ conduit fitting) |
| 2 | Door latch (x2) | 8 | Non-backed up load wiring entry (for 2 or 1.5″ conduit fitting) |
| 3 | Knockout for Main AC circuit breaker | 9 | Backed-up load wiring entry (for 2 or 1.5″ conduit fitting) |
| 4 | Lock-out bracket | 10 | AC sense and control signal wiring entry (for 1 or 0.75″ conduit fitting) |
| 5 | Manual Grid Connection Switch | 11 | Ground wiring entry (for 0.5″ conduit fitting) |
| 6 | Knockout for non-backup circuit breaker | ||
Dimensions
Choosing a Location
WARNING
IGNITION AND FIRE HAZARD
This equipment is not ignition protected. To prevent fire or explosion, do not install this product in locationsthat require ignition-protected equipment. This includes any confined space containing lead acid batteries or flammable chemicals such as natural gas (NG), liquid petroleum gas (LPG), or gasoline (Benzine/Petrol).
- Do not install in a confined space with machinery powered by flammable chemicals, or storage tanks, fittings, or other connections between components of fuel or flammable chemical systems.
- Do not install the BCS on a flammable surface. If local codes permit installation on a wood surface, ensure that the wood is flame retardant.
- Do not install the BCS near readily flammable materials such as cloth, paper, straw, or plastic sheeting. Keep flammable materials a minimum distance of 24 in (600 cm) from the top surface and 12 in (30 cm) from either side surface and the front of the Backup Control Switch. Failure to follow these instructions can result in death, serious injury, or equipment damage.

Mounting the Backup Control Switch
NOTE: Obtain all necessary permits prior to starting the installation. Installations must meet all applicable local and national codes and standards.
CAUTION
EQUIPMENT DAMAGE AND PERSONAL INJURY
- The BCS weighs approximately 30 lbs (13.6 kg). To prevent personal injury, always use proper lifting techniques during installation.
- The mounting location and anchors must be suitable for the weight of the product. The BCS must be mounted vertically. Failure to follow these instructions can result in injury or equipment damage.

- Open the BCS’s door, remove the eight screws from the dead front panel, and then remove the panel. Save the eight screws and the panel for reinstallation.
- Position the BCS on the wall using a level, and then mark the locations for five 1/4″ (M6) lag bolts onto an appropriate mounting surface.
- Pre-drill holes into the mounting surface.
- Partially install the middle bottom bolt into the wall.
- Install the unit over the middle bolt that was installed in step 4.
- Using a manual screwdriver, fasten the BCS to the mounting surface using four additional 1/4” (M6) lag bolts and the supplied sealing washers. Do not overtighten.
Lock-out and Tag-out (LOTO)
De-energize, lock-out and tag-out the BCS from all power sources.
DANGER
HAZARD OF ELECTRIC SHOCK, EXPLOSION, ARC FLASH, AND FIRE
- Apply appropriate personal protective equipment (PPE) and follow safe electrical work practices.
- This equipment must only be installed and serviced by qualified electrical personnel.
- Never energize the BCS with the covers removed.
- Always use a properly rated voltage sensing device to confirm all circuits are de-energized.
- The BCS is energized from multiple sources. Before opening the cover identify the power source, deenergize, lock-out and tag out, and wait 5 minutes for circuits to discharge. Failure to follow these instructions will result in death or serious injury.

Wiring the BCS
Review Lock-out and Tag-out (LOTO) before working.
NOTE: The BCS includes a manual override switch, and an external bypass switch is not required.
WARNING
HAZARD OF ELECTRIC SHOCK, EXPLOSION, AND FIRE
DO NOT install a bypass switch that bypasses the BCS unless the BCS and all storage inverters are bypassed as a complete sub-system. Refer to the XW Pro Multi-unit Design Guide (document number 990-91373) for information. Failure to follow these instructions can result in death, serious injury, or equipment damage.
NOTE: The top conduit hole is provided as an option for routing cables to the optional Main AC circuit breaker only (L1, L2, N). See Features for bottom entry routing.

Wiring Overview
The figures below show examples of the BCS wiring with and without the optional main and non-backup circuit breakers.

Note: The illustrations above are only examples, and do not show the optional top entry routing of the AC Grid input wires.
- RS-485 cable (power meter to InsightHome or InsightFacility
- Optional Main AC circuit breaker
- AC Grid input (L1/L2) wiring
- Current Transformer (x2)
- Optional non-backup breaker and wiring
- Neutral terminal for optional Main AC circuit breaker (for top wiring entry)
- Bonding screw (Service Entrance installations only)
- Neutral terminals (for bottom wiring entry)
- PCB J2 connector and cable
- Fuse holders (Power Meter)
- Fuse holders (AC voltage sensing)
- AC voltage sense wiring
- Ground terminal
- Output (L1/L2) wiring to XW Pro inverter (AC1) and main AC panel
- Non-backup circuit breaker wiring (if installed)
- Grid input (L1/L2) direct busbar connection (if no main circuit breaker is installed)
Connecting to Inverter Aux Terminals
The BCS’s auxiliary power is supplied by the XW Pro inverter’s auxiliary port. For more information, see the XW Pro Installation Guide (document number 990-91228) and XW Pro Multi-unit Design Guide (document number 990-91373).
XW Pro Network Board AUX Port Connector Terminals and Functions
| Pin | Reference | Name |
| JU-1 | AUX+12V | +12 VDC User Voltage Supply |
| JU-2 | Not used in multi-unit installations. See the XW Pro Multi-unit Design Guide (document number 990-91373). | |
| JU-3 | AUX-COM | Common Ground Reference |
| JU-4 | EXT_TS_OUT | External Transfer switch: Output signal |
| JU-5 | EXT_TS_IN | External Transfer switch: Input signal |
Connect wires from the BCS’s PCB J2 terminals (see Wiring Overview #9) to the master inverter’s JU terminals. Note: Max. output is 250 mA.

Option 1: Service Entrance Installation
WARNING
HAZARD OF ELECTRIC SHOCK, EXPLOSION, AND FIRE
- For Service Entrance installations, the supplied bonding screw must be installed.
- Verify that only one neutral-to-ground bond exists in the system. Having more than one neutral-toground bond in a system may violate local codes, create a shock or fire hazard, or cause sensitive equipment to malfunction. Failure to follow these instructions can result in death, serious injury, or equipment damage.
When the BCS is installed as a Service Entrance, a main circuit breaker must be installed in the BCS according to NEC 230 part VII (230.90). The following Square D circuit breakers are recommended (see the Instruction Bulletin for QOM2 Main Circuit Breaker for QO® Series S_ _ and HOM® Series S_ _ Load Centers (document number 48940-014-05)).
| Part Number | Current Rating | Voltage Rating | Interrupting Rating |
| QOM2100VH | 100 A | 120/240 VAC | 22 kA |
| QOM2125VH | 125 A | 120/240 VAC | 22 kA |
| QOM2150VH | 150 A | 120/240 VAC | 22 kA |
| QOM2175VH | 175 A | 120/240 VAC | 22 kA |
| QOM2200VH | 200 A | 120/240 VAC | 22 kA |


Option 2: Subpanel Backup Installation
WARNING
RISK OF FIRE AND EQUIPMENT DAMAGE
For Subpanel Backup Installations, DO NOT install the supplied bonding screw. Failure to follow these instructions can result in death, serious injury, or equipment damage. When the BCS is not connected to the grid service entrance, a main circuit breaker is not required. Use the box lug terminals to connect L1 and L2 in the BCS to a main AC (grid) panel.
Install an Optional Non-backup Circuit Breaker
A non-backup subpanel can be connected to the BCS by installing an optional non-backup circuit breaker to feed the subpanel.
Power Meter Connections
The BCS comes with the WattNode® Modbus WND-WR-MB power meter.
Install Current Transformers
Install the two pre-connected CTs inside the BCS to measure Grid current. For installation instructions and guidelines, see:
- WattNode Modbus Electric Power Meter Installation Manual
- Accu-cT® ACTL-0750 SeriesSplit-Core Current Transformer Installation Guide
Notes:- Point the “SOURCE” arrow on each CT toward residential loads (see System Diagrams). If the CT is mounted backwards, the measured power will be negative. • Avoid extending the CT wires beyond 100 ft (30 m). For more information, see the WattNode
Installation guide above.
- Locate the two pre-connected CT’s inside the BCS, and install the CTs in one of the following ways:
- For Whole Home Backup (Service Entrance) installations, install the CTs over theAC Grid input cables (L1/ L2) from the Grid (see Wiring Overview #4).
- When the BCS is between the Main AC panel and a subpanel (Subpanel Backup), install the CTs over the AC Grid input cables (L1/ L2) between the Grid and the Main AC panel.
- Fasten the CT to each conductor with a cable tie.
Install the RS-485 Cable
For more information, see the WattNode Modbus Electric Power Meter Installation Manual.
NOTE: The Modbus X terminal is not active on the power meter.
| Power Meter | InsightHome | InsightFacility (Modbus 1) | InsightFacility (Modbus 2) |
| Common: C | Pin 7: GND ISO | Pin 16: ISO2 RS-485 GND | Pin 22: ISO2 RS-485 GND |
| Inverting pin: A- | Pin 11: RS-485 B ISO | Pin 20: ISO2 RS-485 1B | Pin 26: ISO2 RS-485 2B |
| Non-inverting pin: B+ | Pin 9: RS-485 A ISO | Pin 18: ISO2 RS-485 1A | Pin 24: ISO2 RS-485 2A |
Install AC Voltage Sense Wiring
Using the specifications below, connect the AC voltage sense wires from the BCS to the master inverter’s AC2 input terminals (see Wiring Overview #12):
Neutral Connections
These are the required neutral connections (see Wiring Overview):
| Connection | Qty | Wire Specifications | Torque |
| Grid/main panel | 1 | 4 AWG to 300 kcmil | 28 Nm (250 lb-in) |
| Backed-up load | 1-2* | 4 AWG to 300 kcmil | 28 Nm (250 lb-in) |
| Non-backed up load1 | 1 | 12 AWG to 1/0 AWG | • 12 to 4 AWG: 5.1 Nm (45 lb-in) • 3 to 1/0 AWG: 5.6 Nm (50 lb-in) |
Neutral Disconnect Procedure (Service Entrance Installations Only)
This procedure can be used to disconnect the neutral wires when necessary for testing or other procedures.
DANGER
HAZARD OF ELECTRIC SHOCK, EXPLOSION, ARC FLASH, AND FIRE
- Apply appropriate personal protective equipment (PPE) and follow safe electrical work practices.
- This equipment must only be installed and serviced by qualified electrical personnel. Failure to follow these instructions will result in death or serious injury.
Note: The grounded service entrance wire, the grounding electrode wire (if present), and the green neutral-ground bonding screw must remain connected to the neutral bus bar.
- Verify that LOTO for Whole Home Backup (Service Entrance) is still applied.
- Disconnect the load-side neutral wires from the neutral bus in the BCS:
- Disconnect the 1 to 2 neutral wires for backed-up loads (depending on how many are installed).
- Disconnect the neutral wire for the non-backed up load, if present.
- Once testing is completed, neutral wires must be reconnected in their original positions.
Ground Connections
WARNING
UNGROUNDED EQUIPMENT
Equipment ground terminals must be reliably connected to ground by appropriately sized grounding conductors. All installations must comply with national and local codes. Consult national and local codes for specific grounding and bonding requirements. Failure to follow these instructions can result in death, serious injury, or equipment damage.
Connect ground wires to the ground terminal bar inside the BCS (shown below).
| Required Ground Connection | Qty | Torque |
| Ground bar (small terminal): | ||
| Ground Electrode connected to BCS Neutral busbar2 OR main AC panel connected to ground bar3 | 1 | n 14-10 AWG : 2.3 Nm (20 lb-in) n 8 AWG: 2.8 Nm (25 lb-in) n 6 AWG: 4.0 Nm (35 lb-in) |
| Backed-up load | 1-2* | Ground bar (large terminal): |
| n 14-10 AWG : 4.0 Nm (35 lb-in) n 8 AWG: 4.5 Nm (40 lb-in) n 6-4 AWG: 5.1 Nm (45 lb-in) n 3-1/0 AWG: 5.6 Nm (50 lb-in) | ||
| Non-backed up load4 | 1 |
Commissioning Checklist
Before powering on the inverter, perform the following inspections:
- All clearances are correct (see Choosing a Location on page 2).
- The BCS is stable and fixed to the wall, per the instructions in this guide.
- There are no objects such as tools or extra screws inside or on top of the BCS.
- The cables are routed through cable glands or conduits and protected against potential mechanical damage. Do not over-tighten the sealing locks, if used.
- The wires are properly and firmly connected.
- There is no damage to the door gasket. Checklist continues on next page.
- The product labels, and those described in Wiring the BCS are installed and affixed permanently.
- Reinstall the deadfront panel using the eight Phillips screws. Torque to 2 Nm (17.7 lbin).
- XW Pro inverter(s) and InsightHome/InsightFacility are installed and commissioned.
- Verify that you have the latest firmware installed on your gateway device (go to https://solar.schneider-electric.com/product/insighthome-and-insightfacility-edgedevices/ >Downloads>Firmware)
- Check that you have a laptop with Microsoft® Windows® 7 or later, or Mac OS® X 10.4.8. or later at the commissioning site, and that you have valid login credentials for InsightLocal.
Start-Up Procedure
Before proceeding, make sure that all commissioning steps are complete. The following procedures require access to the InsightLocal web portal.
DANGER
HAZARD OF ELECTRIC SHOCK, EXPLOSION, ARC FLASH, AND FIRE
- Apply appropriate personal protective equipment (PPE) and follow safe electrical work practices. See NFPA 70E or CSA Z462EN 50110.
- This equipment must only be installed and serviced by qualified electrical personnel.
- Before energizing the BCS, verify that no tools or materials have been left inside.
- Never operate energized with covers removed.
- Energized from multiple sources. Before removing covers identify all sources, de-energize, lock-out, and tag-out and wait 5 minutes for circuits to discharge
- Always use a properly rated voltage sensing device to confirm all circuits are de-energized. Failure to follow these instructions will result in death or serious injury.
Configure External Contactor Settings Using InsightLocal
IMPORTANT: To verify that the External Contactor has been enabled in InsightLocal, refresh the web page and verify that the toggle switch is still in the Enabled position. If this setting is not enabled properly, the voltage sensing fuses will blow.
To enable external contactor control, the XW Pro inverter must be configured following the instructions in the XW Pro Owner’s Guide (document number 990-91227) and XW Pro Multiunit Design Guide (document number 990-91373).
Check Voltage (Service Entrance Installations)
- Verify that all tools are removed and all safety covers/panels on all devices are installed.
- Verify that the XW Pro inverter is in Standby mode.
- Verify that the Manual Grid Connection Switch in the BCS is in the “Disconnected from Grid” position.
- Coordinate with the grid operator to restore grid power to the BCS.
- In the BCS, close the Main AC circuit breaker.
- In InsightLocal, confirm the AC2 voltage input of the master inverter: AC2 Voltage: 240 V l AC2 L1 Voltage: 120 V l AC2 L2 Voltage: 120 V
- Set the XW Pro inverter to Operating mode. Confirm that the Manual Grid Connection Switch moves to “Connected to Grid”. Note: The relay will change state in approximately 40 s with the default inverter to grid transfer time delay.
- In the BCS, open the main AC circuit breaker. Confirm that the Manual Grid Connection Switch moves to “Disconnected from Grid”.
- In InsightLocal, confirm that the master inverter is providing voltage:
- AC1 Voltage: 240 V l
- AC1 L1 Voltage: 120 V
- AC1 L2 Voltage: 120 V
- Close the main AC circuit breaker
Check Voltage (Subpanel Backup Installations)
- Verify that all tools are removed and all safety covers/panels on all devices are installed.
- Verify that the XW Pro inverter is in Standby mode.
- Verify that the Manual Grid Connection Switch in the BCS is in the “Disconnected from Grid” position.
- In the Main AC panel, close the breaker for the BCS.
- In InsightLocal, confirm the AC2 voltage input of the master inverter:
- AC2 Voltage: 240 V
- AC2 L1 Voltage: 120 V
- AC2 L2 Voltage: 120 V
- Set the XW Pro inverter to Operating mode. Confirm that the Manual Grid Connection Switch moves to “Connected to Grid”. Note: The relay will change state in approximately 40 s with the default inverter to grid transfer time delay.
- In the Main AC panel, open the circuit breaker for the BCS. Confirm that the Manual Grid Connection Switch moves to “Disconnected from Grid”.
- In InsightLocal, confirm that the master inverter is providing voltage:
- AC1 Voltage: 240 V
- AC1 L1 Voltage: 120 V
- AC1 L2 Voltage: 120 V
- Close the circuit breaker for the BCS.
Verify Power Meter Operation
To establish communication with the InsightHome or InsightFacility:
- Go to Setup > Configuration > Modbus Settings and set the following:
Baud rate: 19200 Error Limit: 1 Parity: none Timeout (ms): 500 Stop bits: 1 - Go to Setup > Device Detection and then expand the Detect devices menu.
- On the RS-485 Port that is connected to the power meter, enter the Modbus address range. The address is the Modbus slave address of the meter.

- Click Detect. Once the power meter is detected and online, it will appear as a configurable device.
- Go to Devices > [your power meter] > Configuration.
- Under Meter Settings, enter the Rated current of attached CTs: 200 A.

- Set Averaging to Fast.
- Under Advanced Device Settings, configure the Device Association, based on the location of the CTs in the system.
- Check that the power meter is tracking the power flow accurately
Close the BCS
Once all commissioning and voltage checks are complete:
- Install the small screw to fasten the Manual Grid Connection Switch cover closed.
- Close and latch the BCS.
Electrical Specifications
| Nominal Voltage | 120/240 VAC |
| Frequency | 60 Hz |
| Phase | 1 Ø |
| Max. current rating (mains) | 200 A |
| Certified for use with 167°F (75°C) copper and aluminum conductors. | |
| Suitable for use as Service Equipment when Main AC Circuit Breaker is installed. | |
Mechanical Specifications
| Specification | BCS |
| Regulatory approvals | UL 1741, UL 869a, UL 67 (relevant sections) |
| Enclosure Type | NEMA Type 3R outdoor |
| Operating Temperature Range | -40–122°F (-40–50°C) 6 |
| Dimensions (H × W × D) | 35 × 19 × 7 3/4″ (889 × 485 × 196 mm) |
| Shipping Dimensions (H × W × D) | 40 ¾ × 25 ½ × 17 ½” (1035 × 645 × 440 mm) |
| Weight | 30 lb (13.6 kg) |
Always take into account the specifications for the optional circuit breakers, if installed.
Recycling and Disposal
Always follow regional, national, and/or local waste disposal directives concerning disposing, discarding, and recycling of equipment containing electronic and electrical components.
System Diagrams
The diagrams below illustrate the most basic configurations and are for reference only. Specific installations may require additional equipment to meet national or local electric codes. Ensure that all safety requirements are strictly followed.

Legend
- XW Pro inverters (with optional Conext MPPT Charge Controllers)
- InsightHome or InsightFacility
- BCS
- CTs for AC Grid input L1/L2
- Main AC panel
- Residential loads
- Optional AC-coupled PV inverter
- Grid
- PV panels
- Optional non-backup subpane
Subpanel Backup

Legend
- XW Pro inverters (with optional Conext MPPT Charge Controllers)
- InsightHome or InsightFacility
- BCS
- Non-backup residential loads
- Main AC panel
- CT (optional location on AC Grid input cables (L1/ L2))
- Backup subpanel
- Backup loads
- Optional AC-coupled PV inverter
- Grid
- PV panels
EXCLUSION FOR DOCUMENTATION: UNLESS SPECIFICALLY AGREED TO IN WRITING, SELLER (A) MAKES NO WARRANTY AS TO THE ACCURACY, SUFFICIENCY OR SUITABILITY OF ANY TECHNICAL OR OTHER INFORMATION PROVIDED IN ITS MANUALS OR OTHER DOCUMENTATION; (B) ASSUMES NO RESPONSIBILITY OR LIABILITY FOR LOSSES, DAMAGES, COSTS OR EXPENSES, WHETHER SPECIAL, DIRECT, INDIRECT, CONSEQUENTIAL OR INCIDENTAL, WHICH MIGHT ARISE OUT OF THE USE OF SUCH INFORMATION. THE USE OF ANY SUCH INFORMATION WILL BE ENTIRELY AT THE USER’S RISK; AND (C) REMINDS YOU THAT IF THIS MANUAL IS IN ANY LANGUAGE OTHER THAN ENGLISH, ALTHOUGH STEPS HAVE BEEN TAKEN TO MAINTAIN THE ACCURACY OF THE TRANSLATION, THE ACCURACY CANNOT BE GUARANTEED. APPROVED CONTENT IS CONTAINED WITH THE ENGLISH LANGUAGE VERSION WHICH IS POSTED AT http://SOLAR.SCHNEIDERELECTRIC.COM.
Contact Information
Contact your local Schneider Electric Sales Representative or visit the Schneider Electric website at: http://solar.schneider-electric.com/
References
Electric | The Largest Consumer Energy & Renewables Platform
Home Solar Inverters & Storage Systems - Schneider Electric Solar Portal
Home Solar Inverters & Storage Systems - Schneider Electric Solar Portal
InsightHome and InsightFacility Edge Devices Edge Devices - Schneider Electric Solar America
Home Solar Inverters & Storage Systems - Schneider Electric Solar Portal
XW Pro 6.8 kW Solar Hybrid Inverter UL - Schneider Electric Solar America























