LINOVISION IoT-R32L Router

Welcome
- Thank you for choosing Linovision R32L industrial cellular router.
- This guide describes how to install the R32L and how to log in the Web GUI to configure the device. Once you complete the installation, refer to the Linovision R32L User Guide for instructions on how to perform configurations on the device.
| Document | Description |
| R32L
Datasheet |
Datasheet for R32L industrial cellular router. |
| R32L User
Guide |
Instruction on how to log in the web GUI, and how to configure all the
settings. |
Declaration of Conformity
R32L are in conformity with the essential requirements and other relevant provisions of the CE, FCC, and RoHS.
Copyright © 2007-2021 Linovision.All rights reserved.
- All information in this guide is protected by copyright law. Whereby, no organization or individual shall copy or reproduce the whole or part of this user guide by any means without written authorization from Linovision Co., Ltd
- For assistance, please contact Linovision sales support:
- Email: [email protected]
- Tel: 86-571-86708175
Packing List
Before you begin to install the R32L router, please check the package contents to verify that you have received the items below.

If any of the above items is missing or damaged, please contact your salesrepresentative.
Hardware Introduction
Overview

- Cellular Antenna Connector
- LED Indicator Area
- POWER: Power Indicator
- SYSTEM: Status Indicator
- SIM : Status Indicator
- Signal Strength Indicator
- Ethernet LAN1/WAN Port
- Ethernet LAN2 Port
- Power Connector
- SIM and Reset Button Holder
Dimensions (mm)

LED Indicators
| LED | Indication | Status | Description |
| POWER | Power Status | Off | The power is switched off |
| On | The power is switched on | ||
|
SYSTEM |
System Status |
Green
Light |
Static: Start-up |
| Blinking slowly: the system is running properly | |||
| Red Light | The system goes wrong | ||
|
SIM |
SIM Card Status |
Off | SIM is registering or fails to register (or there are
no SIM cards inserted) |
|
Green Light |
Blinking slowly: SIM has been registered and is
ready for dial-up |
||
| Blinking rapidly: SIM has been registered and is
dialing up now |
|||
| Static: SIM has been registered and dialed up
successfully |
|||
|
Signal Strength |
Signal 1/2/3 |
Off | No signal |
|
Green Light |
Static/Off/Off: weak signals with 1-10 ASU (please check if the antenna is installed correctly, or move the antenna to a suitable location to get better
signal) |
||
| Static/Static/Off: normal signals with 11-20 ASU
(average signal strength) |
|||
| Static/Static/Static: strong signals with 21-31
ASU (signal is good) |
Reset Button
Reset button is under the SIM slot.
| Function | Description | |
| SYSTEM LED | Action | |
|
Reset |
Blinking | Press and hold the reset button for more than 5 seconds. |
| Static Green →
Rapidly Blinking |
Release the button and wait. | |
| Off → Blinking | The router is now reset to factory defaults. | |
Ethernet Port Indicator
| Indicator | Status | Description |
|
Link Indicator (Orange) |
On | Connected |
| Blinking | Transmitting data | |
| Off | Disconnected |
Hardware Installation
SIM Card Installation
- A. Unscrew the cover of the SIM card then take it off.

- B. Put SIM card into the slot and screwit up.

Antenna Installation
Rotate the antenna into the antenna connector accordingly.The external antenna should beinstalled vertically always on a site with a good signal.

Router Installation
The router can be placed on a desktop or mounted to a wall or a DIN rail.
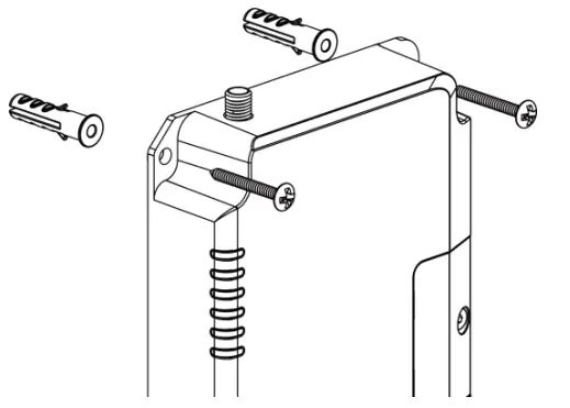
- Wall Mounting (Measured in mm)
Use 4 pcs of M3 × 6 flat head Phillips screws to fix the router on the wall.
Recommended torque for mounting is 1.0 N·m, and the maximum allowed is1.2 N·m.
- DIN Rail Mounting (Measured in mm)
Use 2 pcs of M3 × 6 flat head Phillips screws to fix the mount clip to the router, and then hangthe device to the DIN rail. The width of DIN rail is 3.5cm.
Recommended torque for mounting is 1.0 N·m, and the maximum allowed is1.2 N·m.
Log in the Web GUI of Router
PC Configuration
Please connect PC to LAN port of R32L router. PC can obtain an IP address, or you can configure a static IP address manually. The following steps are based on Windows 10 operating system for your reference.
(Note: As remote access is disabled by default, you can’t access to the router’s Web GUI if you connect PC to WAN port of the router. But it will function properly if you enable it on Web GUI.
- Click “Search Box” to search “Control Panel” on the Windows 10 taskbar.

- Click “Control Panel” to open it, and then click “View network status and tasks”.

- Click “Ethernet” (May have different names).

- Click “Properties”.

- Double Click “Internet Protocol Version 4 (TCP/IPv4)” to configure IP address and DNS server.

- Method 1: click “Obtain an IP address automatically”;

- Method 2: click “Use the following IP address” to assign a static IP manually within the same sub net of

Log in the Router
If this is the first time you configure the router, please use the default settings below:
- IP Address: 192.168.1.1
- Username: admin
- Password: password
- Start a Web browser on your PC (Chrome is recommended), type in the IP address, andpress Enter on your keyboard.
- Enter the username and password, click “Login”.

If you enter the username or password incorrectly more than 5 times, the login page will be locked for 10 minutes. - When you log in with the default username and password, you will be asked to modify the password. It’s suggested that you change the password for the sake of security. Click “Cancel”button if you want to modify it later.

- After you log in the Web GUI, you can view system information and perform configuration on the router.

Network Configuration
This chapter explains how to connect R32L to network via WAN connection or cellular.
Ethernet WAN Configuration
- Go to “Network > Interface > Port” to change LAN1 to WAN port

- Go to “Network > Interface > WAN” to configure WAN parameters. Take static IP configuration as an example. DHCP client and PPPoE type are optional according to your requirements.

Click “Save & Apply” button to make the changes take effect. - Connect WAN port to another router or modem.
- Log in R32L web GUI via WAN port IP address and go to “Status > Network” to check if status is “up”.

- Go to “Network > Interface > Link Failover” to rise the WAN priority to 1.

- Open your preferred browser on PC, then type any available web address into address bar and see if it is able to visit Internet via R32L router.
Cellular Connection Configuration
- Click “Network > Interface > Cellular > Cellular Setting” to configure the cellular info, likeAPN and network type.
- Click “Save” and “Apply” for configuration to take effect.

If you select “Auto”, the router will obtain ISP information from SIM card to set APN, Username,and Password automatically. This option will only be taken effect when the SIM card is issued from a well-known ISP. - Go to “Network > Interface > Link Fail over” to enable SIM and rise link priority.

- Click to configure ICMP ping detection information.

- Click “Status > Cellular” to view the status of the cellular connection. If it shows“Connected”, it means SIM has dialed up successfully.
On the other hand, you can check the status of SIM indicator. If it keeps on green light statically, it means SIM has dialed up successfully.
- Open your preferred browser on PC, then type any available web address into address bar and see if it is able to visit Internet via R32L router.


















