axi Single Metal Swing Instruction Manual

WARNING!
Manufacturer and seller expressly disclaim any and all liability for personal injury, property damage or loss, either direct, indirect or incidental, resulting from the incorrect attachment,
improper use, inadequate maintenance, or neglect of this product.
SINGLE METAL SWING
PARTS


ASSEMBLY
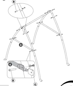
SINGLE METAL SWING
ASSEMBLY


ASSEMBLY

ASSEMBLY

SINGLE METAL SWING ASSEMBLY

SINGLE METAL SWING ASSEMBLY

SINGLE METAL SWING ASSEMBLY

INTRODUCTION
Congratulations on your purchase of a AXI Single Metal Swing. In choosing this product, you have bought a product you will enjoy for many years.
1. SAFETY
This AXI Swing is designed and manufactured according to European EN71 and CE standards, which guarantees the safety of the Swing.
1.1 SAFETY INSTRUCTIONS
- Do not allow children to play without (parental)
- Climbing or playing on the roof of a AXI Swing is not
- AXI Swings are suitable for a maximum of one child (maximum weight 50 Kg).
- AXI Swings are delivered with ground anchors for more stability and
2. ASSEMBLY
- The assembly of the swing must only be done by an
- An AXI swing must be anchored with an anchoring set (included)! This increases the stability and therefore the safety of the
- Do not place the AXI swing on a hard surface, such as concrete or A fall from the swing onto a hard surface can cause serious injury. A shock-ab- sorbent surface around the AXI swing, like grass, wood chips or sand is recommended.
- Place the AXI swing on a flat surface and at least 00 metres away from other structures and other obstacles such as house walls, garage, fence, over- hanging branches or clotheslines.
- The distance between the rocking element and the ground must be at least 35
3. MATERIAL
AXI Metal Swings are made of Powder coated steel in addition, the steel is galvanized inside and outside.
4. MAINTENANCE
- Do this at the start of, and twice a month during the outdoor play
- Check the screws, the strength of connections and / or If applicable, screws and nuts should be tightened. Lubricate moving metal parts with oil. Replace defective parts.
- WARNING: No maintenance can result in hazardous
WARNING!
- A fall from a Swing onto a hard surface can cause serious AXI cannot be held responsible if this occurs. Always place the Swing on a soft surface.
- AXI Swings are designed for private These Swings must not be rented or placed in public places like schools and day-care nurseries. In the case of rental or use in public places, any guarantee or warranty becomes invalidate and other liabilities claims lapse.
If the product does not reach you in good condition or if there are other problems, please contact your dealer or point of sale where you purchased the product.
5. GUARANTEE CERTIFICATE
AXI provides a 5-year guarantee on its AXI Metal Swings when properly used.
AXI reserves the right not to provide a guarantee if:
- no original sales receipt can be presented;
- the AXI Swing is used for purposes other than those for which it was designed;
- a method of assembly is used other than the method indicated;
- technical repairs have been carried out unprofessionally;
- the AXI Swing is used in public places like schools and day-care nurseries;
- the AXI Swing is rented to third parties;
- the regular monitoring and where appropriate replacement of parts, screws and joints has been
PRAGMA BRANDS

AXI
Premium brand with high quality wooden playhouses,
play sets, swings, furniture, pet houses and sports games.
STEP2
US based market leader in highest quality rotomoulded plastic toys including sand/water tables,
playhouses, furniture and creative play.
BACKYARD DISCOVERY
US based market leader in high quality wooden playhouses, play sets, sheds and garden accessories
SUNNY
Mainstream indoor and outdoor toys such as teepee tents, easels, kitchens, playhouses, swings and sand pits.
COUGAR
Table games for indoor fun with football tables, air hockey tables, pool tables and multi-purpose tables.
SAFETY SAM
He is known as Safety Sam, Victor Veilig, Benni Brems and Simon Sikker. This brand is specifically directed towards the safety of children playing outside using
localized names for more local awareness.

WARNING!



















