axi A030.136.XX Single Swing

Single Swing
A030.136.XX / A030.145.XX
Double Swing
A030.135.XX / A030.144.XX
Nest Swing
A030.134.XX / A030.143.XX
WARNING
CHOKING HAZARD small parts
Not suitable for children under 36 months
WARNING
THE TOY IS TO BE ASSEMBLED BY AN ADULT.
WARNING
Potentially hazardous sharp points, so please keep out of baby’s reach
TOOLS REQUIRED
SWING PARTS
SWING ASSEMBLY
Parts: 
- – 5
- – 7 (x 4)
- Put 4 swing hooks (7) in the beam (5). 7
- lf you have a single swing, you only have to put 2 swing hooks in the beam
Parts:
- 1
- b8
- c4
- Lay the pole (1) on the ground, with the notch upwards.
- Put a flat was her ( c4) over the bolt (b8), and put the bolt through the hole of the pole (1) and the hole of the beam.
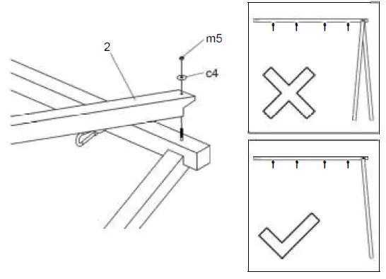
Parts:
- 2
- c4
- m5
- Now put the bolt through the hole of the other pole (2).
- Put a flat was her ( c4) over the bolt and tighten it wit a hex nut (m5).
Parts:
- 1
- 2
- b8
- c4 (x2)
- m5
- Do the same for the other side
Now carefully lift up the frame, so that it stands on the 4 poles
Before you screw the planks and the braces to the frame, make sure the outer dimensions are 254 x 160 cm.
Then tighten the bolts and the hex nuts again.
Parts:
- 3 (x2)
- 4 (x2)
- s2 (x24)
- Screw the 4 planks (3 + 4) to the frame.
- Make sure they are horizontal and that the sides of the planks align with the sides of the poles
Parts:
- 6
- s2 (x4)
- Screw the brace (6) to the frame.
- Make sure the sharpest corner (40°) of the brace points downwards
Parts:
- 6
- s2 (x4)
- Screw the other brace (6) to the other side of the frame
Parts:
- 8 (x2)
- 9 (x4)
- Use the ground anchors (9) to secure the frame to the ground.
- Attach the swing seats (8) to the swing hooks

INTRODUCTION
Congratulations on your purchase of a AXI swing.
AXI makes every effort to design and manufacture a robust, safe product. In choosing this product, you have bought a product you will enjoy for many years.
SAFETY
AXI swings are tested and approved in accordance with the EN71 toy standard and carry the CE mark and EN71 logo.
SAFETY INSTRUCTIONS:
- Do not allow children to play without (parental) supervision.
- Climbing or playing on the top bar of a AXI swing is not permitted.
- AXI swings are suitable for up to two children and one adult (maximum weight – 150 kg).
- AXI swings are deliverd with ground anchors for more stability and safety.
ASSEMBLY
- The assembly of the swing must only be done by an adult.
- An AXI swing must be anchored with an anchoring set (included)! This increases the stability and therefore the safety of the swing.
- Do not place the AXI swing on a hard surface, such as concrete or asphalt. A fall from the swing onto a hard surface can cause serious injury. A shock-absorbent surface around the AXI swing, like grass, wood chips or sand is recommended.
- Place the AXI swing on a flat surface and at least 2.00 metres away from other structures and other obstacles such as house walls, garage, fence, overhanging branches or clotheslines.
- The distance between the rocking element and the ground must be at least 35 cm.
MATERIAL
AXI swings are made of Hemlock with FSC quality mark. This wood has a natural resistance to wood rot and pests. To give the wood an extra protective layer and to finish off the wood, it has been treated with a water-based stain. This stain, which is based on natural components, is not harmful to humans or the environment.
MAINTENANCE
- Check whether all the nuts are on the bolts and whether there are any sharp edges, replace part as necessary.
- It is necessary to check regularly for splinters, loose screws and the tightness of joints and/or fastenings. If necessary, nuts and bolts must be tightened. ‘Regularly means: when you put it up and twice a month during the outdoor play season.
- Once a year check the state of the protective stain layer. To ensure the optimum durability, the AXI swing needs to be given a new coat of stain every two years. Use a water-based paint / stain based on natural components for this.
WARNING!
- A fall from a swing onto a hard surface can cause serious injury. AXI cannot be held responsible if this occurs. Always place the swing on a soft surface.
- AXI swings are designed for private use. These swings must not be rented or placed in public places like schools and day-care nurseries. In the case of rental or use in public places, any guarantee or warranty becomes invalidate and other liabilities claims lapse.
- Wood is a natural product that is subject to the effect of the weather that may cause the wood to warp and split. No guarantee is provided for the consequences of weather conditions on the construction that do not cause any damage, such as splits in the wood and warping of the panels.
GUARANTEE CERTIFICATE
AXI provides a 2-year guarantee on its AXI wooden swings when properly used in respect of the joints and accessories and a guarantee of ten years on the wood.
AXI reserves the right not to provide a guarantee if:
- no original sales receipt can be presented;
- natural effects of weather conditions on the wood have caused warping and splitting of wood that do not have a negative im-pact on the construction of the AXI swing;
- the AXI swing is used for purposes other than those for which it was designed;
- a method of assembly is used other than the method indicated;
- technical repairs have been carried out unprofessionally;
- the AXI swing is used in public places like schools and day-care nurseries;
- the AXI swing is rented to third parties;
- the regular monitoring and where appropriate replacement of parts, screws and joints has been omitted.
- there is a failure to re-stain or paint the AXI swing once every two years.

















