PKBC8R Proline Keyboard Compartment
Instruction Manual
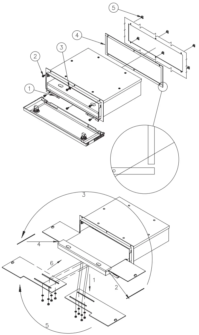
PROLINE®
Keyboard Compartment
PKBC8R Proline Keyboard Compartment




Reversing Mouse Tray, 600 mm Only
Rev. B
© 2018 Hoffman Enclosures Inc.
PH 763 422 2211 • nVent.com/HOFFMAN
P/N 87573435
PKBC8R Proline Keyboard Compartment
Instruction Manual
PROLINE®
Keyboard Compartment




Reversing Mouse Tray, 600 mm Only
Rev. B
© 2018 Hoffman Enclosures Inc.
PH 763 422 2211 • nVent.com/HOFFMAN
P/N 87573435
Download manual
Here you can download full pdf version of manual, it may contain additional safety instructions, warranty information, FCC rules, etc.