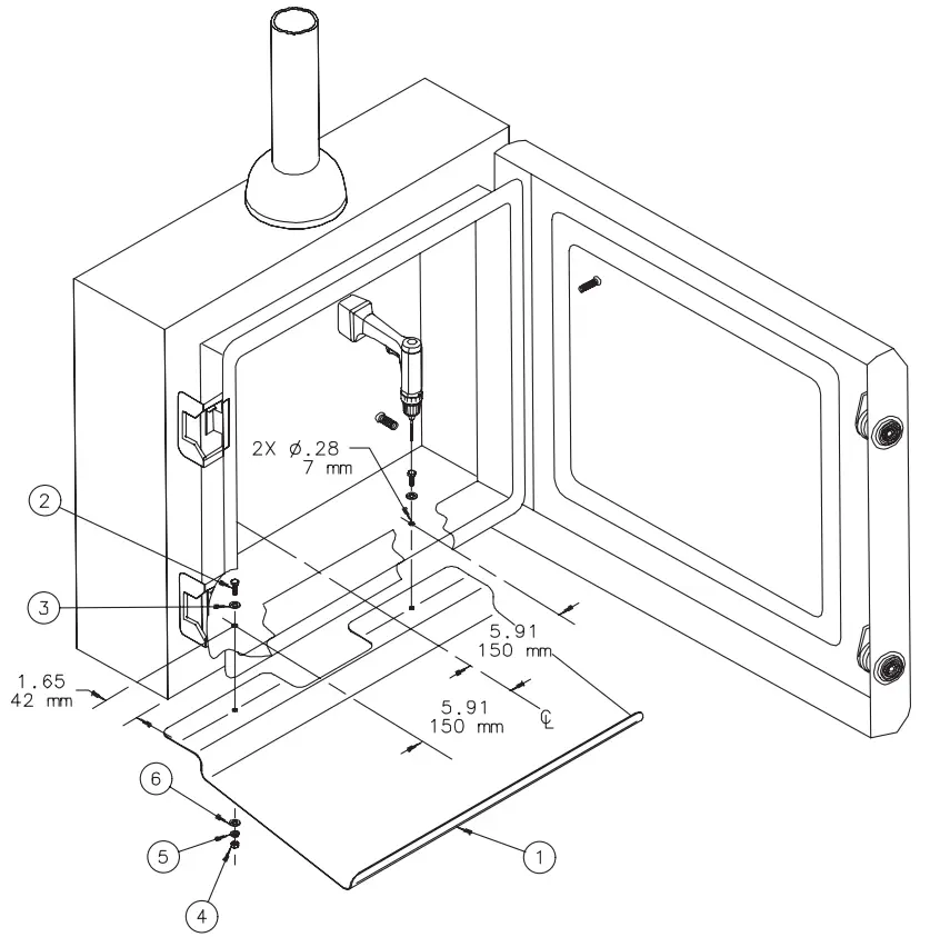
Keyboard Tray
CCSSKBT Keyboard Tray


901.2.2120.00
Rev. C
© 2018 Hoffman Enclosures Inc.
PH 763 422 2211 • nVent.com/HOFFMAN
P/N 87754026
87569916
Keyboard Tray


901.2.2120.00
Rev. C
© 2018 Hoffman Enclosures Inc.
PH 763 422 2211 • nVent.com/HOFFMAN
P/N 87754026
87569916
Download manual
Here you can download full pdf version of manual, it may contain additional safety instructions, warranty information, FCC rules, etc.