Open Frame Rack
Keyboard / Monitor Shelf
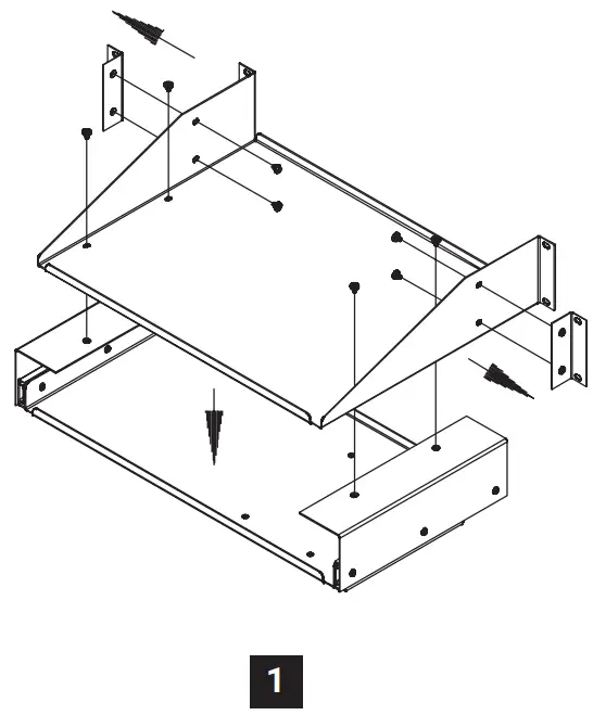
E19SKBM Open Frame Rack Keyboard Monitor Shelf

NOTE: If the shelf cannot be rotated and installed because of other equipment interference, disassembly may be required as shown.


© 2019 Hoffman Enclosures Inc.
PH 763 422 2211 • nVent.com/HOFFMAN
87563695
















