nVent HOFFMAN SYSPEND Sanitary HMI Enclosure Type

Product Usage Instructions
- Ensure the SYSPEND is securely mounted on a stable surface.
- Connect the power cable to an appropriate power source.
- Turn on the SYSPEND using the power switch located on the device.
- Wait for the SYSPEND to initialize and display a ready status.
- Using the control panel or interface, select the desired settings for your application.
- Attach the necessary peripherals or devices to the SYSPEND as required.
- Once all connections are made, start using the SYSPEND as intended.
- To power off the SYSPEND, turn off the power switch and disconnect the power cable from the power source.
Please refer to the complete user manual for detailed instructions on advanced features and troubleshooting.
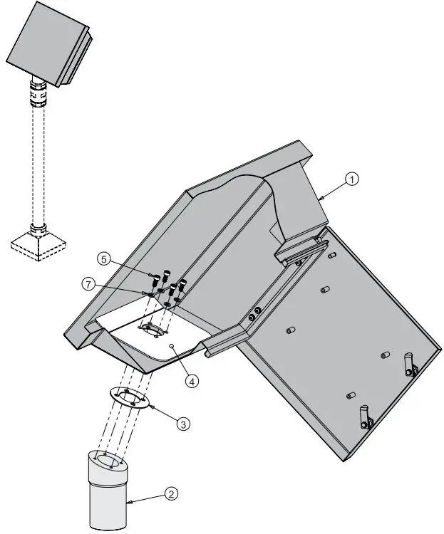
Parts

Installation Instructions



Contact
- PH: 763 422 2211
- nVent.com/HOFFMAN
© 2018 Hoffman Enclosures Inc.
















