makita DGA404 Cordless Angle Grinder

SPECIFICATIONS
| Model | DGA404 | DGA454 | DGA504 | |
| Wheel diameter | 100 mm (4″) | 115 mm (4-1/2″) | 125 mm (5″) | |
| Max. wheel thickness | 6.4 mm (1/4″) | 6.4 mm (1/4″) | 6.4 mm (1/4″) | |
| Spindle thread | M10 | M14 or 5/8″ (country specific) | ||
| Rated speed (n) / No load speed (n0) | 8,500 min-1 | |||
| Overall length | With battery cartridge BL1815N, BL1820, BL1820B | 348 mm | ||
| With battery cartridge BL1830, BL1830B, BL1840, BL1840B, BL1850, BL1850B, BL1860B | 362 mm | |||
| Net weight | With battery cartridge BL1815N, BL1820, BL1820B | 2.2 kg | 2.3 kg | 2.3 kg |
| With battery cartridge BL1830, BL1830B, BL1840, BL1840B, BL1850, BL1850B, BL1860B | 2.4 kg | 2.5 kg | 2.5 kg | |
| Rated voltage | D.C. 18 V | |||
- Due to our continuing program of research and development, the specifications herein are subject to change without notice.
- Specifications and battery cartridge may differ from country to country.
- Weight, with battery cartridge, according to EPTA-Procedure 01/2003
Intended use
The tool is intended for grinding, sanding and cutting of metal and stone materials without the use of water.
Noise
The typical A-weighted noise level determined accord-ing to EN60745:
Model DGA404
Sound pressure level (LpA) : 80 dB (A) Sound power level (LWA) : 91 dB (A) Uncertainty (K) : 3 dB (A)
Model DGA454, DGA504
Sound pressure level (LpA) : 79 dB (A) Uncertainty (K) : 3 dB (A)
The noise level under working may exceed 80 dB (A).
Wear ear protection
Vibration
The vibration total value (tri-axial vector sum) determined according to EN60745:
Model DGA404
Work mode : surface grinding with normal side grip Vibration emission (ah,AG) : 4.5 m/s2
Uncertainty (K) : 1.5 m/s2
Work mode : surface grinding with anti vibration side grip Vibration emission (ah,AG) : 4.0 m/s2
Uncertainty (K) : 1.5 m/s2
Work mode: disc sanding
Vibration emission (ah,DS) : 2.5 m/s2 or less Uncertainty (K) : 1.5 m/s2
Model DGA454, DGA504
Work mode : surface grinding with normal side grip Vibration emission (ah,AG) : 6.5 m/s2
Uncertainty (K) : 1.5 m/s2
Work mode : surface grinding with anti vibration side grip Vibration emission (ah,AG) : 6.0 m/s2
Uncertainty (K) : 1.5 m/s2
Work mode: disc sanding
Vibration emission (ah,DS) : 2.5 m/s2 or less Uncertainty (K) : 1.5 m/s2
NOTE: The declared vibration emission value has been measured in accordance with the standard test method and may be used for comparing one tool with another.
NOTE: The declared vibration emission value may also be used in a preliminary assessment of exposure.
NOTE: The declared vibration emission value is used for main applications of the power tool. However if the power tool is used for other applications, the vibration emission value may be different.
WARNING: The vibration emission during actual use of the power tool can differ from the declared emission value depending on the ways in which the tool is used.
WARNING: Be sure to identify safety measures to protect the operator that are based on an estimation of exposure in the actual conditions of use (taking account of all parts of the operating cycle such as the times when the tool is switched off and when it is running idle in addition to the trigger time).
For European countries only
EC Declaration of Conformity
Makita declares that the following Machine(s): Designation of Machine:
Cordless Angle Grinder
Model No./ Type: DGA404,DGA454,DGA504
Conforms to the following European Directives:
2006/42/EC
They are manufactured in accordance with the following standard or standardized documents:
EN60745
The technical file in accordance with 2006/42/EC is
available from:
Makita, Jan-Baptist Vinkstraat 2, 3070, Belgium
Yasushi Fukaya
Director
Makita, Jan-Baptist Vinkstraat 2, 3070, Belgium
General Power Tool Safety Warnings
WARNING Read all safety warnings and all instructions. Failure to follow the warnings and instructions may result in electric shock, fire and/or serious injury.
Save all warnings and instructions for future reference.
CORDLESS GRINDER SAFETY WARNINGS
Safety Warnings Common for Grinding, Sanding, Wire Brushing, or Abrasive Cutting-Off Operations:
- This power tool is intended to function as a grinder, sander, wire brush or cut-off tool. Read all safety warnings, instructions, illustrations and specifications provided with this power tool. Failure to follow all instructions listed below may result in electric shock, fire and/or serious injury.
- Operations such as polishing are not recommended to be performed with this power tool. Operations for which the power tool was not designed may create a hazard and cause personal injury.
- Do not use accessories which are not specifically designed and recommended by the tool manufacturer. Just because the accessory can be attached to your power tool, it does not assure safe operation.
- The rated speed of the accessory must be at least equal to the maximum speed marked on the power tool. Accessories running faster than their rated speed can break and fly apart.
- The outside diameter and the thickness of your accessory must be within the capacity rating of your power tool. Incorrectly sized accessories cannot be adequately guarded or controlled.
- Threaded mounting of accessories must match the grinder spindle thread. For accessories mounted by flanges, the arbour hole of the accessory must fit the locating diameter of the flange. Accessories that do not match the mounting hardware of the power tool will run out of balance, vibrate excessively and may cause loss of control.
- Do not use a damaged accessory. Before each use inspect the accessory such as abrasive wheels for chips and cracks, backing pad for cracks, tear or excess wear, wire brush for loose or cracked wires. If power tool or accessory is dropped, inspect for damage or install an undamaged accessory. After inspecting and installing an accessory, position yourself and bystanders away from the plane of the rotating accessory and run the power tool at maximum no-load speed for one minute. Damaged accessories will normally break apart during this test time.
- Wear personal protective equipment. Depending on application, use face shield, safety goggles or safety glasses. As appropriate, wear dust mask, hearing protectors, gloves and workshop apron capable of stopping small abrasive or workpiece fragments. The eye protection must be capable of stopping flying debris generated by various operations . The dust mask or respirator must be capable of filtrating particles generated by your operation. Prolonged exposure to high intensity noise may cause hearing loss.
- Keep bystanders a safe distance away from work area. Anyone entering the work area must wear personal protective equipment. Fragments of workpiece or of a broken accessory may fly away and cause injury beyond immediate area of operation.
- Hold the power tool by insulated gripping surfaces only, when performing an operation where the cutting tool may contact hidden wiring. Contact with a “live” wire will also make exposed metal parts of the power tool “live” and could give the operator an electric shock.
- Never lay the power tool down until the accessory has come to a complete stop. The spinning accessory may grab the surface and pull the power tool out of your control.
- Do not run the power tool while carrying it at your side. Accidental contact with the spinning accessory could snag your clothing, pulling the accessory into your body.
- Regularly clean the power tool’s air vents. The motor’s fan will draw the dust inside the housing and excessive accumulation of powdered metal may cause electrical hazards.
- Do not operate the power tool near flammable materials. Sparks could ignite these materials.
- Do not use accessories that require liquid coolants. Using water or other liquid coolants may result in electrocution or shock.
Kickback and Related Warnings
Kickback is a sudden reaction to a pinched or snagged rotating wheel, backing pad, brush or any other accessory. Pinching or snagging causes rapid stalling of the rotating accessory which in turn causes the uncontrolled power tool to be forced in the direction opposite of the accessory’s rotation at the point of the binding.
For example, if an abrasive wheel is snagged or pinched by the workpiece, the edge of the wheel that is entering into the pinch point can dig into the surface of the material causing the wheel to climb out or kick out.
The wheel may either jump toward or away from the
operator, depending on direction of the wheel’s movement at the point of pinching. Abrasive wheels may also break under these conditions.
Kickback is the result of power tool misuse and/or incorrect operating procedures or conditions and can be avoided by taking proper precautions as given below.- Maintain a firm grip on the power tool and position your body and arm to allow you to resist kickback forces. Always use auxiliary handle, if provided, for maximum control over kickback or torque reaction during start-up.
The operator can control torque reactions or kickback forces, if proper precautions are taken. - Never place your hand near the rotating accessory. Accessory may kickback over your hand.
- Do not position your body in the area where\ power tool will move if kickback occurs.
Kickback will propel the tool in direction opposite to the wheel’s movement at the point of snagging. d) Use special care when working corners, sharp edges etc. Avoid bouncing and snagging the accessory. Corners, sharp edges or bouncing have a tendency to snag the rotating accessory and cause loss of control or kickback. - Do not attach a saw chain woodcarving blade or toothed saw blade. Such blades create frequent kickback and loss of control.
Safety Warnings Specific for Grinding and Abrasive Cutting-Off Operations: - Use only wheel types that are recommended for your power tool and the specific guard designed for the selected wheel. Wheels for which the power tool was not designed cannot be adequately guarded and are unsafe.
- The grinding surface of centre depressed wheels must be mounted below the plane of the guard lip. An improperly mounted wheel that projects through the plane of the guard lip cannot
be adequately protected. - The guard must be securely attached to the power tool and positioned for maximum safety, so the least amount of wheel is exposed towards the operator. The guard helps to protect the operator from broken wheel fragments, acci-dental contact with wheel and sparks that could ignite clothing.
- Wheels must be used only for recommended applications. For example: do not grind with the side of cut-off wheel. Abrasive cut-off wheels are intended for peripheral grinding, side forces applied to these wheels may cause them to shatter.
- Always use undamaged wheel flanges that are of correct size and shape for your selected wheel. Proper wheel flanges support the wheel thus reducing the possibility of wheel breakage. Flanges for cut-off wheels may be different from grinding wheel flanges.
- Do not use worn down wheels from larger power tools. Wheel intended for larger power tool is not suitable for the higher speed of a smaller tool and may burst.
Additional Safety Warnings Specific for Abrasive
Cutting-Off Operations: - Do not “jam” the cut-off wheel or apply excessive pressure. Do not attempt to make an excessive depth of cut. Overstressing the wheel increases the loading and susceptibility to twisting or binding of the wheel in the cut and the possibility of kickback or wheel breakage.
- Do not position your body in line with and behind the rotating wheel. When the wheel, at the point of operation, is moving away from your body, the possible kickback may propel the spin-ning wheel and the power tool directly at you.
- When wheel is binding or when interrupting a cut for any reason, switch off the power tool and hold the power tool motionless until
the wheel comes to a complete stop. Never attempt to remove the cut-off wheel from the cut while the wheel is in motion otherwise kickback may occur. Investigate and take corrective action to eliminate the cause of wheel binding. - Do not restart the cutting operation in the workpiece. Let the wheel reach full speed and carefully re-enter the cut. The wheel may bind, walk up or kick-back if the power tool is restarted in the workpiece.
- Support panels or any oversized workpiece to minimize the risk of wheel pinching and
kickback. Large workpieces tend to sag under their own weight. Supports must be placed under the workpiece near the line of cut and near the edge of the workpiece on both sides of the wheel. f) Use extra caution when making a “pocket cut” into existing walls or other blind areas. The protruding wheel may cut gas or water pipes, electrical wiring or objects that can cause kickback.
Safety Warnings Specific for Sanding Operations: - Do not use excessively oversized sanding disc paper. Follow manufacturers recommendations, when selecting sanding paper. Larger sanding paper extending beyond the sanding pad presents a laceration hazard and may cause snagging, tearing of the disc or kickback.
Safety Warnings Specific for Wire Brushing
Operations: - Be aware that wire bristles are thrown by the brush even during ordinary operation. Do not overstress the wires by applying excessive load to the brush. The wire bristles can easily penetrate light clothing and/or skin.
- If the use of a guard is recommended for wire brushing, do not allow interference of the wire wheel or brush with the guard. Wire wheel
or brush may expand in diameter due to work load and centrifugal forces.
Additional Safety Warnings:
- Maintain a firm grip on the power tool and position your body and arm to allow you to resist kickback forces. Always use auxiliary handle, if provided, for maximum control over kickback or torque reaction during start-up.
- When using depressed centre grinding wheels, be sure to use only fiberglass-reinforced wheels.
- NEVER USE Stone Cup type wheels with this grinder. This grinder is not designed for these types of wheels and the use of such a product may result in serious personal injury.
- Be careful not to damage the spindle, the flange (especially the installing surface) or the lock nut. Damage to these parts could result in wheel breakage.
- Make sure the wheel is not contacting the workpiece before the switch is turned on.
- Before using the tool on an actual workpiece, let it run for a while. Watch for vibration or wobbling that could indicate poor installation or a poorly balanced wheel.
- Use the specified surface of the wheel to perform the grinding.
- Do not leave the tool running. Operate the tool only when hand-held.
- Do not touch the workpiece immediately after operation; it may be extremely hot and could burn your skin.
- Observe the instructions of the manufacturer for correct mounting and use of wheels. Handle and store wheels with care.
- Do not use separate reducing bushings or adaptors to adapt large hole abrasive wheels.
- Use only flanges specified for this tool.
- For tools intended to be fitted with threaded hole wheel, ensure that the thread in the wheel is long enough to accept the spindle length.
- Check that the workpiece is properly supported.
- Pay attention that the wheel continues to rotate after the tool is switched off.
- If working place is extremely hot and humid, or badly polluted by conductive dust, use a short-circuit breaker (30 mA) to assure operator safety.
- Do not use the tool on any materials containing asbestos.
- When use cut-off wheel, always work with the dust collecting wheel guard required by domestic regulation.
- Cutting discs must not be subjected to any lateral pressure.
- Do not use cloth work gloves during operation. Fibers from cloth gloves may enter the tool, which causes tool breakage.
SAVE THESE INSTRUCTIONS.
WARNING: DO NOT let comfort or familiarity with product (gained from repeated use) replace strict adherence to safety rules for the subject product. MISUSE or failure to follow the safety rules stated in this instruction manual may cause serious personal injury.
Important safety instructions for battery cartridge
- Before using battery cartridge, read all instructions and cautionary markings on (1) battery charger, (2) battery, and (3) product using battery.
- Do not disassemble battery cartridge.
- If operating time has become excessively shorter, stop operating immediately. It may result in a risk of overheating, possible burns and even an explosion.
- If electrolyte gets into your eyes, rinse them out with clear water and seek medical atten-tion right away. It may result in loss of your eyesight.
- Do not short the battery cartridge:
- Do not touch the terminals with any conductive material.
- Avoid storing battery cartridge in a container with other metal objects such as nails, coins, etc.
- Do not expose battery cartridge to water or rain.
A battery short can cause a large current flow, overheating, possible burns and even a breakdown.
- Do not store the tool and battery cartridge in locations where the temperature may reach or exceed 50 °C (122 °F).
- Do not incinerate the battery cartridge even if it is severely damaged or is completely worn out. The battery cartridge can explode in a fire.
- Be careful not to drop or strike battery.
- Do not use a damaged battery.
- The contained lithium-ion batteries are subject to the Dangerous Goods Legislation requirements.
For commercial transports e.g. by third parties, forwarding agents, special requirement on packaging and labeling must be observed.
For preparation of the item being shipped, consulting an expert for hazardous material is required. Please also observe possibly more detailed national regulations.
Tape or mask off open contacts and pack up the battery in such a manner that it cannot move around in the packaging. - Follow your local regulations relating to disposal of battery.
- Use the batteries only with the products specified by Makita. Installing the batteries to non-compliant products may result in a fire, excessive heat, explosion, or leak of electrolyte.
SAVE THESE INSTRUCTIONS.
CAUTION: Only use genuine Makita batteries.
Use of non-genuine Makita batteries, or batteries that have been altered, may result in the battery bursting
causing fires, personal injury and damage. It will also void the Makita warranty for the Makita tool and charger.
Tips for maintaining maximum battery life
- Charge the battery cartridge before completely discharged. Always stop tool operation and charge the battery cartridge when you notice less tool power.
- Never recharge a fully charged battery cartridge. Overcharging shortens the battery service life.
- Charge the battery cartridge with room temperature at 10 °C – 40 °C (50 °F – 104 °F). Let a hot battery cartridge cool down before charging it.
- Charge the battery cartridge if you do not use it for a long period (more than six months).
FUNCTIONAL DESCRIPTION
CAUTION:
Always be sure that the tool is switched off and the battery cartridge is removed before adjust-ing or checking function on the tool.
Installing or removing battery cartridge
Fig.1: 1. Button 2. Red indicator 3. Battery cartridge
CAUTION:
- Always switch off the tool before installing or removing of the battery cartridge.
- Hold the tool and the battery cartridge firmly when installing or removing battery cartridge. Failure to hold the tool and the battery cartridge firmly may cause them to slip off your hands and result in damage to the tool and battery cartridge and a personal injury.
To remove the battery cartridge, slide it from the tool while sliding the button on the front of the cartridge. To install the battery cartridge, align the tongue on the battery cartridge with the groove in the housing and slip it into place. Insert it all the way until it locks in place with a little click. If you can see the red indicator on the upper side of the button, it is not locked completely.
CAUTION:
- Always install the battery cartridge fully until the red indicator cannot be seen. If not, it may accidentally fall out of the tool, causing injury to you or someone around you.
- Do not install the battery cartridge forcibly. If the cartridge does not slide in easily, it is not being inserted correctly.
Switch action
CAUTION:
- Before installing the battery cartridge into the tool, always check to see that the slide switch actuates properly and returns to the “OFF” position when the rear of the slide switch is depressed.
- Switch can be locked in “ON” position for ease of operator comfort during extended use. Apply caution when locking tool in “ON” position and maintain firm grasp on tool.
Fig.2: 1. Slide switch
To start the tool, slide the slide switch toward the “I
(ON)” position by pushing the rear of the slide switch. For continuous operation, press the front of the slide switch to lock it.
To stop the tool, press the rear of the slide switch, then slide it toward the “O (OFF)” position.
Accidental re-start preventive function
Even if the battery cartridge is installed on the tool with the slide switch in the “I (ON)” position, the tool does not start.
To start the tool, first slide the slide switch toward the “O (OFF)” position and then slide it toward the “I (ON)” position.
Electronic torque control function
The tool electronically detects situations where the wheel or accessory may be at risk to be bound. In the situation, the tool is automatically shut off to prevent further rotation of the spindle (it does not prevent kickback).
To restart the tool, switch off the tool first, remove the cause of sudden drop in the rotation speed, and then turn the tool on.
Indicating the remaining battery capacity
Only for battery cartridges with the indicator
Fig.3: 1. Indicator lamps 2. Check button
Press the check button on the battery cartridge to indi-cate the remaining battery capacity. The indicator lamps light up for a few seconds.
NOTE: Depending on the conditions of use and the ambient temperature, the indication may differ slightly from the actual capacity.
Indicating remaining battery capacity
(Country specific)
Fig.4: 1. Battery indicator
When you turn the tool on, the battery indicator shows the remaining battery capacity.
The remaining battery capacity is shown as the following table.
| Battery indicator status | Remaining battery capacity | |||
| On | ![]() | |||
| 50% – 100% | ||||
![]() | ||||
![]() | 20% – 50% | |||
![]() | 0% – 20% | |||
![]() | Charge the battery | |||
Automatic speed change function
Fig.5: 1. Mode indicator
| Mode indicator status | Operation mode | ||||
|
| High speed mode | ||||
![]() | High torque mode | ||||
This tool has “high speed mode” and “high torque mode”. It automatically changes operation mode depending on the work load. When mode indicator lights up during operation, the tool is in high torque mode.
Tool/battery protection system
The tool is equipped with a tool/battery protection system. This system automatically cuts off power to the motor to extend tool and battery life.
The tool will automatically stop during operation if the tool or battery is placed under one of the following conditions. In some conditions, the indicator lights up.
Overload protection
When the tool is operated in a manner that causes it to draw an abnormally high current, the tool automatically stops without any indications. In this situation, turn the tool off and stop the application that caused the tool to become overloaded. Then turn the tool on to restart.
Overheat protection for tool
When the tool is overheated, the tool stops automatically and the battery indicator shows following state. In this situation, let the tool cool before turning the tool on again.
Releasing protection lock
When the protection system works repeatedly, the tool is locked and the battery indicator shows the following state.

In this situation, the tool does not start even if turning the tool off and on. To release the protection lock, remove the battery, set it to the battery charger and wait
until the charging finishes.
Shaft lock
CAUTION:
Never actuate the shaft lock when the spindle is moving. The tool may be damaged.
Fig.6: 1. Shaft lock
Press the shaft lock to prevent spindle rotation when installing or removing accessories.
ASSEMBLY
CAUTION:
Always be sure that the tool is switched off and the battery cartridge is removed before carrying out any work on the tool.
Installing side grip (handle)
CAUTION:
Always be sure that the side grip is installed securely before operation.Always be sure that the side grip is installed securely before operation.
Fig.7
Screw the side grip securely on the position of the tool as shown in the figure.
Installing or removing wheel guard (For depressed center wheel, multi-disc / abrasive cut-off wheel, vdiamond wheel)
WARNING:
- When using a depressed center grinding wheel/Multi-disc, flex wheel, wire wheel brush, cut-off wheel or diamond wheel, the wheel guard must be fitted on the tool so that the closed side of the guard always points toward the operator.
- When using an abrasive cut-off/diamond wheel, be sure to use only the special wheel guard designed for use with cut-off wheels. (In some European countries, when using a dia-mond wheel, the ordinary guard can be used. Follow the regulations in your country.)
For tool with clamp lever type wheel guard
► Fig.8: 1. Wheel guard 2. Bearing box 3. Screw 4. Lever
Loosen the lever on the wheel guard after loosening the screw. Mount the wheel guard with the protrusion on the wheel guard band aligned with the notch on the bearing box. Then rotate the wheel guard to such an angle that it can protect the operator according to work.
Fig.9: 1. Screw 2. Lever 3. Wheel guard
Tighten the lever to fasten the wheel guard. If the lever is too tight or too loose to fasten the wheel guard, loosen or tighten the screw to adjust the tightening of the wheel guard band.
To remove wheel guard, follow the installation procedure in reverse.
For tool with locking screw type wheel guard
Fig.10: 1. Wheel guard 2. Bearing box 3. Screw
Mount the wheel guard with the protrusions on the wheel guard band aligned with the notches on the bear-ing box. Then rotate the wheel guard around 180° coun-terclockwise. Be sure to tighten the screw securely.
To remove wheel guard, follow the installation proce-dure in reverse.
Installing or removing depressed center wheel or flap disc (optional accessory)
WARNING:
- When using a depressed center wheel or flap disc, the wheel guard must be fitted on the tool so that the closed side of the guard always points toward the operator.
- Only actuate the shaft lock when the spindle is not moving.
Fig.11: 1. Lock nut 2. Depressed center wheel 3. Inner flange
Mount the inner flange onto the spindle. Fit the wheel/disc on the inner flange and screw the lock nut onto the spindle.
Fig.12: 1. Lock nut wrench 2. Shaft lock
To tighten the lock nut, press the shaft lock firmly so that the spindle cannot revolve, then use the lock nut wrench and securely tighten clockwise.
To remove the wheel, follow the installation procedure in reverse.
Installing or removing Ezynut (optional accessory)
CAUTION:
Do not use Ezynut with Super Flange or angle grinder with “F” on the end of the model No. Those flanges are so thick that the entire thread cannot be retained by the spindle.
Fig.13: 1. Ezynut 2. Abrasive wheel 3. Inner flange 4. Spindle
Mount inner flange, abrasive wheel and Ezynut onto the spindle so that Makita Logo on Ezynut faces outside.
Fig.14: 1. Shaft lock
Press shaft lock firmly and tighten Ezynut by turning the abrasive wheel clockwise as far as it turns.
Turn the outside ring of Ezynut counterclockwise to loosen.
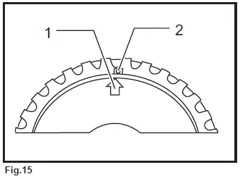
Fig.15: 1. Arrow 2. Notch
Fig.16
NOTE:
Ezynut can be loosened by hand as long as the arrow points the notch. Otherwise a lock nut wrench is required to loosen it. Insert one pin of the wrench into a hole and turn Ezynut counterclockwise.
Installing or removing flex wheel
Optional accessory
WARNING: Always use supplied guard when flex wheel is on tool. Wheel can shatter during use and guard helps to reduce chances of personal injury.
Fig.17: 1. Lock nut 2. Flex wheel 3. Back up pad 4. Inner flange
Follow instructions for depressed center wheel but also use back up pad over wheel. See order of assembly on accessories page in this manual.
Installing or removing abrasive disc (optional accessory)
Fig.18: 1. Sanding lock nut 2. Abrasive disc 3. Rubber pad
Mount the rubber pad onto the spindle. Fit the disc on the rubber pad and screw the lock nut onto the spindle.
To tighten the lock nut, press the shaft lock firmly so that the spindle cannot revolve, then use the lock nut wrench and securely tighten clockwise.
To remove the disc, follow the installation procedure in reverse.
NOTE:
Use sander accessories specified in this manual. These must be purchased separately.
OPERATION
WARNING:
- It should never be necessary to force the tool. The weight of the tool applies adequate pressure. Forcing and excessive pressure could cause dangerous wheel breakage.
- ALWAYS replace wheel if tool is dropped while grinding.
- NEVER bang or hit grinding disc or wheel onto work.
- Avoid bouncing and snagging the wheel, especially when working corners, sharp edges etc. This can cause loss of control and kickback.
- NEVER use tool with wood cutting blades and other sawblades. Such blades when used on a grinder frequently kick and cause loss of control leading to personal injury.
CAUTION:
- Never switch on the tool when it is in contact with the workpiece, it may cause an injury to operator.
- Always wear safety goggles or a face shield during operation.
- After operation, always switch off the tool and wait until the wheel has come to a complete stop before putting the tool down.
- Never switch on the tool when it is in contact with the workpiece, it may cause an injury to operator.
- Always wear safety goggles or a face shield during operation.
- After operation, always switch off the tool and wait until the wheel has come to a complete stop before putting the tool down.
Grinding and sanding operation
Fig.19
ALWAYS hold the tool firmly with one hand on housing
and the other on the side handle. Turn the tool on and then apply the wheel or disc to the workpiece.
In general, keep the edge of the wheel or disc at an angle of about 15 degrees to the workpiece surface. During the break-in period with a new wheel, do not work the grinder in the B direction or it will cut into the workpiece. Once the edge of the wheel has been rounded off by use, the wheel may be worked in both A and B direction.
Operation with abrasive cut-off/diamond wheel
Optional accessory
WARNING: When using an abrasive cut-off/diamond wheel, be sure to use only the special wheel guard designed for use with cut-off wheels. (In some European countries, when using a diamond wheel, the ordinary guard can be used. Follow the regulations in your country.)
WARNING: NEVER use cut-off wheel for side grinding. WARNING: Do not “jam” the wheel or apply excessive pressure. Do not attempt to make an excessive depth of cut. Overstressing the wheel increases the loading and susceptibility to twisting or binding of the wheel in the cut and the possibility of kickback, wheel breakage and overheating of the motor may occur.
WARNING: Do not start the cutting operation in the workpiece. Let the wheel reach full speed and carefully enter into the cut moving the tool forward over the workpiece surface. The wheel may bind, walk up or kickback if the power tool is started in the workpiece.
WARNING: During cutting operations, never change the angle of the wheel. Placing side pressure on the cut-off wheel (as in grinding) will cause the wheel to crack and break, causing serious personal injury.
WARNING: A diamond wheel shall be oper-ated perpendicular to the material being cut.
Fig.20: 1. Lock nut 2. Abrasive cut-off wheel / dia- mond wheel 3. Inner flange 4. Wheel guard for abrasive cut-off wheel/diamond wheel
As for the installation, follow the instructions for depressed center wheel.
The direction for mounting the lock nut and the inner flange varies by wheel type and thickness. Refer to the following figures.
For 100 mm (4″) model
When installing the abrasive cut-off wheel:
Fig.21: 1. Lock nut 2. Abrasive cut-off wheel (Thinner than 4 mm (5/32″)) 3. Abrasive cut-off wheel (4 mm (5/32″) or thicker) 4. Inner flang
When installing the diamond wheel:
Fig.22: 1. Lock nut 2. Diamond wheel (Thinner than 4 mm (5/32″)) 3. Diamond wheel (4 mm (5/32″) or thicker) 4. Inner flange
For 115 mm (4 – 1/2″) / 125 mm (5″) model
When installing the abrasive cut-off wheel:
Fig.23: 1. Lock nut 2. Abrasive cut-off wheel (Thinner than 4 mm (5/32″)) 3. Abrasive cut-off wheel (4 mm (5/32″) or thicker) 4. Inner flange
When installing the diamond wheel:
Fig.24: 1. Lock nut 2. Diamond wheel (Thinner than 4 mm (5/32″)) 3. Diamond wheel (4 mm (5/32″) or thicker) 4. Inner flange
Operation with wire cup brush (optional accessory)
CAUTION:
- Check operation of brush by running tool with no load, insuring that no one is in front of or in line with brush.
- Do not use brush that is damaged, or which is out of balance. Use of damaged brush could increase potential for injury from contact with broken brush wires.
Fig.25: 1. Wire cup brush
Remove the battery cartridge from the tool and place it upside down allowing easy access to spindle. Remove any accessories on spindle. Thread wire cup brush onto spindle and tighten with supplied wrench. When using brush, avoid applying too much pressure which causes over bending of wires, leading to premature breakage.
Operation with wire wheel brush (optional accessory)
CAUTION:
- Check operation of wire wheel brush by running tool with no load, insuring that no one is in front of or in line with the wire wheel brush.
- Do not use wire wheel brush that is damaged, or which is out of balance. Use of damaged wire wheel brush could increase potential for injury from contact with broken wires.
- ALWAYS use guard with wire wheel brushes, assuring diameter of wheel fits inside guard. Wheel can shatter during use and guard helps to reduce chances of personal injury.
Fig.26: 1. Wire wheel brush
Remove the battery cartridge from the tool and place it upside down allowing easy access to spindle. Remove any accessories on spindle. Thread wire wheel brush onto spindle and tighten with the wrenches.
When using wire wheel brush, avoid applying too much pressure which causes over bending of wires, leading to premature breakage.
MAINTENANCE
CAUTION:
- Always be sure that the tool is switched off and the battery cartridge is removed before attempting to perform inspection or maintenance.
- Never use gasoline, benzine, thinner, alcohol or the like. Discoloration, deformation or cracks may result.
Fig.27: 1. Exhaust vent 2. Inhalation vent
The tool and its air vents have to be kept clean. Regularly clean the tool’s air vents or whenever the vents start to become obstructed.
Fig.28: 1. Dust cover
Remove the dust cover from inhalation vent and clean it for smooth air circulation.
NOTE:
Clean out the dust cover when it is clogged with dust or foreign matters. Continuing operation with a clogged dust cover may damage the tool.
To maintain product SAFETY and RELIABILITY, repairs, any other maintenance or adjustment should be per-formed by Makita Authorized Service Centers, always using Makita replacement parts.
OPTIONAL ACCESSORIES
CAUTION:
These accessories or attachments are recommended for use with your Makita tool specified in this manual. The use of any other accessories or attachments might present a risk of injury to persons. Only use accessory or attachment for its stated purpose.
If you need any assistance for more details regard-ing these accessories, ask your local Makita Service Center.
Makita genuine battery and charger Fig.29
| – | 100 mm (4″) model | 115 mm (4-1/2″) model | 125 mm (5″) model |
| 1 | Grip 36 | ||
| 2 | Wheel Guard (for grinding wheel) | ||
| 3 | Inner flange | Inner flange / Super flange *1*2 | Inner flange / Super flange |
| 4 | Depressed center wheel / Flap disc | ||
| 5 | Lock nut | Lock nut / Ezynut *1*2 | Lock nut / Ezynut *2 |
| 6 | Back up pad | ||
| 7 | Flex wheel | ||
| 8 | Rubber pad 76 | Rubber pad 100 | Rubber pad 115 |
| 9 | Abrasive disc | ||
| 10 | Sanding lock nut | ||
| 11 | Wire wheel brush | ||
| 12 | Wire cup brush | ||
| 13 | Wheel Guard (for cut-off wheel) *3 | ||
| 14 | Abrasive cut-off wheel / Diamond wheel | ||
| – | Lock nut wrench | ||
- NOTE: *1 Only for tools with M14 spindle thread.
- NOTE: *2 Do not use Super flange and Ezynut together.
- NOTE: *3 In some European countries, when using a diamond wheel, the ordinary guard can be used instead of the special guard covering the both side of the wheel. Follow the regulations in your country.
- NOTE:
Some items in the list may be included in the tool package as standard accessories. They may differ from country to country.
Makita Europe N.V.
Jan-Baptist Vinkstraat 2, 3070 Kortenberg, Belgium
Makita Corporation
3-11-8, Sumiyoshi-cho, Anjo, Aichi 446-8502 Japan
www.makita.com

To start the tool, slide the slide switch toward the “I






The tool and its air vents have to be kept clean. Regularly clean the tool’s air vents or whenever the vents start to become obstructed.
Remove the dust cover from inhalation vent and clean it for smooth air circulation.
















