makita GA027G Cordless Angle Grinder

SPECIFICATIONS
| Model: | GA027G | GA028G | GA029G | GA030G | GA031G | GA032G | |
| Wheel diameter | 100 mm (4″) | 115 mm (4-1/2″) | 125 mm (5″) | 100mm (4″) | 115 mm (4-1/2″) | 125 mm (5″) | |
| Max. wheel thickness | 6.4 mm | 7.2 mm | 6.4 mm | 7.2 mm | |||
| Spindle thread | M10 | M14 or 5/8″ (country-specific) | M10 | M14 or 5/8″ (country-specific) | |||
| Rated speed (n) | 8,500 min-1 | ||||||
| Overall length | with BL4025 | 413 mm | |||||
| with BL4040 | 425 mm | ||||||
| Net weight | 2.9 – 3.4 kg | 3.0 – 3.6 kg | 3.0 – 4.5 kg | 2.8 – 3.4 kg | 2.9 – 3.6 kg | 3.0 – 4.4 kg | |
| Rated voltage | D.C. 36 V – 40 V max | ||||||
- Due to our continuing program of research and development, the specifications herein are subject to change without notice.
- Specifications may differ from country to country.
- The weight may differ depending on the attachment(s), including the battery cartridge. The lightest and heaviest combination, according to EPTA-Procedure 01/2014, are shown in the table.
Applicable battery cartridge and charger
| Battery cartridge | BL4025 / BL4040 |
| Charger | DC40RA |
- Some of the battery cartridges and chargers listed above may not be available depending on your region of residence.
WARNING: Only use the battery cartridges and chargers listed above. Use of any other battery cartridges and chargers may cause injury and/or fire.
Intended use
The tool is intended for grinding and cutting of metal and stone materials without the use of water.
Noise
The typical A-weighted noise level determined according to EN60745-2-3
| Model | Sound pressure level (LpA) : (dB(A)) | Sound power level (LWA) : (dB(A)) | Uncertainty (K) : (dB(A)) |
| GA027G | 81 | 92 | 3 |
| GA028G | 81 | 92 | 3 |
| GA029G | 82 | 93 | 3 |
| GA030G | 81 | 92 | 3 |
| GA031G | 81 | 92 | 3 |
| GA032G | 82 | 93 | 3 |
NOTE
- The declared noise emission value(s) has been measured in accordance with a standard test method and may be used for comparing one tool with another.
- The declared noise emission value(s) may also be used in a preliminary assessment of exposure.
WARNING
- Wear ear protection.
- The noise emission during actual use of the power tool can differ from the declared value(s) depending on the ways in which the tool is used especially what kind of workpiece is processed.
- Be sure to identify safety measures to protect the operator that are based on an estimation of exposure in the actual conditions of use (taking account of all parts of the operating cycle such as the times when the tool is switched off and when it is running idle in addition to the trigger time).
Vibration
The vibration total value (tri-axial vector sum) determined according to EN60745-2-3
Work mode: surface grinding with normal side grip
| Model | Vibration emission (ah, AG) : (m/s2) | Uncertainty (K) : (m/s2) |
| GA027G | 4.5 | 1.5 |
| GA028G | 5.0 | 1.5 |
| GA029G | 6.0 | 1.5 |
| GA030G | 4.5 | 1.5 |
| GA031G | 5.0 | 1.5 |
| GA032G | 6.0 | 1.5 |
Work mode: surface grinding with anti-vibration side grip
| Model | Vibration emission (ah, AG) : (m/s2) | Uncertainty (K) : (m/s2) |
| GA027G | 4.5 | 1.5 |
| GA028G | 5.0 | 1.5 |
| GA029G | 6.5 | 1.5 |
| GA030G | 4.5 | 1.5 |
| GA031G | 5.0 | 1.5 |
| GA032G | 6.5 | 1.5 |
Work mode: disc sanding with normal side grip
| Model | Vibration emission (ah, AG) : (m/s2) | Uncertainty (K) : (m/s2) |
| GA027G | 2.5 m/s2 or less | 1.5 |
| GA028G | 2.5 | 1.5 |
| GA029G | 3.0 | 1.5 |
| GA030G | 2.5 m/s2 or less | 1.5 |
| GA031G | 2.5 | 1.5 |
| GA032G | 3.0 | 1.5 |
Work mode: disc sanding with anti-vibration side grip
| Model | Vibration emission (ah, AG) : (m/s2) | Uncertainty (K) : (m/s2) |
| GA027G | 2.5 m/s2 or less | 1.5 |
| GA028G | 2.5 | 1.5 |
| GA029G | 3.0 | 1.5 |
| GA030G | 2.5 m/s2 or less | 1.5 |
| GA031G | 2.5 | 1.5 |
| GA032G | 3.0 | 1.5 |
NOTE
- The declared vibration total value(s) has been measured in accordance with a standard test method and may be used for comparing one tool with another.
- The declared vibration total value(s) may also be used in a preliminary assessment of exposure.
WARNING
- The vibration emission during actual use of the power tool can differ from the declared value(s) depending on the ways in which the tool is used especially what kind of workpiece is processed.
- Be sure to identify safety measures to protect the operator that are based on an estimation of exposure in the actual conditions of use (taking account of all parts of the operating cycle such as the times when the tool is switched off and when it is running idle in addition to the trigger time).
- The declared vibration emission value is used for main applications of the power tool. However if the power tool is used for other applications, the vibration emission value may be different.
EC Declaration of Conformity
For European countries only
The EC declaration of conformity is included as Annex A to this instruction manual.
SAFETY WARNINGS
General power tool safety warnings
WARNING: Read all safety warnings, instructions, illustrations and specifications provided with this power tool. Failure to follow all instructions listed below may result in electric shock, fire and/or serious injury.
Save all warnings and instructions for future reference.
The term “power tool” in the warnings refers to your mains-operated (corded) power tool or battery-operated (cordless) power tool.
Cordless grinder safety warnings
Safety Warnings Common for Grinding, Wire Brushing, or Abrasive Cutting-Off Operations:
- This power tool is intended to function as a grinder, wire brush or cut-off tool. Read all safety warnings, instructions, illustrations and specifications provided with this power tool. Failure to follow all instructions listed below may result in electric shock, fire and/or serious injury.
- Operations such as sanding or polishing are not recommended to be performed with this power tool. Operations for which the power tool was not designed may create a hazard and cause personal injury.
- Do not use accessories which are not specifically designed and recommended by the tool manufacturer. Just because the accessory can be attached to your power tool, it does not assure safe operation.
- The rated speed of the accessory must be at least equal to the maximum speed marked on the power tool. Accessories running faster than their rated speed can break and fly apart.
- The outside diameter and the thickness of your accessory must be within the capacity rating of your power tool. Incorrectly sized accessories cannot be adequately guarded or controlled.
- Threaded mounting of accessories must match the grinder spindle thread. For accessories mounted by flanges, the arbour hole of the accessory must fit the locating diameter of the flange. Accessories that do not match the mounting hardware of the power tool will run out of balance, vibrate excessively and may cause loss of control.
- Do not use a damaged accessory. Before each use inspect the accessory such as abrasive wheels for chips and cracks, backing pad for cracks, tear or excess wear, wire brush for loose or cracked wires. If power tool or accessory is dropped, inspect for damage or install an undamaged accessory. After inspecting and installing an accessory, position yourself and bystanders away from the plane of the rotating accessory and run the power tool at maximum no-load speed for one minute. Damaged accessories will normally break apart during this test time.
- Wear personal protective equipment. Depending on application, use face shield, safety goggles or safety glasses. As appropriate, wear dust mask, hearing protectors, gloves and workshop apron capable of stopping small abrasive or workpiece fragments. The eye protection must be capable of stopping flying debris generated by various operations. The dust mask or respirator must be capable of filtrating particles generated by your operation. Prolonged exposure to high intensity noise may cause hearing loss.
- Keep bystanders a safe distance away from work area. Anyone entering the work area must wear personal protective equipment. Fragments of workpiece or of a broken accessory may fly away and cause injury beyond immediate area of operation.
- Hold the power tool by insulated gripping surfaces only, when performing an operation where the cutting tool may contact hidden wiring. Contact with a “live” wire will also make exposed metal parts of the power tool “live” and could give the operator an electric shock.
- Never lay the power tool down until the accessory has come to a complete stop. The spinning accessory may grab the surface and pull the power tool out of your control.
- Do not run the power tool while carrying it at your side. Accidental contact with the spinning accessory could snag your clothing, pulling the accessory into your body.
- Regularly clean the power tool’s air vents. The motor’s fan will draw the dust inside the housing and excessive accumulation of powdered metal may cause electrical hazards.
- Do not operate the power tool near flammable materials. Sparks could ignite these materials.
- Do not use accessories that require liquid coolants. Using water or other liquid coolants may result in electrocution or shock.
Kickback and Related Warnings
Kickback is a sudden reaction to a pinched or snagged rotating wheel, backing pad, brush or any other accessory. Pinching or snagging causes rapid stalling of the rotating accessory which in turn causes the uncontrolled power tool to be forced in the direction opposite of the accessory’s rotation at the point of the binding. For example, if an abrasive wheel is snagged or pinched by the workpiece, the edge of the wheel that is entering into the pinch point can dig into the surface of the material causing the wheel to climb out or kick out. The wheel may either jump toward or away from the operator, depending on direction of the wheel’s movement at the point of pinching. Abrasive wheels may also break under these conditions. Kickback is the result of power tool misuse and/or incorrect operating procedures or conditions and can be avoided by taking proper precautions as given below.
- Maintain a firm grip on the power tool and position your body and arm to allow you to resist kickback forces. Always use auxiliary handle, if provided, for maximum control over kickback or torque reaction during start-up. The operator can control torque reactions or kickback forces, if proper precautions are taken.
- Never place your hand near the rotating accessory. Accessory may kickback over your hand.
- Do not position your body in the area where power tool will move if kickback occurs. Kickback will propel the tool in direction opposite to the wheel’s movement at the point of snagging.
- Use special care when working corners, sharp edges etc. Avoid bouncing and snagging the accessory. Corners, sharp edges or bouncing have a tendency to snag the rotating accessory and cause loss of control or kickback.
- Do not attach a saw chain woodcarving blade or toothed saw blade. Such blades create frequent kickback and loss of control.
Safety Warnings Specific for Grinding and Abrasive Cutting-Off Operations:
- Use only wheel types that are recommended for your power tool and the specific guard designed for the selected wheel. Wheels for which the power tool was not designed cannot be adequately guarded and are unsafe.
- The grinding surface of centre depressed wheels must be mounted below the plane of the guard lip. An improperly mounted wheel that projects through the plane of the guard lip cannot be adequately protected.
- The guard must be securely attached to the power tool and positioned for maximum safety, so the least amount of wheel is exposed towards the operator. The guard helps to protect the operator from broken wheel fragments, accidental contact with wheel and sparks that could ignite clothing.
- Wheels must be used only for recommended applications. For example: do not grind with the side of cut-off wheel. Abrasive cut-off wheels are intended for peripheral grinding, side forces applied to these wheels may cause them to shatter.
- Always use undamaged wheel flanges that are of correct size and shape for your selected wheel. Proper wheel flanges support the wheel thus reducing the possibility of wheel breakage. Flanges for cut-off wheels may be different from grinding wheel flanges.
- Do not use worn down wheels from larger power tools. Wheel intended for larger power tool is not suitable for the higher speed of a smaller tool and may burst.
Additional Safety Warnings Specific for Abrasive Cutting-Off Operations:
- Do not “jam“ the cut-off wheel or apply excessive pressure. Do not attempt to make an excessive depth of cut. Overstressing the wheel increases the loading and susceptibility to twisting or binding of the wheel in the cut and the possibility of kickback or wheel breakage.
- Do not position your body in line with and behind the rotating wheel. When the wheel, at the point of operation, is moving away from your body, the possible kickback may propel the spinning wheel and the power tool directly at you.
- When wheel is binding or when interrupting a cut for any reason, switch off the power tool and hold the power tool motionless until the wheel comes to a complete stop. Never attempt to remove the cut-off wheel from the cut while the wheel is in motion otherwise kickback may occur. Investigate and take corrective action to eliminate the cause of wheel binding.
- Do not restart the cutting operation in the workpiece. Let the wheel reach full speed and carefully re-enter the cut. The wheel may bind, walk up or kickback if the power tool is restarted in the workpiece.
- Support panels or any oversized workpiece to minimize the risk of wheel pinching and kickback. Large workpieces tend to sag under their own weight. Supports must be placed under the workpiece near the line of cut and near the edge of the workpiece on both sides of the wheel.
- Use extra caution when making a “pocket cut” into existing walls or other blind areas. The protruding wheel may cut gas or water pipes, electrical wiring or objects that can cause kickback.
Safety Warnings Specific for Wire Brushing Operations:
- Be aware that wire bristles are thrown by the brush even during ordinary operation. Do not overstress the wires by applying excessive load to the brush. The wire bristles can easily penetrate light clothing and/or skin.
- If the use of a guard is recommended for wire brushing, do not allow any interference of the wire wheel or brush with the guard. Wire wheel or brush may expand in diameter due to work load and centrifugal forces.
Additional Safety Warnings:
- When using depressed centre grinding wheels, be sure to use only fiberglass-reinforced wheels.
- NEVER USE Stone Cup type wheels with this grinder. This grinder is not designed for these types of wheels and the use of such a product may result in serious personal injury.
- Be careful not to damage the X-LOCK holder. Damage to the parts could result in wheel breakage.
- Make sure the wheel is not contacting the workpiece before the switch is turned on.
- Before using the tool on an actual workpiece, let it run for a while. Watch for vibration or wobbling that could indicate poor installation or a poorly balanced wheel.
- Use the specified surface of the wheel to perform the grinding.
- Do not leave the tool running. Operate the tool only when hand-held.
- Do not touch the workpiece immediately after operation; it may be extremely hot and could burn your skin.
- Do not touch accessories immediately after operation; it may be extremely hot and could burn your skin.
- Observe the instructions of the manufacturer for correct mounting and use of wheels. Handle and store wheels with care.
- Do not use separate reducing bushings or adaptors to adapt large hole abrasive wheels.
- Check that the workpiece is properly supported.
- Pay attention that the wheel continues to rotate after the tool is switched off.
- If working place is extremely hot and humid, or badly polluted by conductive dust, use a short-circuit breaker (30 mA) to assure operator safety.
- Do not use the tool on any materials containing asbestos.
- When use cut-off wheel, always work with the dust collecting wheel guard required by domestic regulation.
- Cutting discs must not be subjected to any lateral pressure.
- Do not use cloth work gloves during operation. Fibers from cloth gloves may enter the tool, which causes tool breakage.
- Before operation, make sure that there is no buried object such as electric pipe, water pipe or gas pipe in the workpiece. Otherwise, it may cause an electric shock, electrical leakage or gas leak.
SAVE THESE INSTRUCTIONS
WARNING: DO NOT let comfort or familiarity with product (gained from repeated use) replace strict adherence to safety rules for the subject product. MISUSE or failure to follow the safety rules stated in this instruction manual may cause serious personal injury.
Important safety instructions for battery cartridge
- Before using battery cartridge, read all instructions and cautionary markings on (1) battery charger, (2) battery, and (3) product using battery.
- Do not disassemble or tamper with the battery cartridge. It may result in a fire, excessive heat, or explosion.
- If operating time has become excessively shorter, stop operating immediately. It may result in a risk of overheating, possible burns and even an explosion.
- If electrolyte gets into your eyes, rinse them out with clear water and seek medical attention right away. It may result in loss of your eyesight.
- Do not short the battery cartridge:
- Do not touch the terminals with any conductive material.
- Avoid storing battery cartridge in a container with other metal objects such as nails, coins, etc.
- Do not expose battery cartridge to water or rain.
- A battery short can cause a large current flow, overheating, possible burns and even a breakdown.
- Do not store and use the tool and battery cartridge in locations where the temperature may reach or exceed 50 °C (122 °F).
- Do not incinerate the battery cartridge even if it is severely damaged or is completely worn out. The battery cartridge can explode in a fire.
- Do not nail, cut, crush, throw, drop the battery cartridge, or hit against a hard object to the battery cartridge. Such conduct may result in a fire, excessive heat, or explosion.
- Do not use a damaged battery.
- The contained lithium-ion batteries are subject to the Dangerous Goods Legislation requirements. For commercial transports e.g. by third parties, forwarding agents, special requirement on packaging and labeling must be observed.
For preparation of the item being shipped, consulting an expert for hazardous material is required.
Please also observe possibly more detailed national regulations.
Tape or mask off open contacts and pack up the battery in such a manner that it cannot move around in the packaging. - When disposing the battery cartridge, remove it from the tool and dispose of it in a safe place. Follow your local regulations relating to disposal of battery.
- Use the batteries only with the products specified by Makita. Installing the batteries to non-compliant products may result in a fire, excessive heat, explosion, or leak of electrolyte.
- If the tool is not used for a long period of time, the battery must be removed from the tool.
- During and after use, the battery cartridge may take on heat which can cause burns or low temperature burns. Pay attention to the handling of hot battery cartridges.
- Do not touch the terminal of the tool immediately after use as it may get hot enough to cause burns.
- Do not allow chips, dust, or soil stuck into the terminals, holes, and grooves of the battery cartridge. It may result in poor performance or breakdown of the tool or battery cartridge.
- Unless the tool supports the use near high-voltage electrical power lines, do not use the battery cartridge near high-voltage electrical power lines. It may result in a malfunction or breakdown of the tool or battery cartridge.
- Keep the battery away from children.
SAVE THESE INSTRUCTIONS
CAUTION: Only use genuine Makita batteries.
Use of non-genuine Makita batteries, or batteries that have been altered, may result in the battery bursting causing fires, personal injury and damage. It will also void the Makita warranty for the Makita tool and charger.
Tips for maintaining maximum battery life
- Charge the battery cartridge before completely discharged. Always stop tool operation and charge the battery cartridge when you notice less tool power.
- Never recharge a fully charged battery cartridge. Overcharging shortens the battery service life.
- Charge the battery cartridge at room temperature at 10 °C – 40 °C (50 °F – 104 °F). Let a hot battery cartridge cool down before charging it.
- When not using the battery cartridge, remove it from the tool or the charger.
- Charge the battery cartridge if you do not use it for a long period (more than six months).
Important safety instructions for wireless unit
- Do not disassemble or tamper with the wireless unit.
- Keep the wireless unit away from young children. If accidentally swallowed, seek medical attention immediately.
- Use the wireless unit only with Makita tools.
- Do not expose the wireless unit to rain or wet conditions.
- Do not use the wireless unit in places where the temperature exceeds 50°C (122°F).
- Do not operate the wireless unit in places where medical instruments, such as heart pace makers are nearby.
- Do not operate the wireless unit in places where automated devices are nearby. If operated, automated devices may develop malfunction or error.
- Do not operate the wireless unit in places under high temperature or places where static electricity or electrical noise could be generated.
- The wireless unit can produce electromagnetic fields (EMF) but they are not harmful to the user.
- The wireless unit is an accurate instrument. Be careful not to drop or strike the wireless unit.
- Avoid touching the terminal of the wireless unit with bare hands or metallic materials.
- Always remove the battery on the product when installing the wireless unit into it.
- When opening the lid of the slot, avoid the place where dust and water may come into the slot. Always keep the inlet of the slot clean.
- Always insert the wireless unit in the correct direction.
- Do not press the wireless activation button on the wireless unit too hard and/or press the button with an object with a sharp edge.
- Always close the lid of the slot when operating.
- Do not remove the wireless unit from the slot while the power is being supplied to the tool. Doing so may cause a malfunction of the wireless unit.
- Do not remove the sticker on the wireless unit.
- Do not put any sticker on the wireless unit.
- Do not leave the wireless unit in a place where static electricity or electrical noise could be generated.
- Do not leave the wireless unit in a place subject to high heat, such as a car sitting in the sun.
- Do not leave the wireless unit in a dusty or powdery place or in a place corrosive gas could be generated.
- A sudden change of the temperature may bedew the wireless unit. Do not use the wireless unit until the dew is completely dried.
- When cleaning the wireless unit, gently wipe with a dry soft cloth. Do not use benzine, thinner, conductive grease or the like.
- When storing the wireless unit, keep it in the supplied case or a static-free container.
- Do not insert any devices other than Makita wireless unit into the slot on the tool.
- Do not use the tool with the lid of the slot damaged. Water, dust, and dirt come into the slot may cause malfunction.
- Do not pull and/or twist the lid of the slot more than necessary. Restore the lid if it comes off from the tool.
- Replace the lid of the slot if it is lost or damaged.
SAVE THESE INSTRUCTIONS
FUNCTIONAL DESCRIPTION
CAUTION: Always be sure that the tool is switched off and the battery cartridge is removed before adjusting or checking function on the tool.
Installing or removing battery cartridge
CAUTION
- Always switch off the tool before installing or removing of the battery cartridge.
- Hold the tool and the battery cartridge firmly when installing or removing battery cartridge.
- Failure to hold the tool and the battery cartridge firmly may cause them to slip off your hands and result in damage to the tool and battery cartridge and a personal injury.
- Fig.1

- Red indicator
- Button
- Battery cartridge
To remove the battery cartridge, slide it from the tool while sliding the button on the front of the cartridge. To install the battery cartridge, align the tongue on the battery cartridge with the groove in the housing and slip it into place. Insert it all the way until it locks in place with a little click. If you can see the red indicator as shown in the figure, it is not locked completely.
CAUTION
- Always install the battery cartridge fully until the red indicator cannot be seen. If not, it may accidentally fall out of the tool, causing injury to you or someone around you.
- Do not install the battery cartridge forcibly. If the cartridge does not slide in easily, it is not being inserted correctly.
Indicating the remaining battery capacity
Only for battery cartridges with the indicator
- Fig.2

- Indicator lamps
- Check button
- Press the check button on the battery cartridge to indicate the remaining battery capacity. The indicator lamps light up for a few seconds.

NOTE: Depending on the conditions of use and the ambient temperature, the indication may differ slightly from the actual capacity.
Tool/battery protection system
The tool is equipped with a tool/battery protection system. This system automatically cuts off power to the motor to extend tool and battery life. The tool will automatically stop during operation if the tool or battery is placed under one of the following conditions:
Overload protection
When the tool/battery is operated in a manner that causes it to draw an abnormally high current, the tool automatically stops without any indication. In this situation, turn the tool off and stop the application that caused the tool to become overloaded. Then turn the tool on to restart.
Overheat protection
When the tool/battery is overheated, the tool stops automatically. Let the tool cool down before turning the tool on again.
Over-discharge protection
When the battery capacity is not enough, the tool stops automatically. In this case, remove the battery from the tool and charge the battery.
Releasing protection lock
When the protection system works repeatedly, the tool is locked. In this situation, the tool does not start even if turning the tool off and on. To release the protection lock, remove the battery, set it to the battery charger and wait until the charging finishes.
Shaft lock
- Press the shaft lock to prevent spindle rotation when installing or removing accessories.
- Fig.3

- Shaft lock
NOTICE: Never actuate the shaft lock when the spindle is moving. The tool may be damaged.
Switch action
CAUTION
- Before installing the battery cartridge into the tool, always check to see that the switch lever actuates properly and returns to the “OFF” position when released.
- For your safety, this tool is equipped with lock-off lever which prevents the tool from unintended starting. NEVER use the tool if it runs when you simply pull the switch lever without pulling the lock-off lever. Return the tool to our authorized service center for proper repairs BEFORE further usage.
- Do not pull the switch lever hard without pulling the lock-off lever. This can cause switch breakage.
- NEVER tape down or defeat purpose and function of lock-off lever.
- Fig.4

- Lock-off lever
- Switch lever
To prevent the switch lever from being accidentally pulled, a lock-off lever is provided. To start the tool, pull the lock-off lever toward the operator and then pull the switch lever. To stop the tool, release the switch lever.
Speed adjusting dial
The rotation speed of the tool can be changed by turning the speed-adjusting dial. The table below shows the number on the dial and the corresponding rotation speed.
- Fig.5

- Speed adjusting dial
| Number | Speed |
| 1 | 3,000 min-1 |
| 2 | 4,500 min-1 |
| 3 | 6,000 min-1 |
| 4 | 7,500 min-1 |
| 5 | 8,500 min-1 |
NOTICE
- If the tool is operated continuously at low speed for a long time, the motor will get overloaded, resulting in tool malfunction.
- When changing the speed dial from “5” to “1”, turn the dial counterclockwise. Do not turn the dial clockwise forcibly.
Accidental re-start preventive function
When installing the battery cartridge while pulling the switch lever, the tool does not start. To start the tool, first release the switch lever. Then pull the lock-off lever, and pull the switch lever.
Electronic torque control function
- The tool electronically detects situations where the wheel or accessory may be at risk to be bound. In the situation, the tool is automatically shut off to prevent further rotation of the spindle (it does not prevent kickback).
- To restart the tool, switch off the tool first, remove the cause of sudden drop in the rotation speed, and then turn the tool on.
Soft start feature
- The soft start feature reduces starting the reaction.
Electric brake
Only for model GA027G / GA028G / GA029G Electric brake is activated after the tool is switched off. The brake does not work when the power supply is shut down, such as the battery is removed accidentally, with the switch still on.
ASSEMBLY
CAUTION: Always be sure that the tool is switched off and the battery cartridge is removed before adjusting or checking function on the tool.
Installing side grip (handle)
CAUTION: Always be sure that the side grip is installed securely before operation.
Screw the side grip securely on the position of the tool as shown in the figure.
Fig.6
Installing or removing wheel guard
WARNING
- When using a depressed center wheel or wire wheel brush, the wheel guard must be fitted on the tool so that the closed side of the guard always points toward the operator.
- Make sure that the wheel guard is securely locked by the lock lever with one of the holes on the wheel guard.
- When using an abrasive cut-off/diamond wheel, be sure to use only the special wheel guard designed for use with cut-off wheels. (In some European countries, when using a diamond wheel, the ordinary guard can be used. Follow the regulations in your country.)
For depressed center wheel, wire wheel brush / abrasive cut-off wheel, diamond wheel
- While pushing the lock lever, mount the wheel guard with the protrusions on the wheel guard aligned with the notches on the bearing box.
- Fig.7

- Lock lever
- Notch
- Protrusion
- Fig.7
- While pushing the lock lever toward A, push in the wheel guard by holding down the portions B as shown in the figure.
- Fig.8

- Wheel guard
- Hole
- NOTE: Push down the wheel guard straight. Otherwise, you cannot push the wheel guard completely.
- Fig.8
- While keeping the lock lever and wheel guard position as described in step 2, rotate the wheel guard toward C, and then, change the angle of the wheel guard according to the work.
- Fig.9

- Wheel guard
- Hole
- NOTE: Push the wheel guard completely. Otherwise, you cannot rotate the wheel guard.
- Fig.9
To remove wheel guard, follow the installation procedure in reverse.
Installing or removing depressed center wheel or flap disc
Optional accessory
WARNING
- When using a depressed center wheel, the wheel guard must be fitted on the tool so that the closed side of the guard always points toward the operator.
CAUTION: Make sure that the mounting part of the inner flange fits into the inner diameter of the depressed center wheel/flap disc perfectly. Mounting the inner flange on the wrong side may result in a dangerous vibration.
Mount the inner flange onto the spindle. Make sure to fit the dented part of the inner flange onto the straight part at the bottom of the spindle. Fit the depressed center wheel/flap disc on the inner flange and screw the lock nut onto the spindle.

- Lock nut
- Depressed center wheel
- Inner flange
- Mounting part
To tighten the lock nut, press the shaft lock firmly so that the spindle cannot revolve, then use the lock nut wrench and securely tighten clockwise.
► Fig.11:

- Lock nut wrench
- Shaft lock
To remove the wheel, follow the installation procedure in reverse.

- Depressed center wheel
- Wheel guard
Installing or removing flex wheel
Optional accessory
WARNING: Always use supplied guard when flex wheel is on tool. Wheel can shatter during use and guard helps to reduce chances of personal injury.

- Lock nut
- Flex wheel
- Back up pad
- Inner flange
Follow instructions for depressed center wheel but also use back up pad over wheel. See order of assembly on accessories page in this manual.
Installing or removing abrasive disc
Optional accessory
NOTE: Use sander accessories specified in this manual. These must be purchased separately.
For 100 mm (4″) model
► Fig.13:
- Sanding lock nut
- Abrasive disc
- Rubber pad
- Inner flange

- Mount the inner flange onto the spindle.
- Mount the rubber pad onto the spindle.
- Fit the disc on the rubber pad and screw the sanding lock nut onto the spindle.
- Hold the spindle with the shaft lock, and securely tighten the sanding lock nut clockwise with the lock nut wrench.
For 115 mm (4 – 1/2″) / 125 mm (5″) model
► Fig.14:
- Sanding lock nut
- Abrasive disc
- Rubber pad

- Mount the rubber pad onto the spindle.
- Fit the disc on the rubber pad and screw the sanding lock nut onto the spindle.
- Hold the spindle with the shaft lock, and securely tighten the sanding lock nut clockwise with the lock nut wrench.
Installing or removing Ezynut
Optional accessory
CAUTION: Do not use Ezynut with Super Flange or angle grinder with “F” on the end of the model No. Those flanges are so thick that the entire thread cannot be retained by the spindle.
► Fig.15:

- Ezynut
- Abrasive wheel
- Inner flange
- Spindle
Mount inner flange, abrasive wheel, and Ezynut onto the spindle so that Makita Logo on Ezynut faces outside.
► Fig.16:

- Shaft lock
Press shaft lock firmly and tighten Ezynut by turning the abrasive wheel clockwise as far as it turns. Turn the outside ring of Ezynut counterclockwise to loosen.
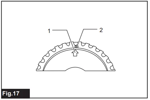
► Fig.17:

- Arrow
- Notch
► Fig.18

NOTE: Ezynut can be loosened by hand as long as the arrow points the notch. Otherwise a lock nut wrench is required to loosen it. Insert one pin of the wrench into a hole and turn Ezynut counterclockwise.
Installing abrasive cut-off / diamond wheel
Optional accessory
WARNING: When using an abrasive cut-off / diamond wheel, be sure to use only the special wheel guard designed for use with cut-off wheels. (In some European countries, when using a diamond wheel, the ordinary guard can be used. Follow the regulations in your country.)
WARNING: NEVER use cut-off wheel for side grinding.

- Lock nut
- Abrasive cut-off wheel/diamond wheel
- Inner flange
- Wheel guard for abrasive cut-off wheel/diamond wheel
As for the installation, follow the instructions for depressed center wheel. The direction for mounting the lock nut and the inner flange varies by wheel type and thickness. Refer to the following figures.
For 100 mm (4″) model
When installing the abrasive cut-off wheel
► Fig.20:

- Lock nut
- Abrasive cut-off wheel (Thinner than 4 mm (5/32″)) 3
- Abrasive cutoff wheel (4 mm (5/32″) or thicker)
- Inner flange
When installing the diamond wheel
► Fig.21:

- Lock nut
- Diamond wheel (Thinner than 4 mm (5/32″)
- Diamond wheel (4 mm (5/32″) or thicker)
- Inner flange
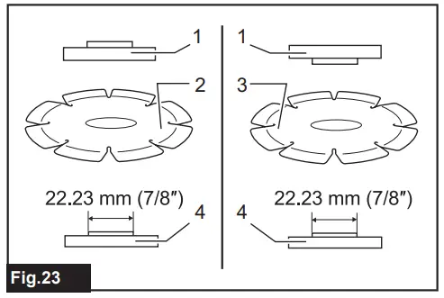
For 115 mm (4 – 1/2″) / 125 mm (5″) model
When installing the abrasive cut-off wheel
► Fig.22:

- Lock nut
- Abrasive cut-off wheel (Thinner than 4 mm (5/32″))
- Abrasive cutoff wheel (4 mm (5/32″) or thicker)
- Inner flange
When installing the diamond wheel
► Fig.23:

- Lock nut
- Diamond wheel (Thinner than 4 mm (5/32″))
- Diamond wheel (4 mm (5/32″) or thicker)
- Inner flange
Installing wire cup brush
Optional accessory
CAUTION: Do not use brush that is damaged, or which is out of balance. Use of damaged brush could increase potential for injury from contact with broken brush wires.
Fig.24:

- Wire cup brush
Installing wire wheel brush
Optional accessory
CAUTION
- Do not use wire wheel brush that is damaged, or which is out of balance. Use of damaged wire wheel brush could increase potential for injury from contact with broken wires.
- ALWAYS use guard with wire wheel brushes, assuring diameter of wheel fits inside guard. Wheel can shatter during use and guard helps to reduce chances of personal injury.

- Wire wheel brush
Remove the battery cartridge from the tool and place it upside down allowing easy access to spindle. Remove any accessories on spindle. Thread wire cup brush onto spindle and tighten with the supplied wrench.
Connecting a vacuum cleaner
Optional accessory
WARNING: Never vacuum metal particles created by grinding/cutting/sanding operation. Metal particles created by such operation are so hot that they ignite dust and the filter inside the vacuum cleaner.
To avoid dusty environment caused by masonry cutting, use a dust collecting wheel guard and a vacuum cleaner. Refer to the instruction manual attached to the dust collecting wheel guard for assembling and using it.
► Fig.26:

- Dust-collecting wheel guard
- Hose of the vacuum cleaner
OPERATION
WARNING
- It should never be necessary to force the tool. The weight of the tool applies adequate pressure. Forcing and excessive pressure could cause dangerous wheel breakage.
- ALWAYS replace wheel if tool is dropped while grinding.
- NEVER hit the workpiece with the wheel.
- Avoid bouncing and snagging the wheel, especially when working corners, sharp edges etc. This can cause loss of control and kickback.
- NEVER use tool with wood cutting blades and other saw blades. Such blades when used on a grinder frequently kick and cause loss of control leading to personal injury.
CAUTION
- Never switch on the tool when it is in contact with the workpiece, it may cause an injury to operator.
- Always wear safety goggles or a face shield during operation.
- After operation, always switch off the tool and wait until the wheel has come to a complete stop before putting the tool down.
- ALWAYS hold the tool firmly with one hand on housing and the other on the side grip (handle).
Grinding and sanding operation
► Fig.27

Turn the tool on and then apply the wheel or disc to the workpiece. In general, keep the edge of the wheel or disc at an angle of about 15° to the workpiece surface. During the break-in period with a new wheel, do not work the grinder in forward direction or it may cut into the workpiece. Once the edge of the wheel has been rounded off by use, the wheel may be worked in both forward and backward direction.
Operation with abrasive cut-off/diamond wheel
Optional accessory
WARNING
- Do not “jam” the wheel or apply excessive pressure. Do not attempt to make an excessive depth of cut. Overstressing the wheel increases the loading and susceptibility to twisting or binding of the wheel in the cut and the possibility of kickback, wheel breakage and overheating of the motor may occur.
- Do not start the cutting operation in the workpiece. Let the wheel reach full speed and carefully enter into the cut moving the tool forward over the workpiece surface. The wheel may bind, walk up or kickback if the power tool is started in the workpiece.
- During cutting operations, never change the angle of the wheel. Placing side pressure on the cut-off wheel (as in grinding) will cause the wheel to crack and break, causing serious personal injury.
- A diamond wheel shall be operated perpendicular to the material being cut.
Usage example: operation with abrasive cut-off wheel
Usage example: operation with diamond wheel
Operation with wire cup brush
Optional accessory
CAUTION: Check operation of brush by running tool with no load, insuring that no one is in front of or in line with brush.
NOTICE: Avoid applying too much pressure which causes over bending of wires when using the wire cup brush. It may lead to premature breakage.
Usage example: operation with wire cup brush
Operation with wire wheel brush
Optional accessory
CAUTION: Check operation of wire wheel brush by running tool with no load, insuring that no one is in front of or in line with the wire wheel brush.
NOTICE: Avoid applying too much pressure which causes over bending of wires when using wire wheel brush. It may lead to premature breakage.
Usage example: operation with wire wheel brush

WIRELESS ACTIVATION FUNCTION
What you can do with the wireless activation function
The wireless activation function enables clean and comfortable operation. By connecting a supported vacuum cleaner to the tool, you can run the vacuum cleaner automatically along with the switch operation of the tool.

To use the wireless activation function, prepare following items:
- A wireless unit (optional accessory)
- A vacuum cleaner which supports the wireless activation function
The overview of the wireless activation function setting is as follows. Refer to each section for detail procedures.
- Installing the wireless unit
- Tool registration for the vacuum cleaner
- Starting the wireless activation function
Installing the wireless unit
Optional accessory
CAUTION: Place the tool on a flat and stable surface when installing the wireless unit.
NOTICE
- Clean the dust and dirt on the tool before installing the wireless unit. Dust or dirt may cause malfunction if it comes into the slot of the wireless unit.
- To prevent the malfunction caused by static, touch a static discharging material, such as a metal part of the tool, before picking up the wireless unit.
- When installing the wireless unit, always be sure that the wireless unit is inserted in the correct direction and the lid is completely closed.
Open the lid on the tool as shown in the figure.

- Lid
Insert the wireless unit to the slot and then close the lid.
When inserting the wireless unit, align the projections with the recessed portions on the slot.

- Wireless unit
- Projection
- Lid
- Recessed portion
When removing the wireless unit, open the lid slowly. The hooks on the back of the lid will lift the wireless unit as you pull up the lid.

- Wireless unit
- Hook
- Lid
After removing the wireless unit, keep it in the supplied case or a static-free container.
NOTICE: Always use the hooks on the back of the lid when removing the wireless unit. If the hooks do not catch the wireless unit, close the lid completely and open it slowly again.
Tool registration for the vacuum cleaner
NOTE
- A Makita vacuum cleaner supporting the wireless activation function is required for the tool registration.
- Finish installing the wireless unit to the tool before starting the tool registration.
- During the tool registration, do not pull the switch trigger or turn on the power switch on the vacuum cleaner.
- Refer to the instruction manual of the vacuum cleaner, too.
If you wish to activate the vacuum cleaner along with the switch operation of the tool, finish the tool registration beforehand.
- Install the batteries to the vacuum cleaner and the tool.
- Set the standby switch on the vacuum cleaner to “AUTO”

- Stand-by switch
- Press the wireless activation button on the vacuum cleaner for 3 seconds until the wireless activation lamp blinks in green. And then press the wireless activation button on the tool in the same way.

- Wireless activation button
- Wireless activation lamp
If the vacuum cleaner and the tool are linked successfully, the wireless activation lamps will light up in green for 2 seconds and start blinking in blue.
NOTE
- The wireless activation lamps finish blinking in green after 20 seconds elapsed. Press the wireless activation button on the tool while the wireless activation lamp on the cleaner is blinking. If the wireless activation lamp does not blink in green, push the wireless activation button briefly and hold it down again.
- When performing two or more tool registrations for one vacuum cleaner, finish the tool registration one by one.
Starting the wireless activation function
NOTE
- Finish the tool registration for the vacuum cleaner prior to the wireless activation.
- Refer to the instruction manual of the vacuum cleaner, too.
After registering a tool to the vacuum cleaner, the vacuum cleaner will automatically runs along with the switch operation of the tool.
- Install the wireless unit to the tool.
- Connect the hose of the vacuum cleaner with the tool.

- Fig.38
- Set the stand-by switch on the vacuum cleaner to “AUTO”.

- Stand-by switch
- Push the wireless activation button on the tool briefly. The wireless activation lamp will blink in blue.

- Wireless activation button
- Wireless activation lamp
- Pull the switch trigger of the tool. Check if the vacuum cleaner runs while the switch trigger is being pulled.
To stop the wireless activation of the vacuum cleaner, push the wireless activation button on the tool.
NOTE
- The wireless activation lamp on the tool will stop blinking in blue when there is no operation for 2 hours. In this case, set the stand-by switch on the vacuum cleaner to “AUTO” and push the wireless activation button on the tool again.
- The vacuum cleaner starts/stops with a delay. There is a time lag when the vacuum cleaner detects a switch operation of the tool.
- The transmission distance of the wireless unit may vary depending on the location and surrounding circumstances.
- When two or more tools are registered to one vacuum cleaner, the vacuum cleaner may start running even if you do not pull the switch trigger because another user is using the wireless activation function.
Description of the wireless activation lamp status

- Wireless activation lamp
The wireless activation lamp shows the status of the wireless activation function. Refer to the table below for the meaning of the lamp status.

Canceling tool registration for the vacuum cleaner
Perform the following procedure when canceling the tool registration for the vacuum cleaner.
- Install the batteries to the vacuum cleaner and the tool.
- Set the stand-by switch on the vacuum cleaner to “AUTO”.

- Stand-by switch
- Press the wireless activation button on the vacuum cleaner for 6 seconds. The wireless activation lamp blinks in green and then become red. After that, press the wireless activation button on the tool in the same way.

- Wireless activation button
- Wireless activation lamp
If the cancellation is performed successfully, the wireless activation lamps will light up in red for 2 seconds and start blinking in blue.
NOTE: The wireless activation lamps finish blinking in red after 20 seconds elapsed. Press the wireless activation button on the tool while the wireless activation lamp on the cleaner is blinking. If the wireless activation lamp does not blink in red, push the wireless activation button briefly and hold it down again.
Troubleshooting for the wireless activation function
Before asking for repairs, conduct your own inspection first. If you find a problem that is not explained in the manual, do not attempt to dismantle the tool. Instead, ask Makita Authorized Service Centers, always using Makita replacement parts for repairs.
| State of abnormality | Probable cause (malfunction) | Remedy |
| The wireless activation lamp does not light/blink. | The wireless unit is not installed into the tool. The wireless unit is improperly installed into the tool. | Install the wireless unit correctly. |
| The terminal of the wireless unit and/or the slot is dirty. | Gently wipe off dust and dirt on the terminal of the wireless unit and clean the slot. | |
| The wireless activation button on the tool has not been pushed. | Push the wireless activation button on the tool briefly. | |
| The stand-by switch on the vacuum cleaner is not set to “AUTO”. | Set the stand-by switch on the vacuum cleaner to “AUTO”. | |
| No power supply | Supply the power to the tool and the vacuum cleaner. | |
| Cannot finish tool registration / can- celling tool registration successfully. | The wireless unit is not installed into the tool. The wireless unit is improperly installed into the tool. | Install the wireless unit correctly. |
| The terminal of the wireless unit and/or the slot is dirty. | Gently wipe off dust and dirt on the terminal of the wireless unit and clean the slot. | |
| The stand-by switch on the vacuum cleaner is not set to “AUTO”. | Set the stand-by switch on the vacuum cleaner to “AUTO”. | |
| No power supply | Supply the power to the tool and the vacuum cleaner. | |
| Incorrect operation | Push the wireless activation button briefly and perform the tool registration/cancellation procedures again. | |
| The tool and vacuum cleaner are away from each other (out of the transmission range). | Get the tool and vacuum cleaner closer to each other. The maximum transmission distance is approximately 10 m however it may vary according to the circumstances. | |
| Before finishing the tool registration/cancellation; – the switch trigger on the tool is pulled or; – the power button on the vacuum cleaner is turned on. | Push the wireless activation button briefly and perform the tool registration/cancellation procedures again. | |
| The tool registration procedures for the tool or vacuum cleaner have not finished. | Perform the tool registration procedures for both the tool and the vacuum cleaner at the same timing. | |
| Radio disturbance by other appliances which generate high-intensity radio waves. | Keep the tool and vacuum cleaner away from the appliances such as Wi-Fi devices and microwave ovens. | |
| The vacuum cleaner does not run along with the switch operation of the tool. | The wireless unit is not installed into the tool. The wireless unit is improperly installed into the tool. | Install the wireless unit correctly. |
| The terminal of the wireless unit and/or the slot is dirty. | Gently wipe off dust and dirt on the terminal of the wireless unit and clean the slot. | |
| The wireless activation button on the tool has not been pushed. | Push the wireless activation button briefly and make sure that the wireless activation lamp is blinking in blue. | |
| The stand-by switch on the vacuum cleaner is not set to “AUTO”. | Set the stand-by switch on the vacuum cleaner to “AUTO”. | |
| More than 10 tools are registered to the vacuum cleaner. | Perform the tool registration again. If more than 10 tools are registered to the vacuum cleaner, the tool registered earliest will be cancelled automatically. | |
| The vacuum cleaner erased all tool registrations. | Perform the tool registration again. | |
| No power supply | Supply the power to the tool and the vacuum cleaner. | |
| The tool and vacuum cleaner are away from each other (out of the transmission range). | Get the tool and vacuum cleaner closer each other. The maximum transmission distance is approximately 10 m however it may vary according to the circumstances. | |
| Radio disturbance by other appliances which generate high-intensity radio waves. | Keep the tool and vacuum cleaner away from the appliances such as Wi-Fi devices and microwave ovens. | |
| The vacuum cleaner runs while the tool’s switch trigger is not pulled. | Other users are using the wireless activation of the vacuum cleaner with their tools. | Turn off the wireless activation button of the other tools or cancel the tool registration of the other tools. |
MAINTENANCE
CAUTION: Always be sure that the tool is switched off and the battery cartridge is removed before attempting to perform inspection or maintenance.
NOTICE: Never use gasoline, benzine, thinner, alcohol or the like. Discoloration, deformation or cracks may result.
To maintain product SAFETY and RELIABILITY, repairs, any other maintenance or adjustment should be performed by Makita Authorized Service Centers, always using Makita replacement parts.
Air vent cleaning
The tool and its air vents have to be kept clean. Regularly clean the tool’s air vents or whenever the vents start to become obstructed.

- Exhaust vent
- Inhalation vent
Remove the dust cover from inhalation vent and clean it for smooth air circulation.

- Dust cover
NOTICE: Clean out the dust cover when it is clogged with dust or foreign matters. Continuing operation with a clogged dust cover may damage the tool.
OPTIONAL ACCESSORIES
CAUTION: These accessories or attachments are recommended for use with your Makita tool specified in this manual. The use of any other accessories or attachments might present a risk of injury to persons. Only use accessory or attachment for its stated purpose.
If you need any assistance with more details regarding these accessories, ask your local Makita Service Center.
- Makita genuine battery and charger

- Fig.46
| – | 100 mm (4″) model | 115 mm (4-1/2″) model | 125 mm (5″) model |
| 1 | Grip 36 | ||
| 2 | Wheel Guard (for grinding wheel) | ||
| 3 | Inner flange | ||
| 4 | Depressed center wheel / Flap disc | ||
| 5 | Lock nut | ||
| 6 | Back up pad | ||
| 7 | Flex wheel | ||
| 8 | Inner flange and rubber pad 76 | Rubber pad 100 | Rubber pad 115 |
| 9 | Abrasive disc | ||
| 10 | Sanding lock nut | ||
| 11 | Wire wheel brush | ||
| 12 | Wire cup brush | ||
| 13 | Wheel Guard (for cut-off wheel) *1 | ||
| 14 | Abrasive cut-off wheel / Diamond wheel | ||
| 15 | Dust-collecting wheel guard | ||
| – | Lock nut wrench | ||
NOTE
- In some European countries, when using a diamond wheel, the ordinary guard can be used instead of the special guard covering both side of the wheel. Follow the regulations in your country.
- Some items in the list may be included in the tool package as standard accessories. They may differ from country to country.
Makita Europe N.V.
- Jan-Baptist Vinkstraat 2, 3070 Kortenberg, Belgium
Makita Corporation
- 3-11-8, Sumiyoshi-cho, Anjo, Aichi 446-8502 Japan

Fig.6


Usage example: operation with diamond wheel
























